Запчасти Volvo EC50 7473 Гидроцилиндр стрелы EC50VV TYPE 247

Схема запчастей Volvo EC50 - 7473 Гидроцилиндр стрелы EC50VV TYPE 247
FIT
1:1
100%

Артикул

Название

Примечание

Количество

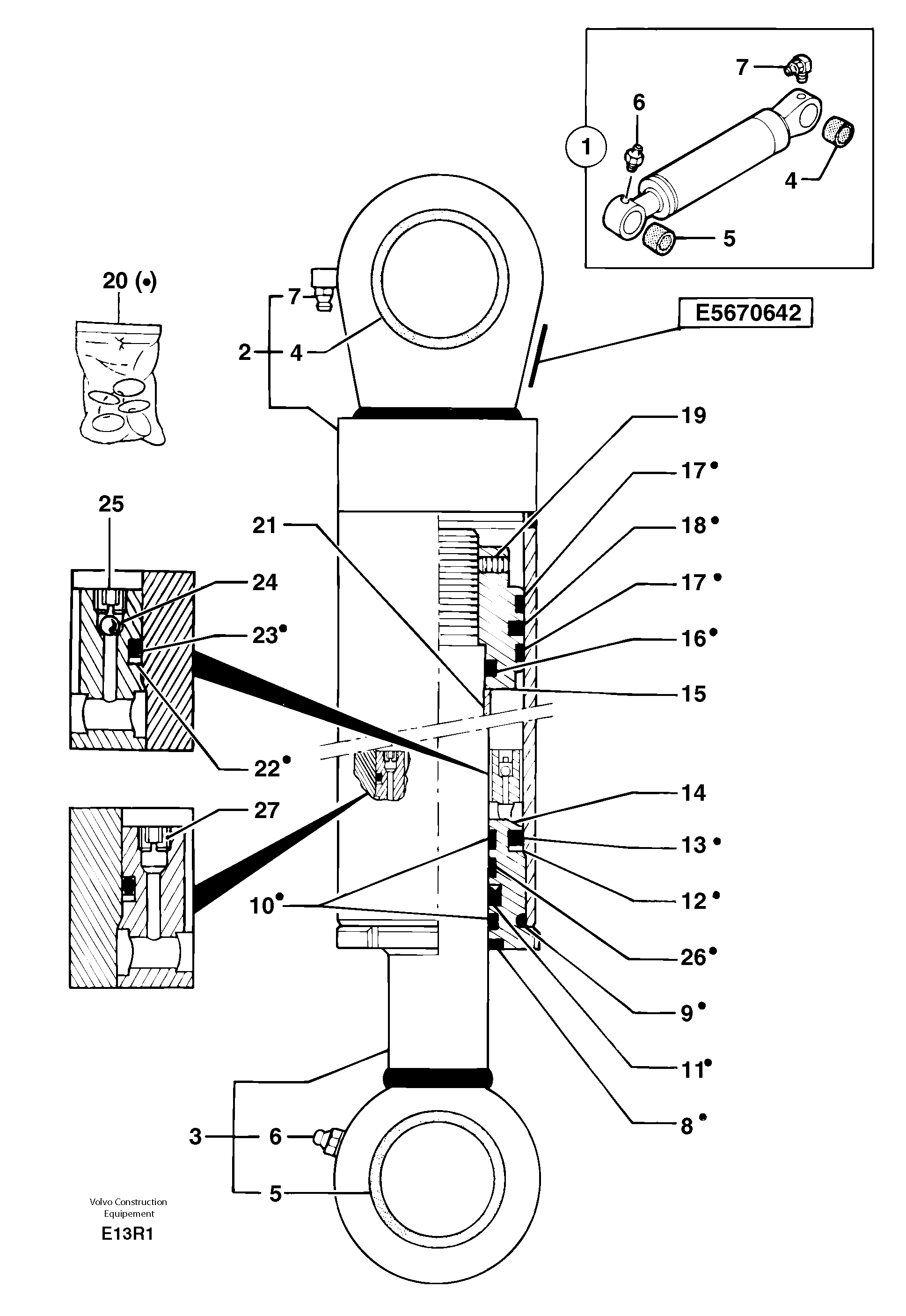
1

PJ 5670642

Гидроцилиндр стрелы

1шт.

14

PJ 7414564

Сальник

INCL IN 1

1шт.

15

PJ 7412475

Поршень

INCL IN 1

1шт.

19

PJ 7414569

Screw with pin

INCL IN 1

1шт.

20

PJ 7414567

Sealing kit

1шт.

21

PJ 7412472

Вставка

INCL IN 1

1шт.

24

PJ 7411209

Ball

INCL IN 1

1шт.

25

PJ 7411211

Пробка (заглушка)

INCL IN 1

1шт.

27

PJ 7410445

Screw with pin

INCL IN 1

1шт.

3

PJ 7414623

Шток поршня

1шт.

4

PJ 3870250

Втулка

INCL IN 2

1шт.

5

PJ 3870250

Втулка

INCL IN 3

1шт.

6

VOE 983718

Lubricating nipple

INCL IN 3

1шт.

6

VOE 983718

Lubricating nipple

INCL IN 3

1шт.

7

VOE 983719

Lubricating nipple

INCL IN 2

1шт.

Выбрано товаров: 15