Запчасти Volvo EC50 51983 Electrical equipment / without Puma EC50 TYPE 247

Схема запчастей Volvo EC50 - 51983 Electrical equipment / without Puma EC50 TYPE 247
FIT
1:1
100%

Артикул

Название

Примечание

Количество

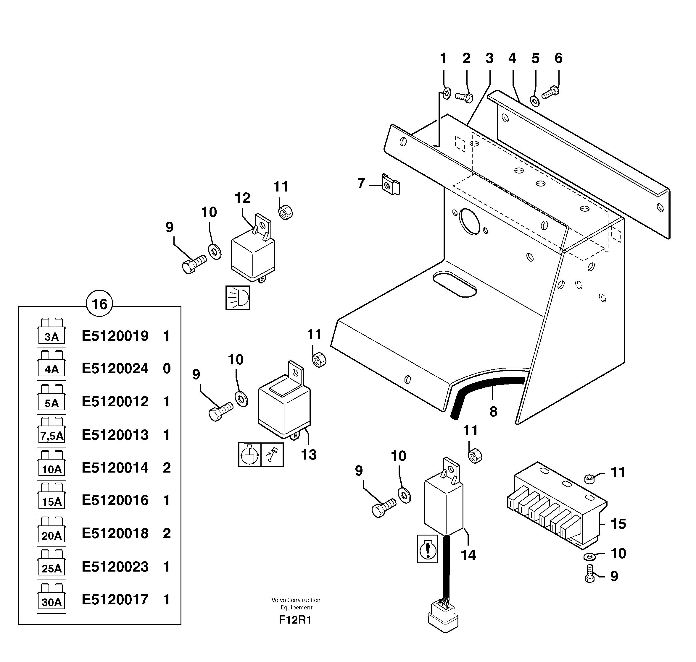
1

VOE 955892

Шайба

MU6

1шт.

1

VOE 955892

Шайба

MU6

1шт.

10

VOE 940090

Шайба

MU5

1шт.

10

VOE 940090

Шайба

MU5

1шт.

11

PJ 4410010

Гайка

HM5

1шт.

12

PJ 5110012

Реле

1шт.

13

PJ 5110026

Реле

1шт.

14

PJ 5110030

Instrument Box

1шт.

15

PJ 5080088

Fuse box

1шт.

16

PJ 7416675

Fuse kit

1шт.

2

PJ 4380024

Болт

HM6X10

1шт.

3

PJ 5020067

Box

1шт.

4

PJ 3560540

Apron

1шт.

5

VOE 955892

Шайба

MU6

1шт.

5

VOE 955892

Шайба

MU6

1шт.

6

PJ 4300023

Болт

1шт.

7

VOE 11802462

Cage nut

M6

1шт.

8

PJ 5600019

Сальник

L = 120mm / 4,7244in

1шт.

9

PJ 4380021

Болт

HM5X16

1шт.

Выбрано товаров: 19