Запчасти Volvo EC55 101572 Ковш EC55 SER NO 3001 -

Схема запчастей Volvo EC55 - 101572 Ковш EC55 SER NO 3001 -
FIT
1:1
100%

Артикул

Название

Примечание

Количество

SA 1171-30530

Ковш

1шт.

SA 1171-30380

Ковш

OPEN HOOK

1шт.

SA 1171-30480

Ковш

CLOSE HOOK

1шт.

SA 1171-30490

Ковш

WITHOUT HOOK

1шт.

SA 1171-30540

Ковш

1шт.

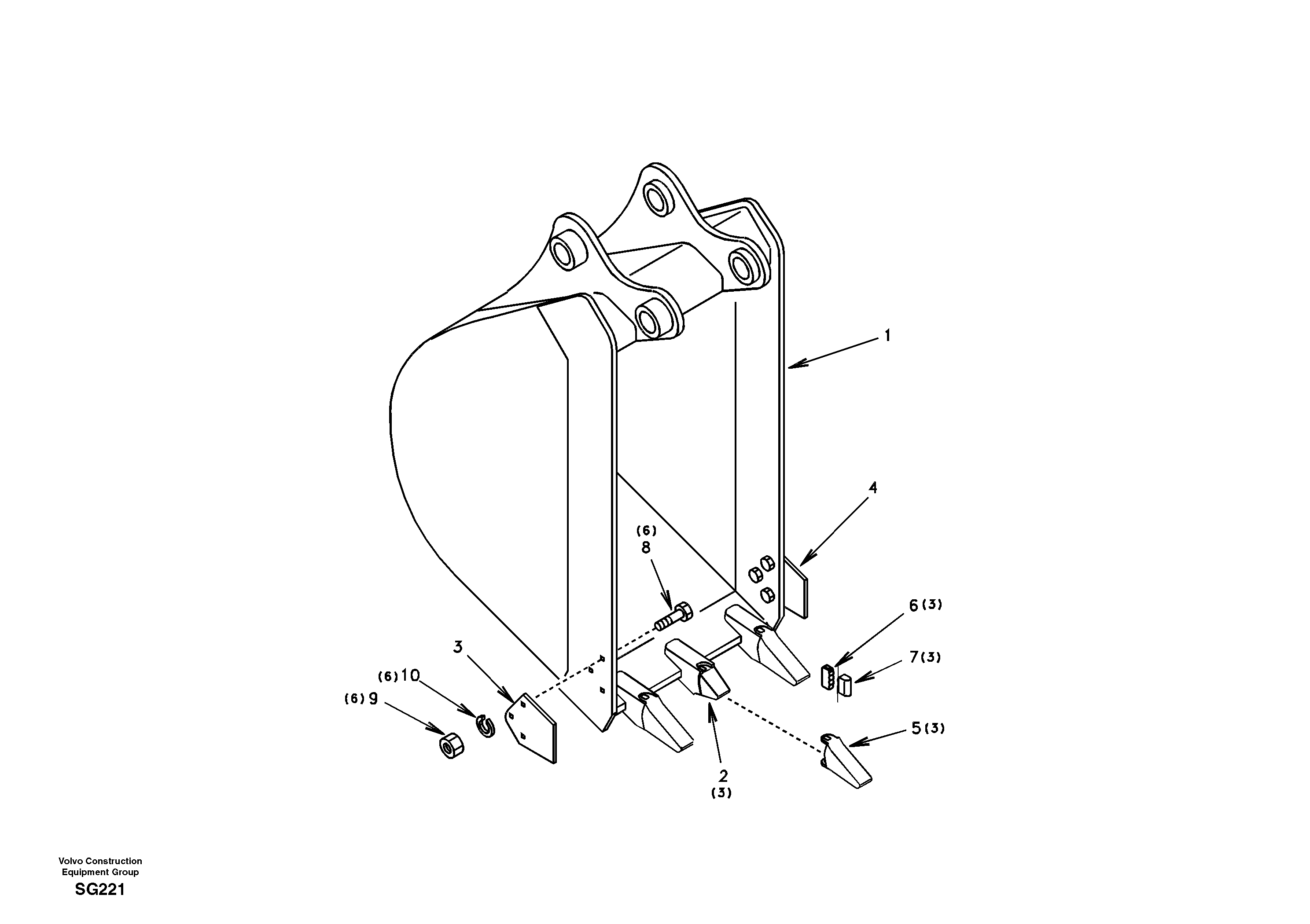
1

SA 1171-30351

Ковш

1шт.

10

SA 9213-12000

Шайба пружинная

1шт.

2

SA 1071-01850

Адаптер

1шт.

3

SA 1070-23180

Пластина

1шт.

4

SA 1070-23190

Пластина

1шт.

5

SA 8240-04660

Зуб ковша

1шт.

6

SA 1071-01860

Палец

1шт.

7

SA 1071-01870

Lock

1шт.

8

SA 9011-11208

Болт

1шт.

9

SA 9111-12000

Гайка

1шт.

Выбрано товаров: 15