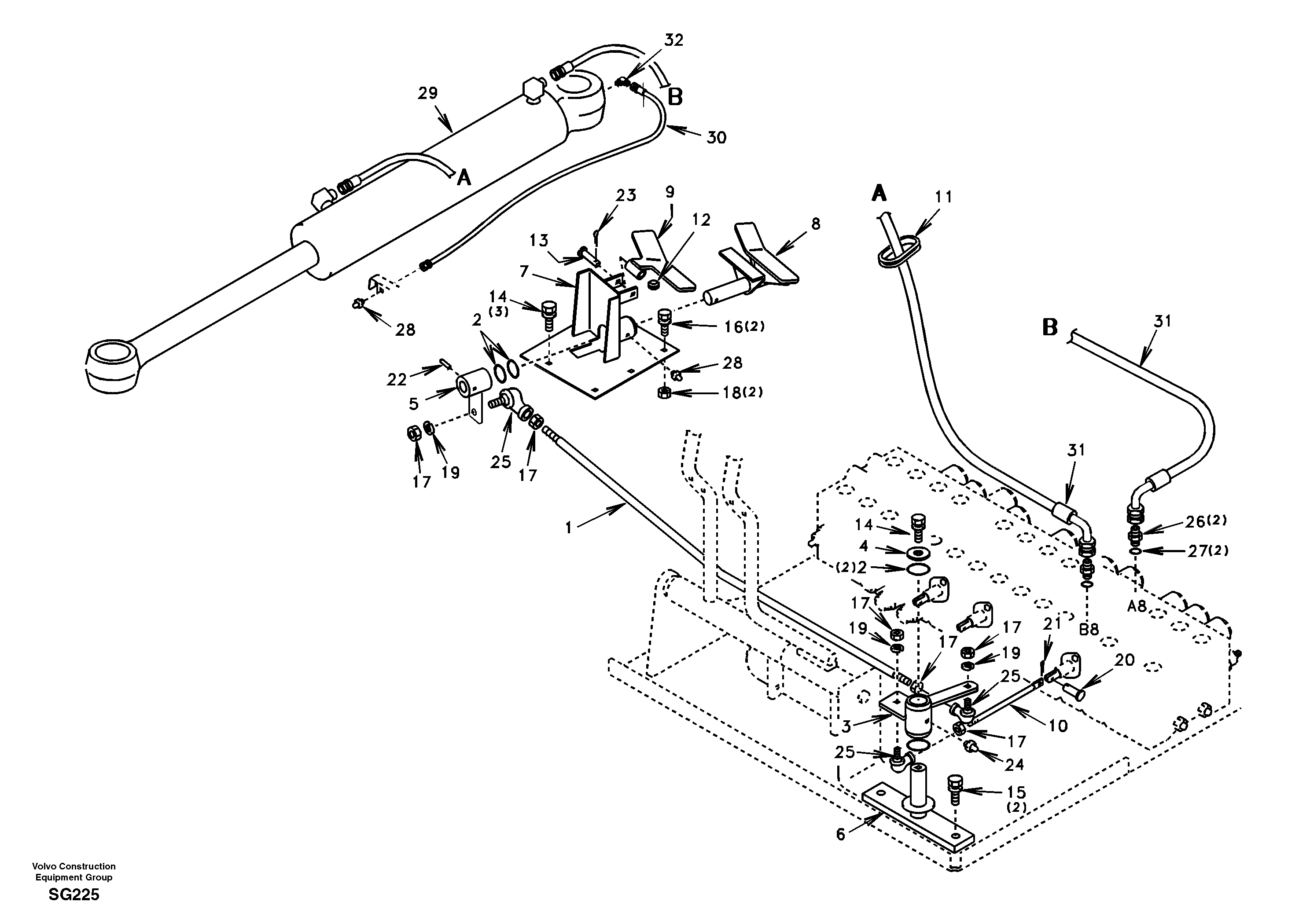
Запчасти Volvo EC55 93951 Boom swing system EC55 SER NO 3001 -

Схема запчастей Volvo EC55 - 93951 Boom swing system EC55 SER NO 3001 -
FIT
1:1
100%

Артикул

Название

Примечание

Количество

SA 9415-11041

Пробка (заглушка)

1шт.

SA 9415-11041

Пробка (заглушка)

1шт.

1

SA 1138-30012

Щуп

1шт.

10

SA 1038-00550

Щуп

1шт.

11

SA 9751-15016

Уплотнительная втулка

1шт.

12

SA 1060-22840

Уплотнительная втулка

1шт.

13

SA 1060-22940

Палец

1шт.

14

SA 9041-11004

Болт

1шт.

15

SA 9041-11005

Болт

1шт.

16

SA 9011-11009

Винт шестигранник

1шт.

17

SA 9111-10800

Гайка

1шт.

18

SA 9111-11000

Гайка

1шт.

19

SA 9213-08000

Шайба

1шт.

2

SA 1038-00230

Кольцо уплотнительное (О-кольцо)

1шт.

20

SA 9321-20408

Clevis pin

1шт.

20

SA 9321-20408

Clevis pin

1шт.

21

SA 9326-05000

Палец

1шт.

22

SA 9325-05018

Spring Pin

1шт.

23

SA 9423-02310

Split Pin

1шт.

24

SA 9481-20002

Nipple

1шт.

25

SA 9646-31080

Rod End

1шт.

26

SA 9412-11150

Соединитель

1шт.

27

SA 9511-12018

Кольцо уплотнительное (О-кольцо)

1шт.

28

SA 9481-10003

Nipple

1шт.

29

SA 1146-01211

цилиндр

1шт.

3

SA 1038-00250

Тяга поворотная

1шт.

30

SA 9482-01218

Шланг

1шт.

31

SA 9453-03734

Шланг

1шт.

32

SA 9413-43010

Elbow

1шт.

4

SA 1038-00290

Шайба

1шт.

5

SA 1038-00261

Тяга поворотная

1шт.

6

SA 1038-00280

Вал

1шт.

7

SA 1038-00320

Кронштейн

1шт.

8

SA 1038-00380

Pedal

1шт.

9

SA 1038-00390

Lock

1шт.

Выбрано товаров: 35