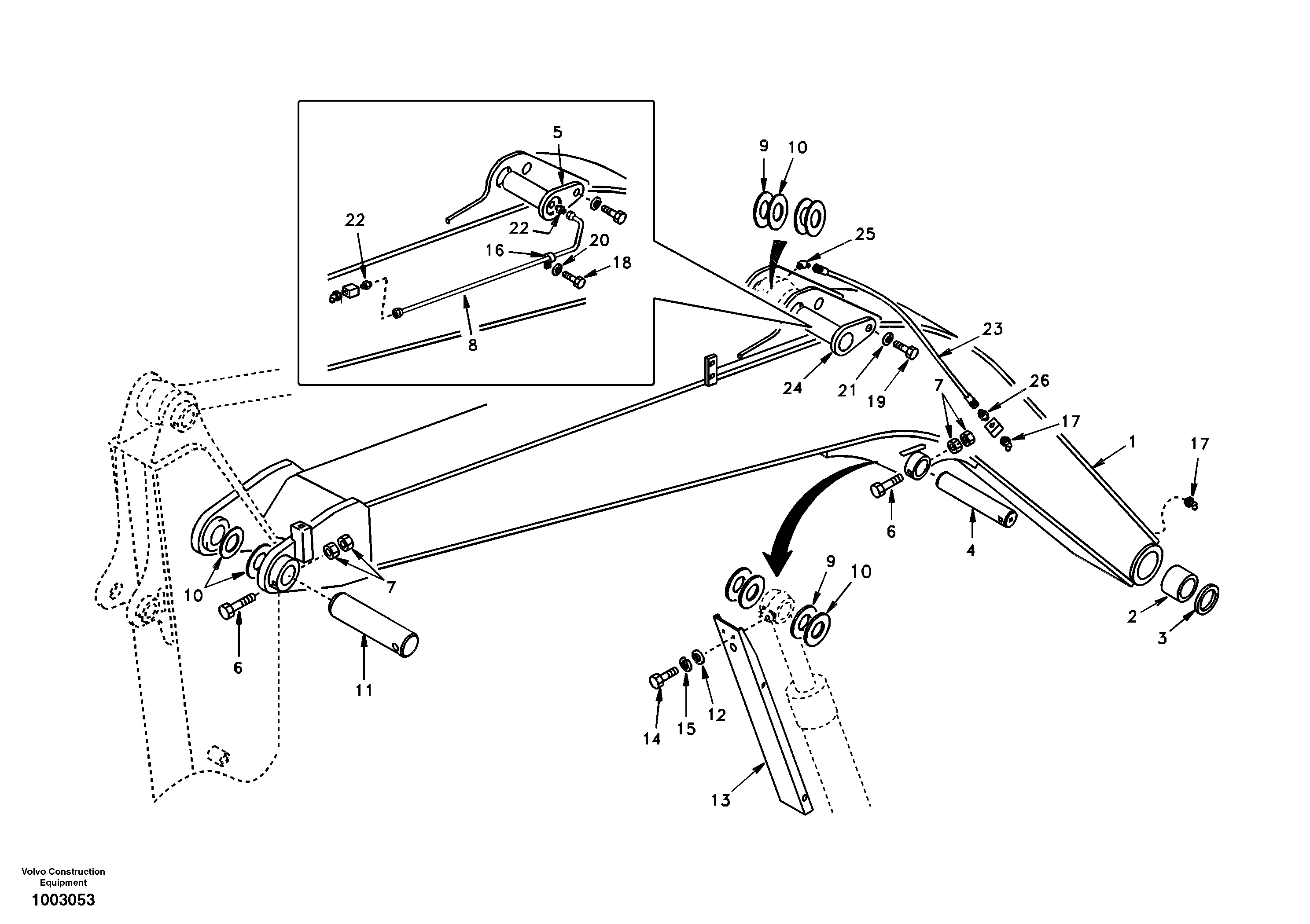
Запчасти Volvo EC55 1549 Links to boom, mono EC55 SER NO 5001-

Схема запчастей Volvo EC55 - 1549 Links to boom, mono EC55 SER NO 5001-
FIT
1:1
100%

Артикул

Название

Примечание

Количество

SA 14510773

Стрела

SER NO 5677-

1шт.

VOE 14510771

Втулка

SER NO 5677-

1шт.

VOE 14514574

Палец

SER NO 6153-6552

1шт.

VOE 979019

Hexagon Nut

SER NO 6682-

1шт.

VOE 979019

Hexagon Nut

SER NO 6682-

1шт.

VOE 14514575

Трубка

SER NO 6153-

1шт.

VOE 983252

Винт шестигранник

SER NO 6682-

1шт.

VOE 983252

Винт шестигранник

SER NO 6682-

1шт.

VOE 955922

Шайба пружинная

SER NO 6682-

1шт.

VOE 955922

Шайба пружинная

SER NO 6682-

1шт.

SA 9011-11204

Болт

SER NO 6153-

1шт.

SA 2051-01950

Шайба

SER NO 6153-

1шт.

1

VOE 14503539

Стрела

SER NO 5001-5676

1шт.

10

SA 1171-30620

Прокладка

1шт.

11

SA 1171-30190

Палец

1шт.

12

VOE 13960144

Шайба

1шт.

12

VOE 13960144

Шайба

1шт.

13

SA 1173-30091

Крышка

1шт.

14

SA 9011-11006

Болт

SER NO 5001-6681

1шт.

15

SA 9213-10000

Шайба пружинная

SER NO 5001-6681

1шт.

16

SA 9315-00603

Скоба (хомут)

SER NO 5001-6552

1шт.

17

SA 9481-21002

Nipple

1шт.

18

SA 9011-10803

Болт

SER NO 5001-6681

1шт.

19

SA 9011-11205

Болт

SER NO 5001-6152

1шт.

2

SA 1172-30061

Втулка

SER NO 5001-5676

1шт.

20

SA 9211-08000

Шайба

SER NO 5001-6552

1шт.

20

SA 9211-08000

Шайба

SER NO 5001-6552

1шт.

21

SA 9211-12000

Шайба

SER NO 5001-6152

1шт.

21

SA 9211-12000

Шайба

SER NO 5001-6152

1шт.

22

SA 9411-13021

Соединитель

SER NO 5001-6552

1шт.

23

VOE 14880647

Hose assembly

SER NO 6553-

1шт.

23

VOE 14880647

Шланг

SER NO 6553-

1шт.

24

VOE 14517358

Палец

SER NO 6553-

1шт.

25

SA 9414-43090

Elbow

SER NO 6553-

1шт.

26

SA 9412-43110

Соединитель

SER NO 6553-

1шт.

3

SA 9561-05010

Сальник

1шт.

4

SA 1171-30210

Палец

1шт.

5

VOE 14506888

Палец

SER NO 5001-6152

1шт.

6

SA 9011-21218

Болт

1шт.

7

SA 9111-11200

Гайка

SER NO 5001-6681

1шт.

8

VOE 14503542

Трубка

SER NO 5001-6152

1шт.

9

SA 1171-30610

Прокладка

1шт.

Выбрано товаров: 42