Запчасти Volvo EC70 1872 Slewing-offset selector switch ( for valve ) EC70 TYPE 233

Схема запчастей Volvo EC70 - 1872 Slewing-offset selector switch ( for valve ) EC70 TYPE 233
FIT
1:1
100%

Артикул

Название

Примечание

Количество

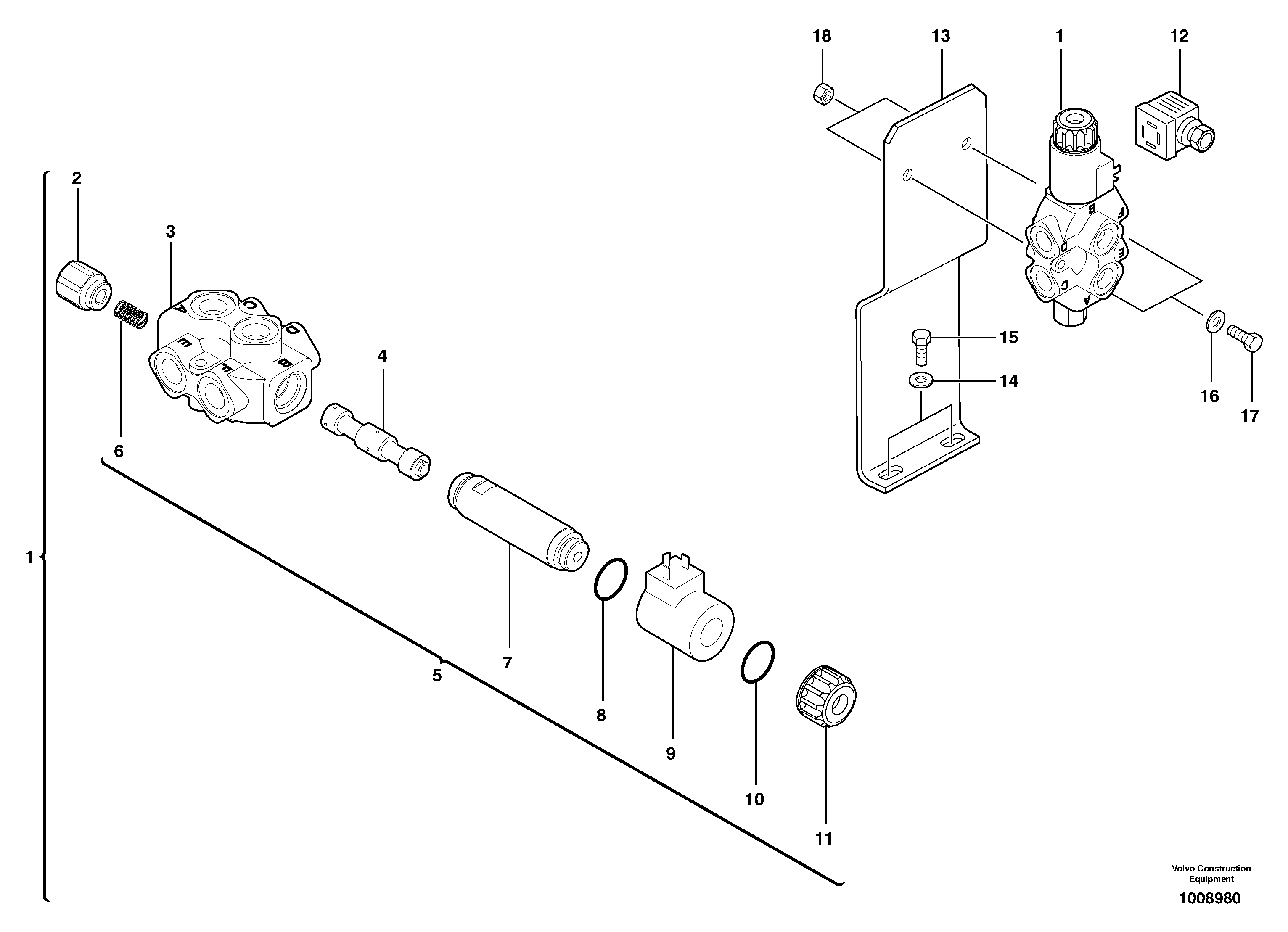
1

PJ 5360357

Selector

1шт.

10

VOE 11712497

Кольцо уплотнительное (О-кольцо)

1шт.

11

VOE 11712499

Пробка (заглушка)

1шт.

12

PJ 5130051

Plug connector

1шт.

13

PJ 3640095

Опора

1шт.

14

VOE 11804257

Шайба

1шт.

15

PJ 4380043

Болт

1шт.

16

VOE 11804257

Шайба

1шт.

17

VOE 983246

Винт шестигранник

1шт.

17

VOE 983246

Винт шестигранник

1шт.

18

VOE 983303

Гайка

1шт.

18

VOE 983303

Hexagon nut

1шт.

2

PJ 7417222

Переходник масляного фильтра

1шт.

5

VOE 11712496

Kit

1шт.

6

PJ 7413225

Пружина

1шт.

8

VOE 11712497

Кольцо уплотнительное (О-кольцо)

1шт.

9

VOE 11712498

Соленоид (электромагнитная катушка)

1шт.

Выбрано товаров: 17