Запчасти Volvo EC70 2727 Гидроцилиндр отвала EC70 TYPE 233

Схема запчастей Volvo EC70 - 2727 Гидроцилиндр отвала EC70 TYPE 233
FIT
1:1
100%

Артикул

Название

Примечание

Количество

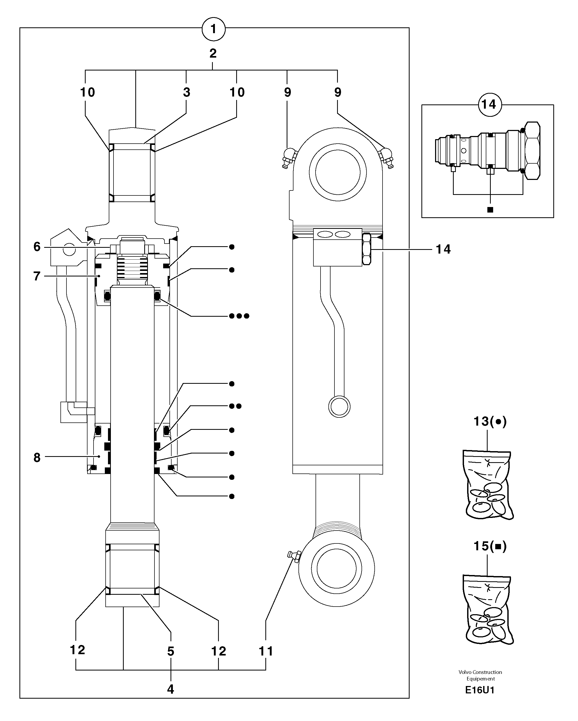
1

PJ 5670814

Гидроцилиндр отвала

1шт.

10

PJ 6140036

Сальник

1шт.

11

VOE 983718

Lubricating nipple

1шт.

11

VOE 983718

Lubricating nipple

1шт.

12

PJ 6140036

Сальник

1шт.

13

PJ 5960076

Sealing Kit

1шт.

14

PJ 5220015

Клапан предохранительный (разгрузочный, сброса давления)

180 bar

1шт.

15

PJ 5960045

Sealing kit

1шт.

2

PJ 5930244

Cylinder housing

1шт.

3

PJ 3870235

Втулка

1шт.

4

PJ 5940309

цилиндр

1шт.

5

PJ 3870235

Втулка

1шт.

6

PJ 5640216

Гайка

1шт.

7

PJ 5950123

Поршень

1шт.

8

PJ 5950116

Сальник

1шт.

9

VOE 983719

Lubricating nipple

1шт.

Выбрано товаров: 16