Запчасти Volvo EC70 2551 Фильтр топливный EC70VV TYPE 233

Схема запчастей Volvo EC70 - 2551 Фильтр топливный EC70VV TYPE 233
FIT
1:1
100%

Артикул

Название

Примечание

Количество

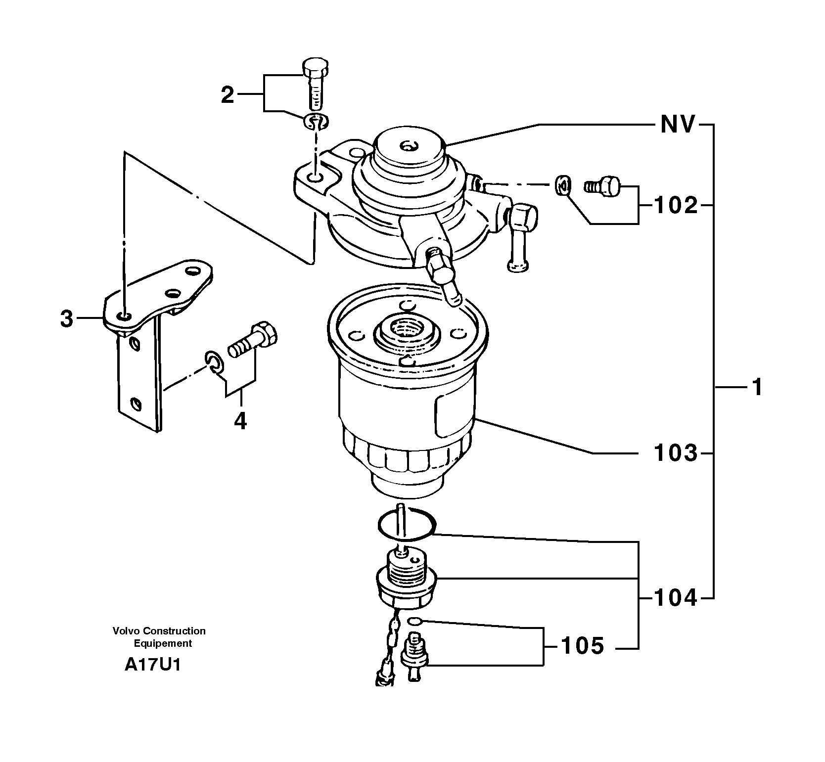
1

PJ 7416593

Фильтр топливный

1шт.

102

PJ 7416591

Пробка (заглушка)

1шт.

103

PJ 7416590

Cartridge

1шт.

103

PJ 7416590/20

Filter Kit

1шт.

104

PJ 7416589

Sensor

1шт.

105

PJ 7416592

Пробка (заглушка)

1шт.

2

PJ 7416580

Attachment kit

1шт.

3

PJ 7416579

Опора

1шт.

4

PJ 7416429

Attachment kit

1шт.

Выбрано товаров: 9