Запчасти Volvo EC70 3250 Фильтр воздушный EC70VV TYPE 233

Схема запчастей Volvo EC70 - 3250 Фильтр воздушный EC70VV TYPE 233
FIT
1:1
100%

Артикул

Название

Примечание

Количество

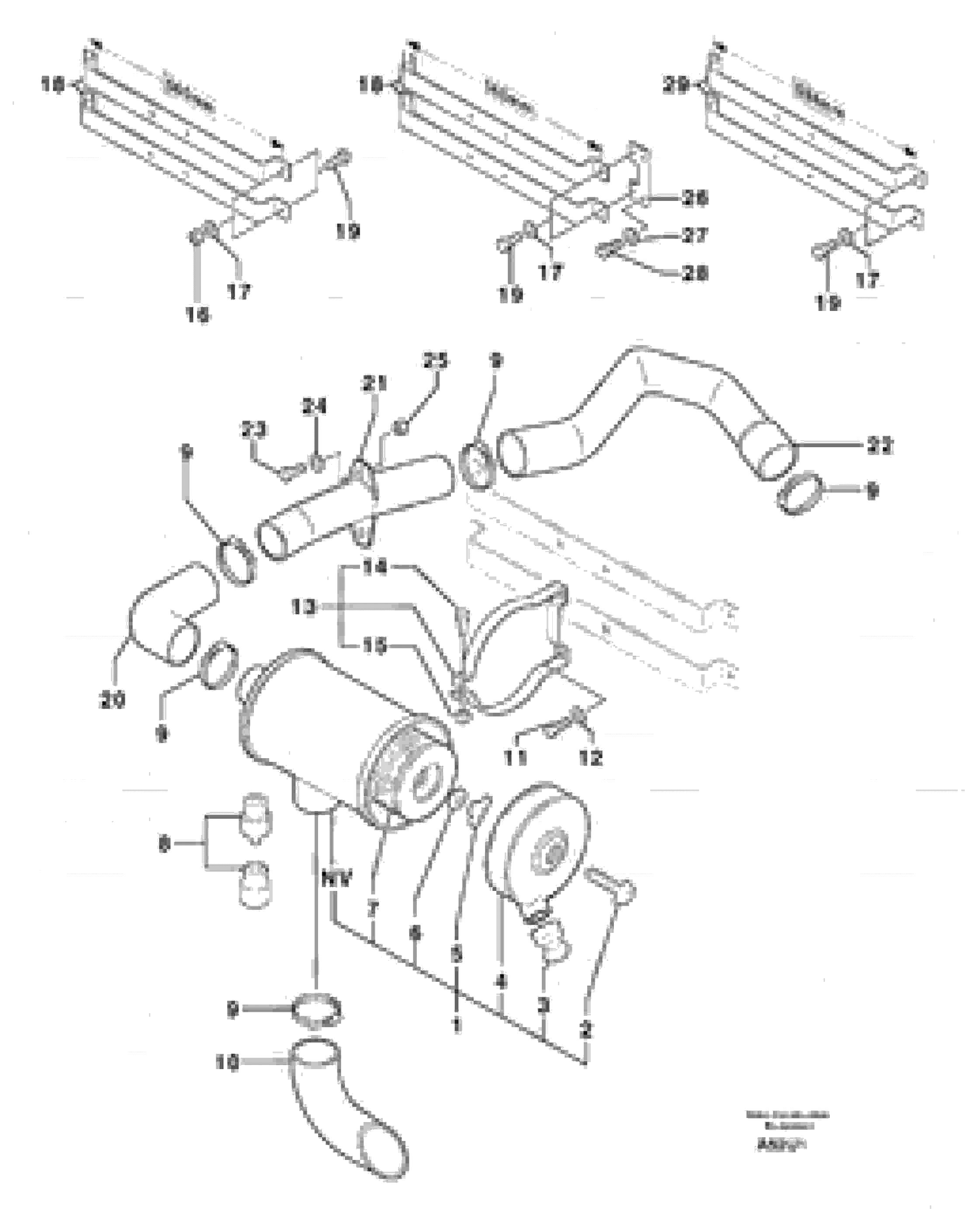
1

PJ 6050040

Фильтр воздушный

1шт.

10

PJ 4199098

Шланг

1шт.

11

PJ 4380042

Болт

HM8X16

1шт.

12

VOE 11804257

Шайба

M8

1шт.

13

PJ 4690128

Зажим

1шт.

14

PJ 7411263

Болт

CL M6X45

1шт.

15

PJ 7411264

Square Nut

QL M6

1шт.

16

VOE 983303

Гайка

HM8

1шт.

16

VOE 983303

Hexagon nut

HM8

1шт.

17

VOE 11804257

Шайба

M8

1шт.

18

PJ 3680092

Опора

L = 560mm/22.0472in

1шт.

19

PJ 4380043

Болт

HM8X20

1шт.

2

PJ 7411254

Болт

1шт.

20

PJ 4199097

Шланг

1шт.

21

PJ 3811769

Трубка

1шт.

22

PJ 4199096

Шланг

1шт.

23

PJ 4380042

Болт

HM8X16

1шт.

24

VOE 11804257

Шайба

M8

1шт.

25

VOE 983303

Гайка

HM8

1шт.

25

VOE 983303

Hexagon nut

HM8

1шт.

26

PJ 3310372

Protecting plate

1шт.

27

VOE 11804257

Шайба

M8

1шт.

28

PJ 4380042

Болт

HM8X16

1шт.

29

PJ 3680096

Опора

L = 594mm/23.3858in

1шт.

3

PJ 7411258

Draining valve

1шт.

4

PJ 7411491

Крышка

1шт.

5

PJ 7411257

Wing Nut

1шт.

6

PJ 7411256

Сальник

1шт.

7

PJ 6050041

Filter cartridge

1шт.

7

PJ 6050041/4

Filter Kit

1шт.

8

PJ 5110018

Indicator

1шт.

9

PJ 4690111

Зажим

1шт.

Выбрано товаров: 32