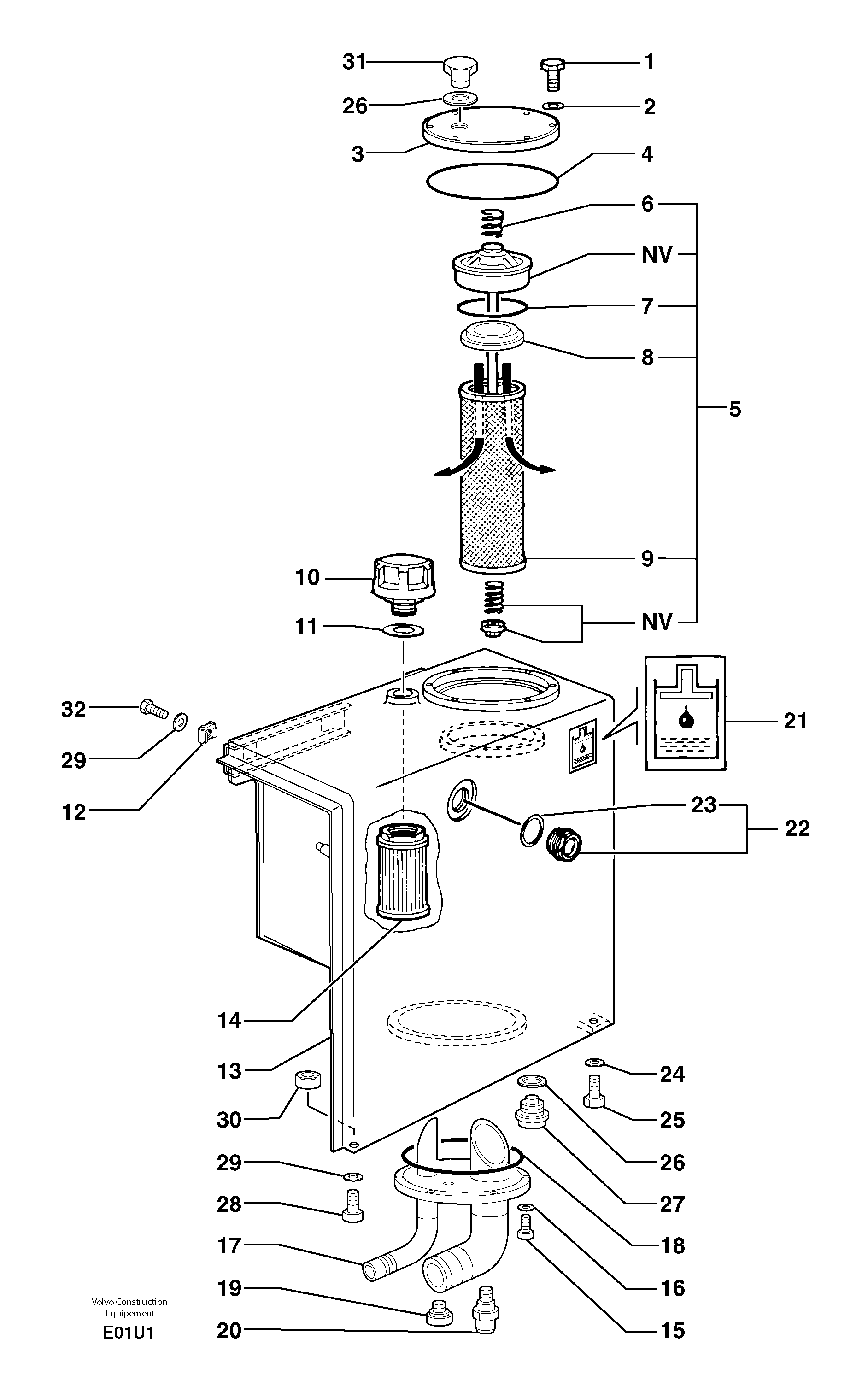
Запчасти Volvo EC70 102833 Гидробак EC70VV TYPE 233

Схема запчастей Volvo EC70 - 102833 Гидробак EC70VV TYPE 233
FIT
1:1
100%

Артикул

Название

Примечание

Количество

1

PJ 4380043

Болт

HM8X20

1шт.

10

PJ 6050083

Venting

1шт.

11

VOE 944252

Прокладка

1шт.

12

VOE 11802303

Гайка

M10

1шт.

13

PJ 5020073

Hydr fluid tank

1шт.

14

PJ 6050037

Фильтр

1шт.

15

PJ 4380043

Болт

HM8X20

1шт.

16

VOE 11804257

Шайба

M8

1шт.

17

PJ 3811743

Крышка

1шт.

18

VOE 983534

Кольцо уплотнительное (О-кольцо)

1шт.

19

PJ 4740012

Пробка (заглушка)

1шт.

2

VOE 11804257

Шайба

M8

1шт.

20

VOE 11802936

Temperature sensor

1шт.

20

VOE 11802936

Temperature sensor

1шт.

22

PJ 4770020

Level Inspection Glass

1шт.

23

PJ 7410873

Сальник

1шт.

24

VOE 11807554

Шайба

M10

1шт.

25

PJ 4380052

Болт

HM10X25

1шт.

26

PJ 5600010

Втулка

1шт.

27

PJ 4740032

Пробка (заглушка)

1шт.

28

PJ 4380055

Болт

HM10X30

1шт.

29

VOE 11807554

Шайба

M10

1шт.

3

PJ 4010112

Крышка

1шт.

30

VOE 983304

Hexagon nut

HM10

1шт.

30

VOE 983304

Hexagon nut

HM10

1шт.

31

VOE 11802436

Пробка (заглушка)

1шт.

32

PJ 4380054

Болт

HM10X20

1шт.

4

VOE 983534

Кольцо уплотнительное (О-кольцо)

1шт.

5

VOE 11715537

Фильтр масляный

1шт.

6

PJ 7415999

Пружина

1шт.

7

PJ 7417371

Gear

1шт.

8

PJ 7416001

Сальник

1шт.

9

PJ 6050108/5

Filter Kit

1шт.

9

VOE 11807425

Cartridge

1шт.

Выбрано товаров: 0