Качественные детали и логистика
Оригинальные и аналоговые запчасти с доставкой по России, Казахстану и Беларуси
©2022 PartSell ООО "Система" ИНН 2463123282 ОГРН 1212400004838
Центральный офис: г. Красноярск, Академика Киренского, д.87, пом.4
Телефон: 8 (800) 777-65-74 Email: zakaz@partsell.ru
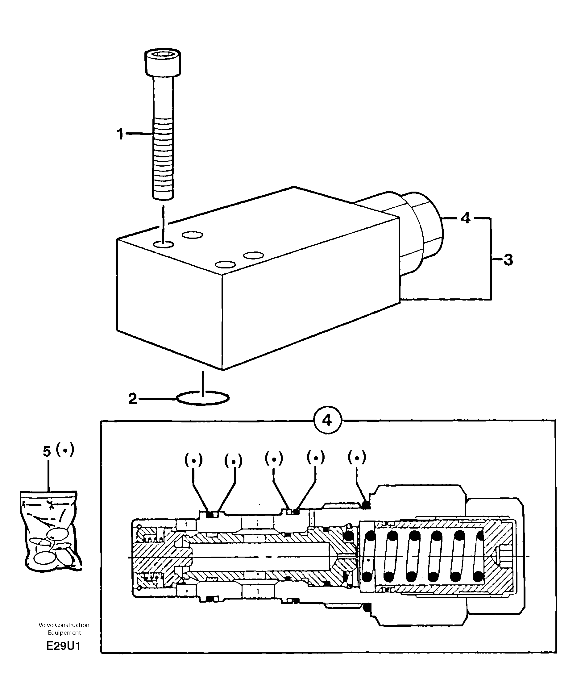
2812 Safety valve ( dipper arm cylinder )
№
Артикул
Название
Примечание
Количество
1
PJ 4290122
Болт
CHc M8X60
1шт.
2
VOE 945777
Кольцо уплотнительное (О-кольцо)
5
PJ 5960031
Sealing Kit
Выбрано товаров: 0