Запчасти Volvo EC70 2826 Control lever : dozer blade EC70VV TYPE 233

Схема запчастей Volvo EC70 - 2826 Control lever : dozer blade EC70VV TYPE 233
FIT
1:1
100%

Артикул

Название

Примечание

Количество

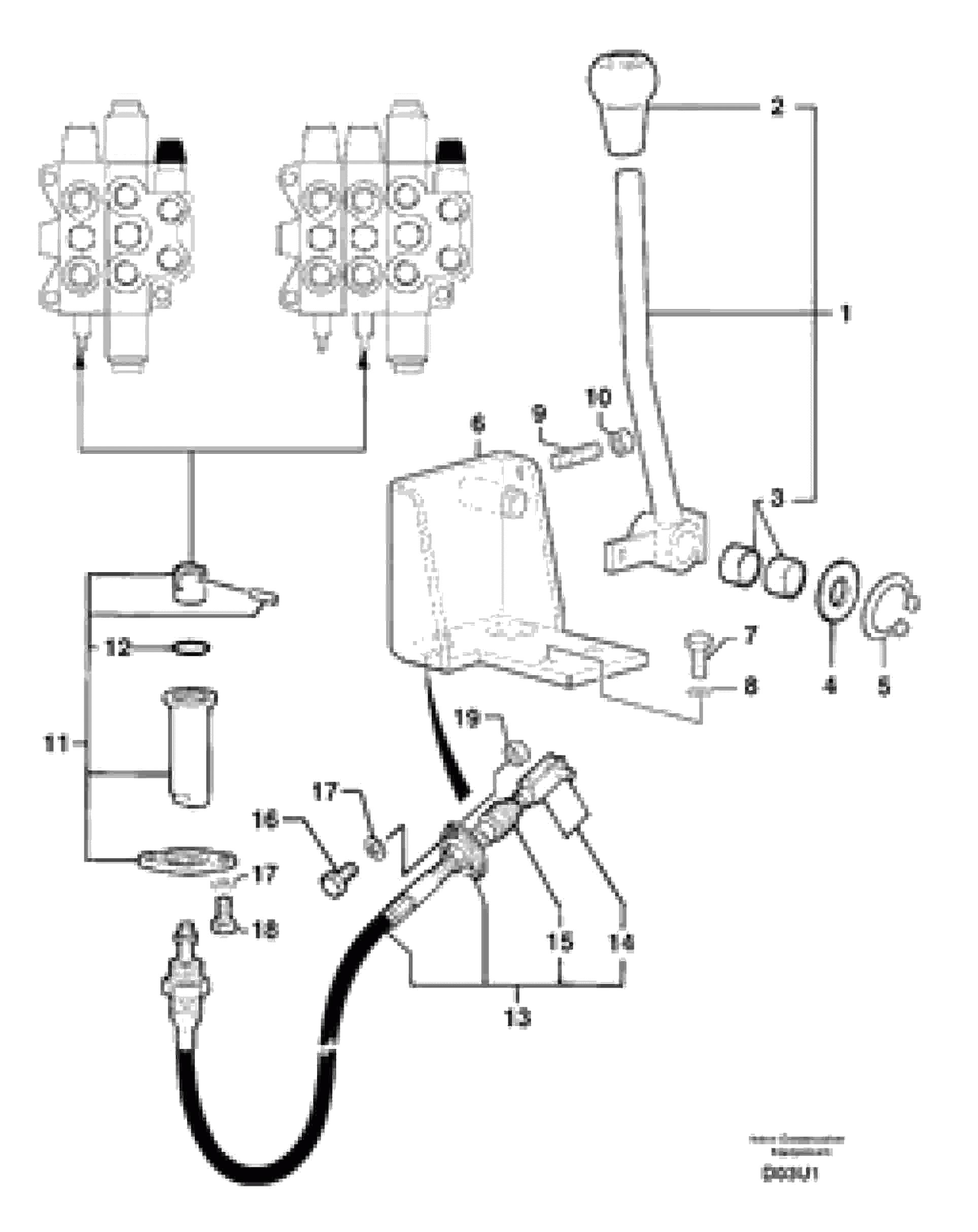
1

PJ 7450449

Lever

1шт.

10

PJ 4410013

Гайка

HM6

1шт.

11

PJ 5270234

Attachment kit

1шт.

12

PJ 7412469

Кольцо уплотнительное (О-кольцо)

1шт.

13

PJ 5270518

Cable

1шт.

14

PJ 7412468

Вилка

1шт.

15

PJ 7412470

Bellow

1шт.

16

PJ 4380022

Болт

HM5X20

1шт.

17

VOE 940090

Шайба

MU5

1шт.

17

VOE 940090

Шайба

MU5

1шт.

18

PJ 4380021

Болт

HM5X16

1шт.

19

PJ 4410010

Гайка

HM5

1шт.

2

VOE 11803169

Handle

1шт.

2

VOE 11803169

Handle

1шт.

3

PJ 3870118

Втулка

1шт.

4

VOE 955900

Шайба

MU16

1шт.

4

VOE 955900

Шайба

MU16

1шт.

5

PJ 4630022

Кольцо стопорное

1шт.

6

PJ 5270468

Опора

1шт.

7

PJ 4380043

Болт

HM8X20

1шт.

8

VOE 11804257

Шайба

M8

1шт.

9

PJ 4280002

Болт

Hc M6X25

1шт.

Выбрано товаров: 0