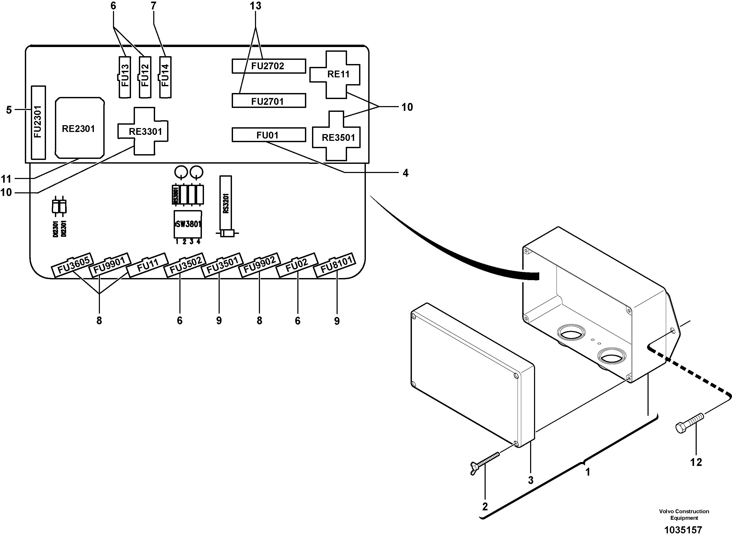
Запчасти Volvo ECR38 TYPE 602 9753 Electrical distribution box

Схема запчастей Volvo ECR38 TYPE 602 - 9753 Electrical distribution box
FIT
1:1
100%

Артикул

Название

Примечание

Количество

1

VOE 11801720

Box

1шт.

10

VOE 11305263

Реле

1шт.

10

VOE 11305263

Реле

1шт.

11

ZM 2810112

Реле

1шт.

11

ZM 2810112

Реле

1шт.

12

VOE 946671

Flange screw

1шт.

12

VOE 946671

Flange screw

1шт.

13

VOE 979007

Fuse

1шт.

4

VOE 979008

Fuse

1шт.

5

VOE 979009

Fuse

1шт.

6

VOE 969161

Fuse

1шт.

6

VOE 969161

Fuse

1шт.

7

VOE 969160

Fuse

1шт.

8

VOE 981405

Fuse

1шт.

8

VOE 981405

Fuse

1шт.

9

VOE 969162

Fuse

1шт.

Выбрано товаров: 16