Запчасти Volvo ECR58 4783 Ковш

Схема запчастей Volvo ECR58 - 4783 Ковш
FIT
1:1
100%

Артикул

Название

Примечание

Количество

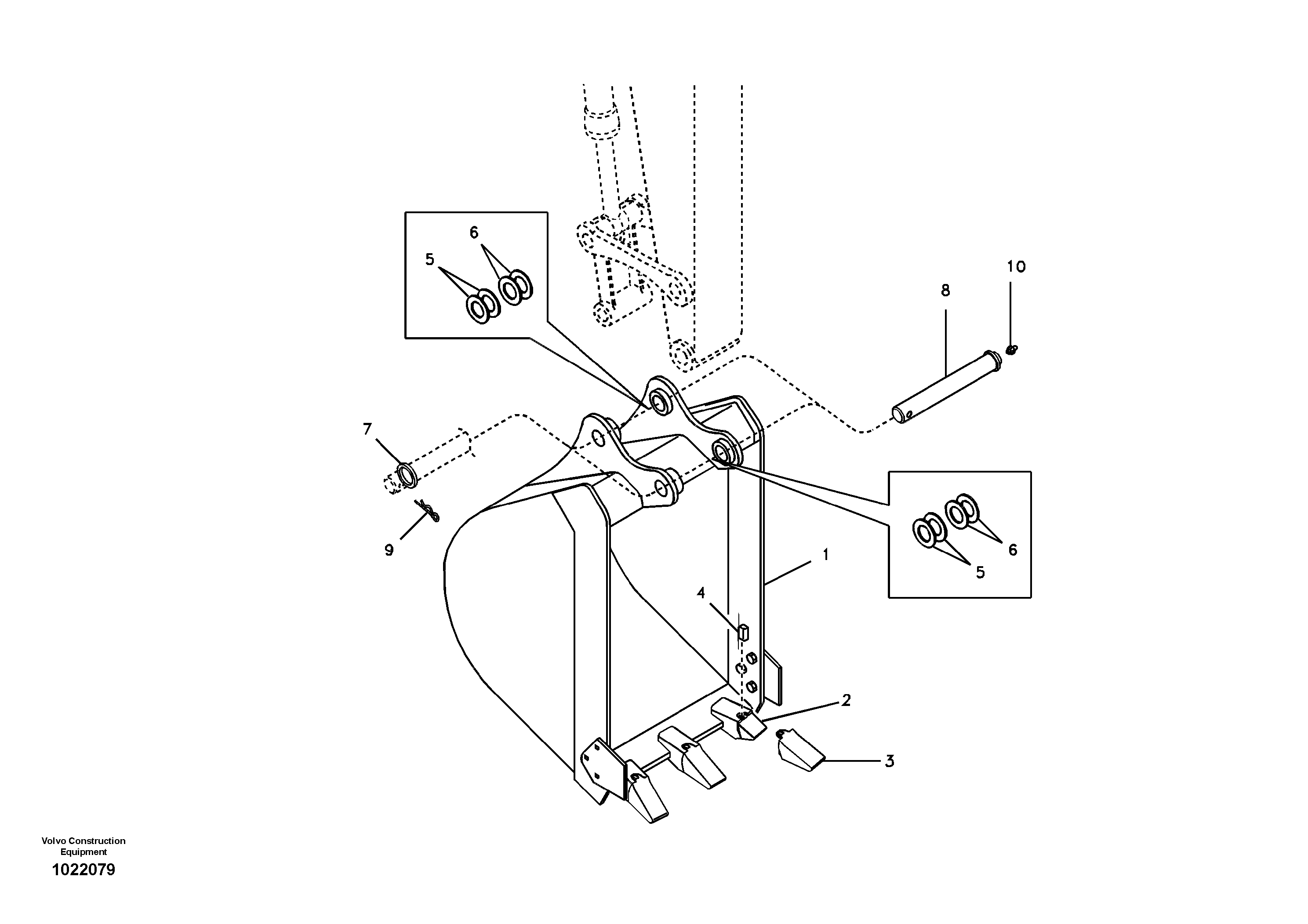
VOE 14546181

Палец

SER NO 11051-

1шт.

1

VOE 11802669

Ковш

0.098 CU M

1шт.

10

SA 9481-11003

Nipple

1шт.

2

VOE 11801591

Палец

1шт.

2

VOE 11801591

Tooth bracket

1шт.

3

VOE 11884312

Bucket Tooth

1шт.

4

VOE 11884314

Key

1шт.

4

VOE 11884314

Палец

1шт.

5

SA 1171-30590

Прокладка

1шт.

6

SA 1171-30600

Прокладка

1шт.

7

VOE 14511868

Шайба

1шт.

8

VOE 14519813

Палец

SER NO 10001-11050

1шт.

9

SA 9323-07535

Split Pin

1шт.

Выбрано товаров: 0