Запчасти Volvo ECR88 37704 Гидробак ECR88 S/N 10001-14010

Схема запчастей Volvo ECR88 - 37704 Гидробак ECR88 S/N 10001-14010
FIT
1:1
100%

Артикул

Название

Примечание

Количество

VOE 955923

Шайба пружинная

SER NO 10236-

1шт.

VOE 955923

Шайба пружинная

SER NO 10236-

1шт.

VOE 14541394

Бак

SER NO 10619-11200

1шт.

VOE 14548310

Бак

SER NO 11201-11597

1шт.

VOE 983251

Винт шестигранник

SER NO 10236-

1шт.

VOE 983251

Винт шестигранник

SER NO 10236-

1шт.

VOE 983251

Винт шестигранник

SER NO 10236-

1шт.

VOE 983251

Винт шестигранник

SER NO 10236-

1шт.

SA 1141-30090

Фильтр

1шт.

VOE 14553664

Бак

SER NO 11598-

1шт.

VOE 14553664

Бак

SER NO 11598-

1шт.

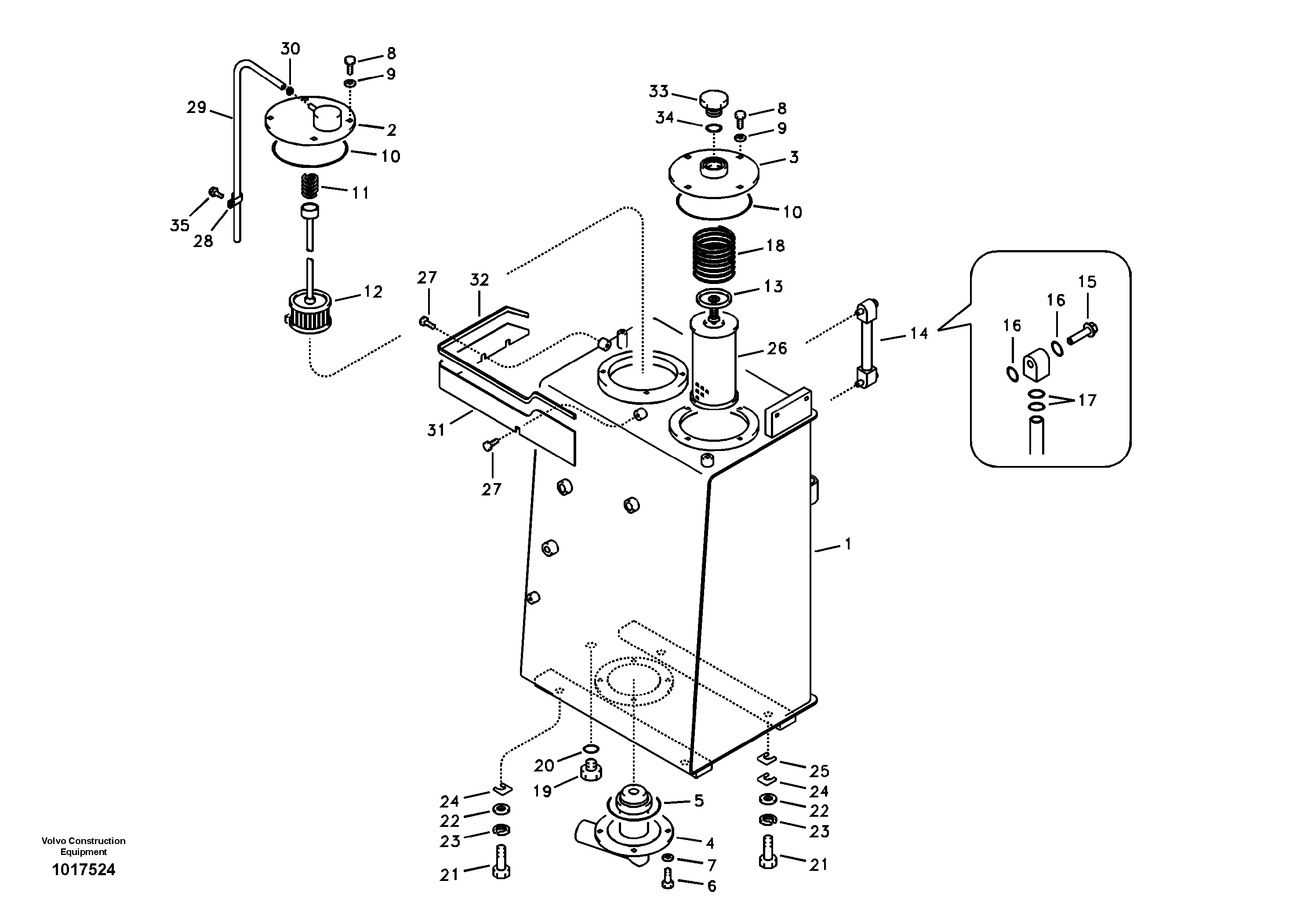
1

VOE 14530922

Бак

SER NO 10001-10618

1шт.

10

VOE 990603

Кольцо уплотнительное (О-кольцо)

1шт.

10

VOE 990603

Кольцо уплотнительное (О-кольцо)

1шт.

11

SA 1040-20360

Пружина

1шт.

12

VOE 14519254

Фильтр

1шт.

12

VOE 14519254

Фильтр

1шт.

13

SA 1040-23870

Клапан

1шт.

14

SA 14532362

Lvl Ind Pipe

1шт.

15

VOE 14517557

Болт

1шт.

16

VOE 983497

Кольцо уплотнительное (О-кольцо)

1шт.

16

VOE 983497

Кольцо уплотнительное (О-кольцо)

1шт.

17

VOE 990557

Кольцо уплотнительное (О-кольцо)

1шт.

17

VOE 990557

Кольцо уплотнительное (О-кольцо)

1шт.

18

SA 1040-20240

Пружина

1шт.

18

SA 1040-20240

Пружина

1шт.

19

SA 1010-60030

Пробка (заглушка)

1шт.

2

VOE 14519271

Крышка

1шт.

20

VOE 983526

Кольцо уплотнительное (О-кольцо)

1шт.

20

VOE 983526

Кольцо уплотнительное (О-кольцо)

1шт.

21

VOE 978933

Винт шестигранник

1шт.

21

VOE 978933

Винт шестигранник

1шт.

22

VOE 14522862

Шайба

1шт.

22

VOE 14522862

Шайба

1шт.

23

SA 9213-12000

Шайба пружинная

SER NO 10001-10235

1шт.

24

SA 1040-20290

Прокладка

1шт.

25

SA 1040-20270

Прокладка

1шт.

26

SA 1040-20410

Фильтр масляный

1шт.

27

VOE 946471

Flange screw

1шт.

27

VOE 946471

Flange screw

1шт.

28

SA 9315-01401

Insulating clip

SER NO 10001-11597

1шт.

28

SA 9315-01401

Скоба (хомут)

SER NO 10001-11597

1шт.

29

VOE 14523134

Шланг

1шт.

29

VOE 14523134

Шланг

1шт.

3

VOE 14523750

Крышка

1шт.

30

SA 9312-00005

Зажим

1шт.

31

VOE 14530928

Пластина

1шт.

31

VOE 14530928

Пластина

1шт.

32

VOE 14880921

Weatherstrip

1шт.

32

VOE 14880921

Weatherstrip

1шт.

33

VOE 14529324

Пробка (заглушка)

1шт.

34

VOE 990610

Кольцо уплотнительное (О-кольцо)

1шт.

34

VOE 990610

Кольцо уплотнительное (О-кольцо)

1шт.

35

VOE 946471

Flange screw

SER NO 10001-10235

1шт.

35

VOE 946471

Flange screw

SER NO 10001-10235

1шт.

4

VOE 14521789

Крышка

1шт.

5

VOE 990601

Кольцо уплотнительное (О-кольцо)

1шт.

5

VOE 990601

Кольцо уплотнительное (О-кольцо)

1шт.

6

VOE 983250

Винт шестигранник

SER NO 10001-10235

1шт.

6

VOE 983250

Винт шестигранник

SER NO 10001-10235

1шт.

7

SA 9211-10000

Шайба

1шт.

7

SA 9211-10000

Шайба

1шт.

8

VOE 983250

Винт шестигранник

SER NO 10001-10235

1шт.

8

VOE 983250

Винт шестигранник

SER NO 10001-10235

1шт.

9

SA 9211-10000

Шайба

1шт.

9

SA 9211-10000

Шайба

1шт.

Выбрано товаров: 66