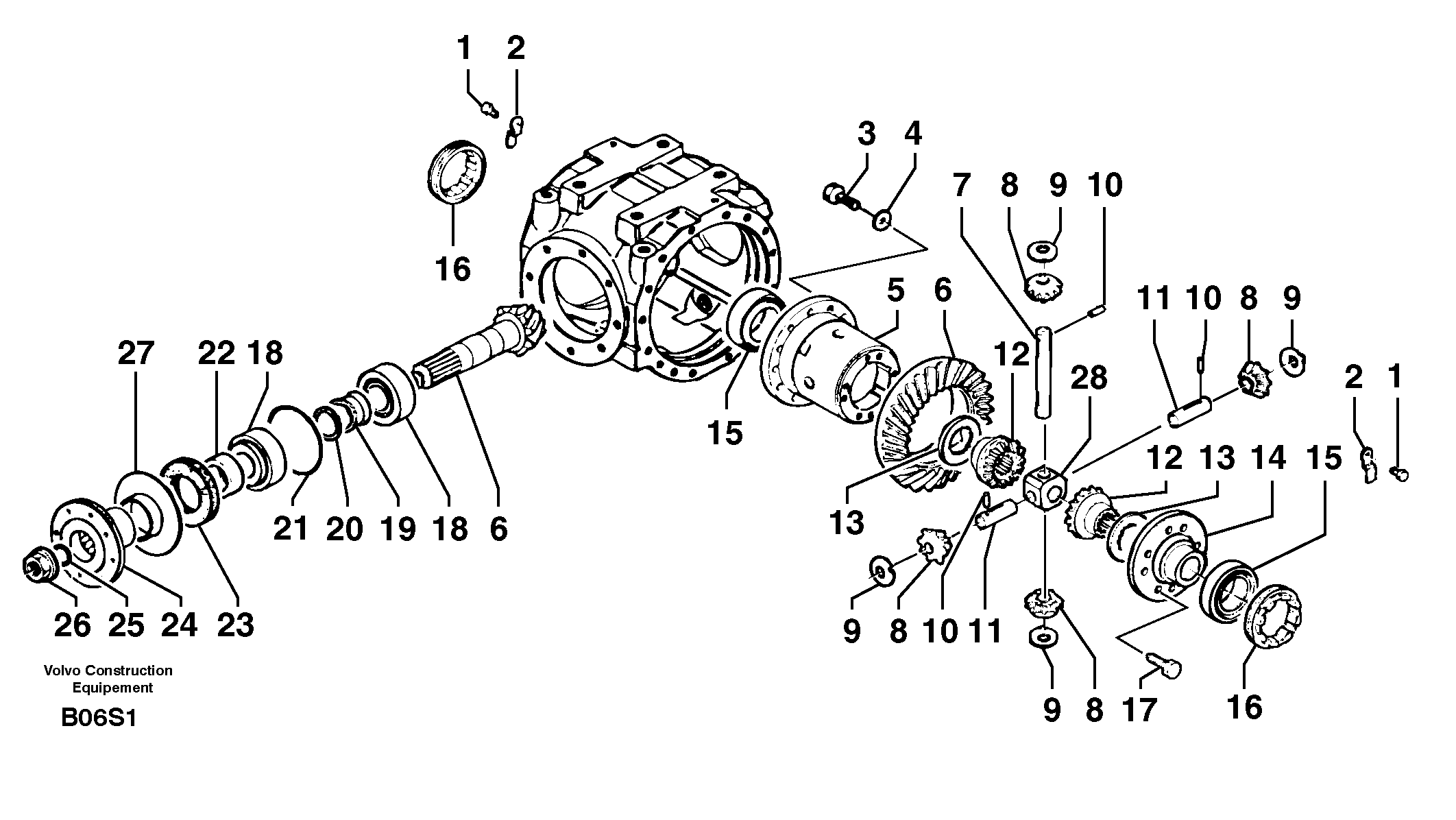
Запчасти Volvo EW50 12255 Дифференциал переднего моста (1660) EW50 TYPE 256

Схема запчастей Volvo EW50 - 12255 Дифференциал переднего моста (1660) EW50 TYPE 256
FIT
1:1
100%

Артикул

Название

Примечание

Количество

1

PJ 7413325

Болт

1шт.

10

PJ 7413868

Палец

1шт.

11

PJ 7413890

Stub Axle

1шт.

12

PJ 7413887

Шестерня планетарная (сателлит)

1шт.

13

PJ 7413891

Шайба

1шт.

14

PJ 7415000

Фланец

1шт.

15

PJ 7413859

Ball bearing

1шт.

16

PJ 7413895

Гайка

1шт.

17

PJ 7414989

Болт

1шт.

18

PJ 7413860

Ball bearing

1шт.

19

PJ 7450389

Spacer (kit)

1шт.

2

PJ 7413898

Spring Clip

1шт.

20

PJ 7450390

Shims (kit)

1шт.

21

PJ 7450452

Shims (kit)

1шт.

22

PJ 7413896

Вставка

1шт.

23

PJ 7413282

Сальник

1шт.

24

PJ 7413996

Фланец

1шт.

25

PJ 7413284

Кольцо уплотнительное (О-кольцо)

1шт.

26

PJ 7413432

Гайка

1шт.

27

PJ 7413435

Шайба

1шт.

28

PJ 7413888

Крестовина

1шт.

3

PJ 7413326

Болт

1шт.

4

PJ 7413316

Шайба

1шт.

5

PJ 7413885

Differential housing

1шт.

6

PJ 7417187

Bevel gear

1шт.

7

PJ 7413889

Stub Axle

1шт.

8

PJ 7413886

Шестерня планетарная (сателлит)

1шт.

9

PJ 7413892

Шайба

1шт.

Выбрано товаров: 0