Запчасти Volvo EW50 8121 Cab : accessories EW50 TYPE 256

Схема запчастей Volvo EW50 - 8121 Cab : accessories EW50 TYPE 256
FIT
1:1
100%

Артикул

Название

Примечание

Количество

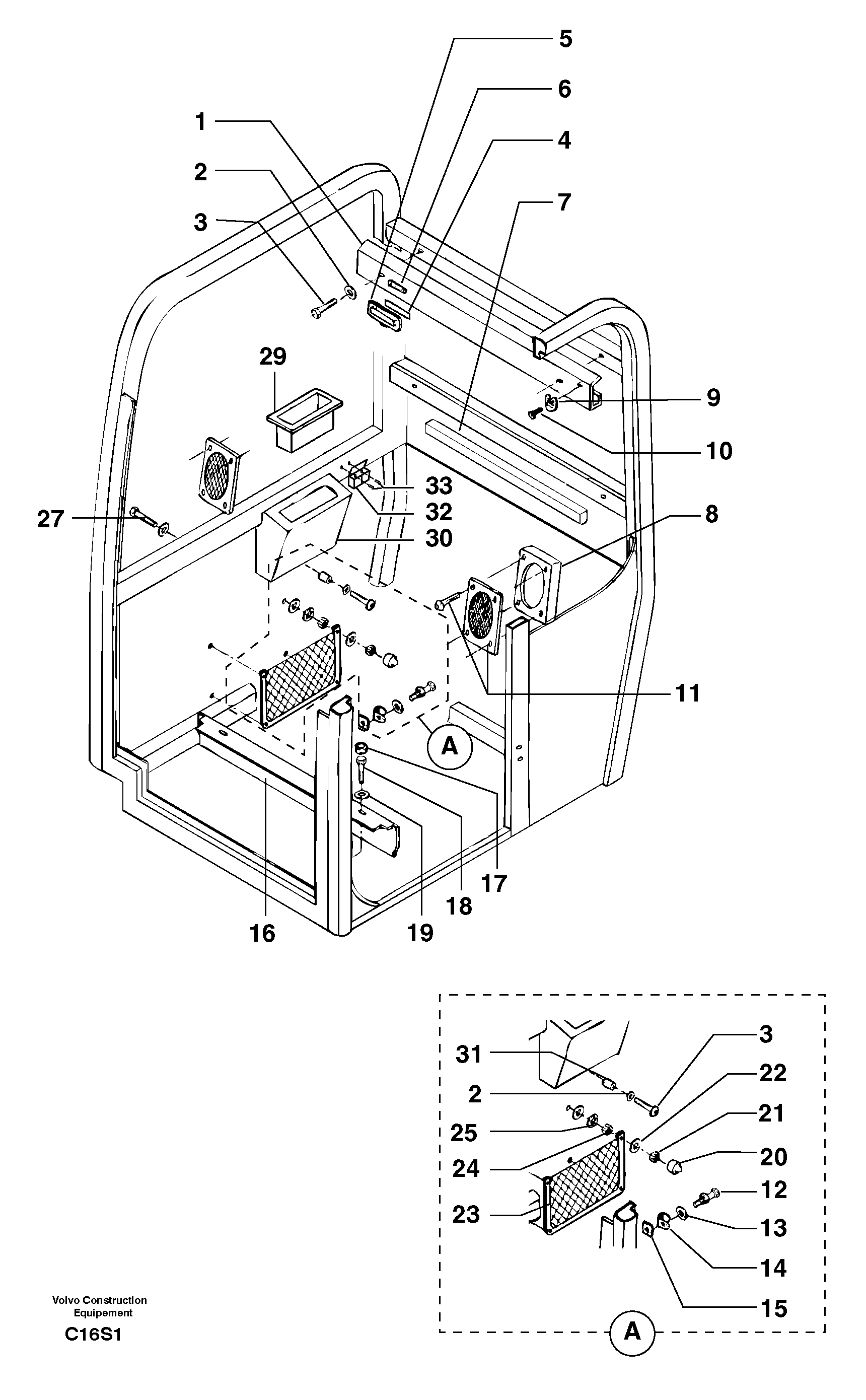
1

PJ 7415608

Apron

1шт.

11

PJ 7411992

Решетка

1шт.

12

PJ 7411541

Striker Plate

1шт.

13

PJ 7411703

Шайба

1шт.

14

PJ 7411999

Trigger protector

1шт.

15

PJ 7411704

Пластина

1шт.

16

PJ 7415633

Apron

1шт.

17

PJ 7411700

Пробка (заглушка)

1шт.

18

PJ 4380031

Болт

HM6X16

1шт.

19

PJ 4480005

Стопорная шайба (кольцо)

JZC6

1шт.

2

PJ 4480005

Стопорная шайба (кольцо)

JZC6

1шт.

20

PJ 7411702

Пробка (заглушка)

1шт.

21

PJ 7411675

Lock nut

NYLSTOP M4

1шт.

22

VOE 955891

Шайба

MU4

1шт.

22

VOE 955891

Шайба

MU4

1шт.

23

PJ 7411693

Document holder

1шт.

24

VOE 955779

Hexagon nut

HM4

1шт.

24

VOE 955779

Hexagon nut

HM4

1шт.

25

PJ 7411679

Стопорная шайба (кольцо)

1шт.

27

PJ 7411969

Болт

HM4X25

1шт.

29

PJ 7413707

Box

1шт.

3

PJ 7411673

Болт

CBHC M6X16

1шт.

30

PJ 7412446

Кронштейн

1шт.

31

PJ 7411977

Socket

1шт.

32

PJ 7411536

Ashtray

1шт.

5

PJ 7410519

Roof Lamp

1шт.

6

PJ 7411396

Bulb

1шт.

7

PJ 7413745

Channel section

1шт.

8

PJ 7412445

Apron

LH

1шт.

8

PJ 7412444

Apron

RH

1шт.

9

PJ 7411994

Coat hanger

1шт.

Выбрано товаров: 31