Запчасти Volvo EW50 14638 Lubrication oil filler and breather EW50 TYPE 256

Схема запчастей Volvo EW50 - 14638 Lubrication oil filler and breather EW50 TYPE 256
FIT
1:1
100%

Артикул

Название

Примечание

Количество

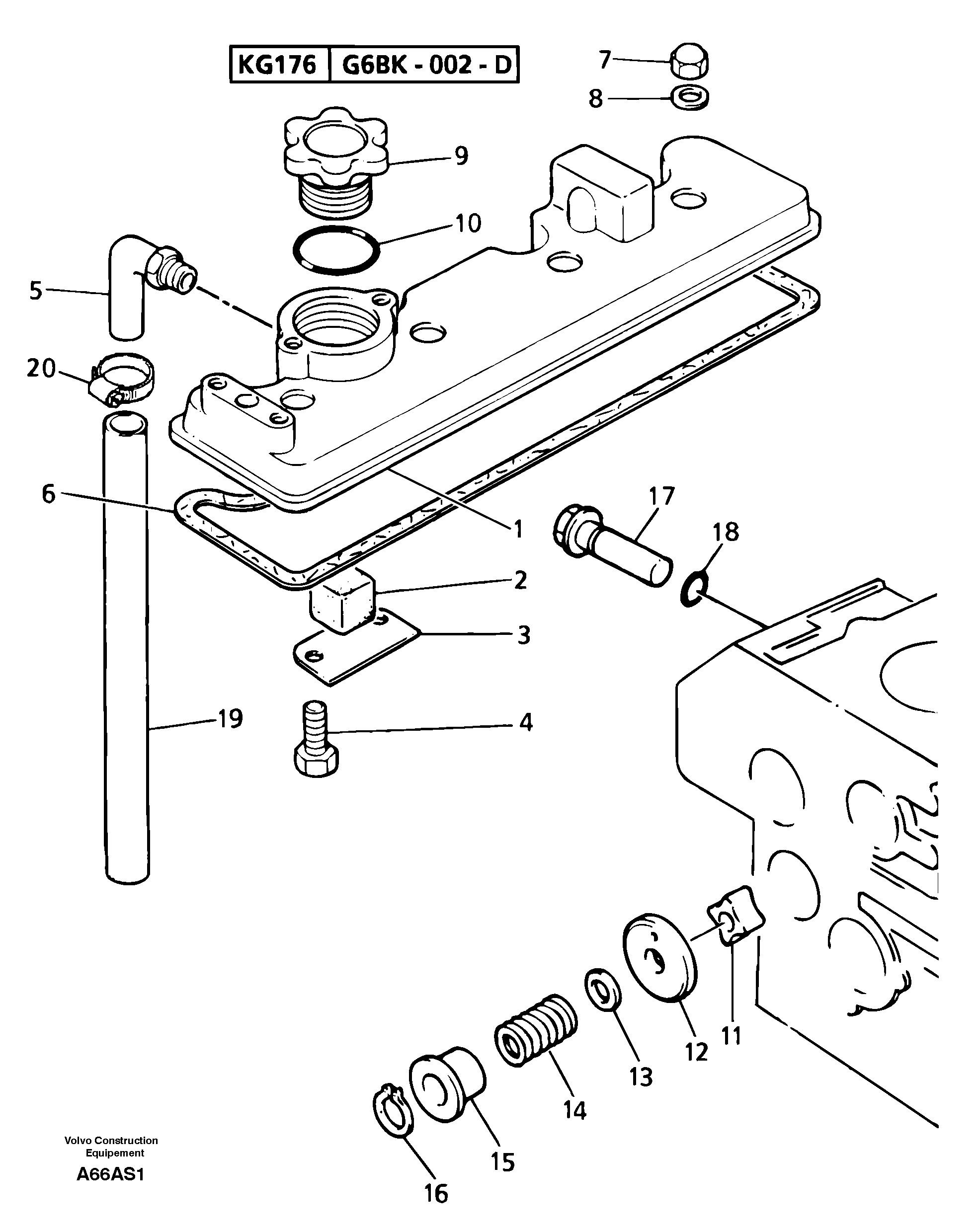
1

PJ 111026150

Крышка

1шт.

10

PJ 052100400

Сальник

1шт.

11

PJ 140166140

Rotor

1шт.

12

PJ 140116140

Крышка

1шт.

13

PJ 199286150

Прокладка

THICK = 0,10mm/0.0039in

1шт.

13

PJ 199286160

Прокладка

THICK = 0,15mm/0.0059in

1шт.

13

PJ 199286170

Прокладка

THICK = 0,20mm/0.0079in

1шт.

13

PJ 199286180

Прокладка

THICK = 0,50mm/0.0197in

1шт.

14

PJ 198216720

Пружина

1шт.

15

PJ 199236540

Cup

1шт.

16

PJ 036800010

Кольцо стопорное

1шт.

17

PJ 140036220

Датчик давления (переключатель, реле)

1шт.

18

VOE 11712577

Кольцо уплотнительное (О-кольцо)

1шт.

19

PJ 068109036

Шланг

1шт.

2

PJ 110666090

Gauze

1шт.

3

PJ 110666050

Пластина

1шт.

4

PJ 011300612

Болт

1шт.

5

PJ 140986581

Трубка

1шт.

6

PJ 052109072

Прокладка

1шт.

7

PJ 024600010

Гайка

1шт.

8

PJ 131996200

Сальник

1шт.

9

PJ 198436010

Пробка (заглушка)

1шт.

Выбрано товаров: 22