Запчасти Volvo EW50 105810 Гидробак EW50 TYPE 256

Схема запчастей Volvo EW50 - 105810 Гидробак EW50 TYPE 256
FIT
1:1
100%

Артикул

Название

Примечание

Количество

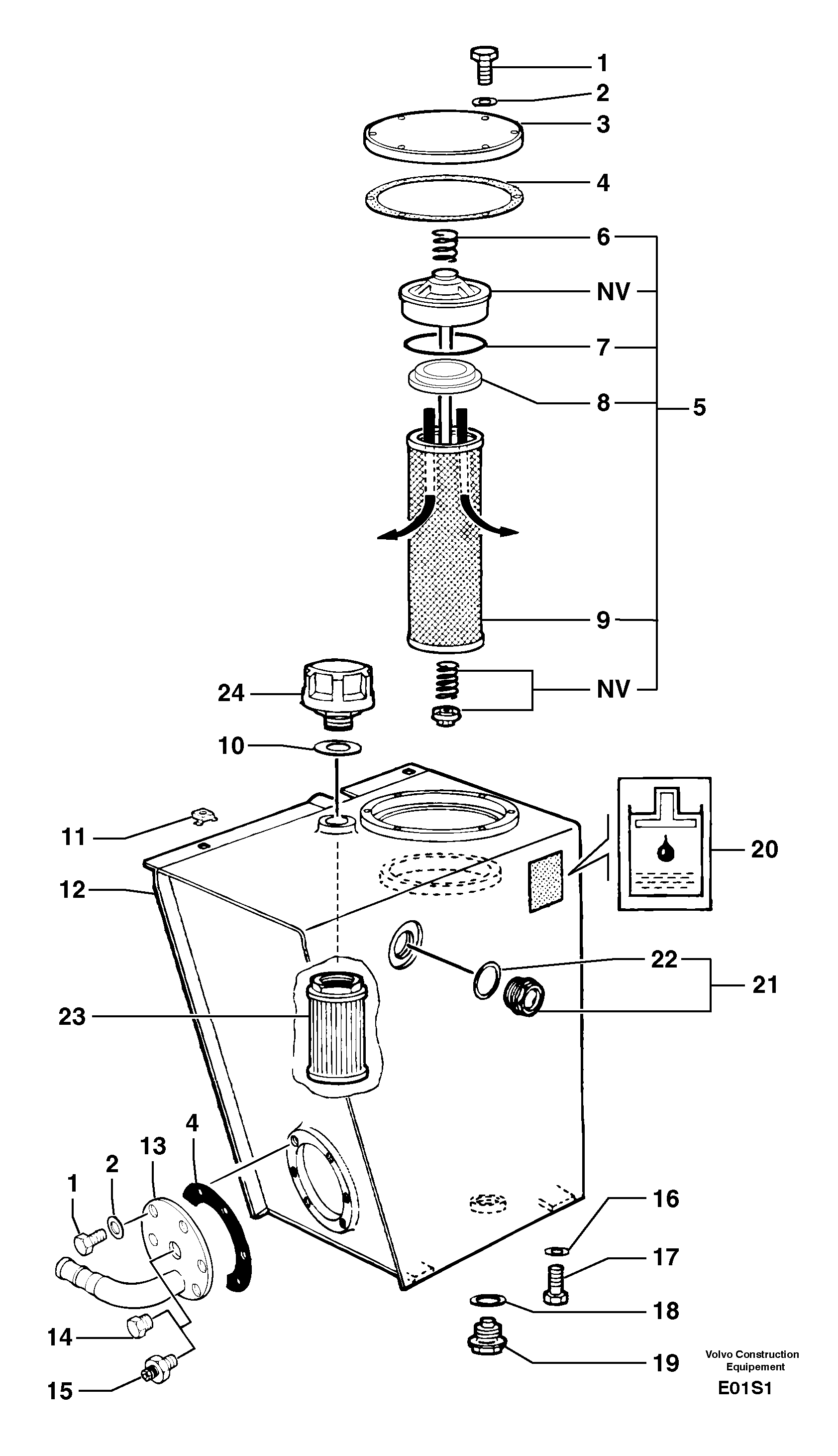
1

PJ 4380043

Болт

HM8X20

1шт.

10

VOE 944252

Прокладка

1шт.

11

VOE 11802283

Гайка

INCL IN 12, M8

1шт.

12

PJ 5020070

Hydr fluid tank

1шт.

13

PJ 3811193

Крышка

1шт.

14

VOE 11806335

Пробка (заглушка)

1шт.

15

PJ 5130068

Thermo Contact

1шт.

16

VOE 960148

Шайба

MU10

1шт.

16

VOE 960148

Шайба

MU10

1шт.

17

PJ 4380054

Болт

HM10X20

1шт.

18

PJ 5600010

Втулка

1шт.

19

PJ 4740032

Пробка (заглушка)

1шт.

2

VOE 11804257

Шайба

M8

1шт.

21

PJ 4770020

Level Inspection Glass

1шт.

22

PJ 7410873

Сальник

1шт.

23

PJ 6050037

Фильтр

1шт.

24

PJ 6050083

Venting

1шт.

3

PJ 4010050

Крышка

1шт.

4

PJ 5600054

Прокладка

1шт.

5

VOE 11715537

Фильтр масляный

1шт.

6

PJ 7415999

Пружина

1шт.

7

VOE 11714779

Кольцо уплотнительное (О-кольцо)

1шт.

8

PJ 7416001

Сальник

1шт.

9

PJ 6050108/5

Filter Kit

1шт.

9

VOE 11807425

Cartridge

1шт.

Выбрано товаров: 0