Качественные детали и логистика
Оригинальные и аналоговые запчасти с доставкой по России, Казахстану и Беларуси
©2022 PartSell ООО "Система" ИНН 2463123282 ОГРН 1212400004838
Центральный офис: г. Красноярск, Академика Киренского, д.87, пом.4
Телефон: 8 (800) 777-65-74 Email: zakaz@partsell.ru
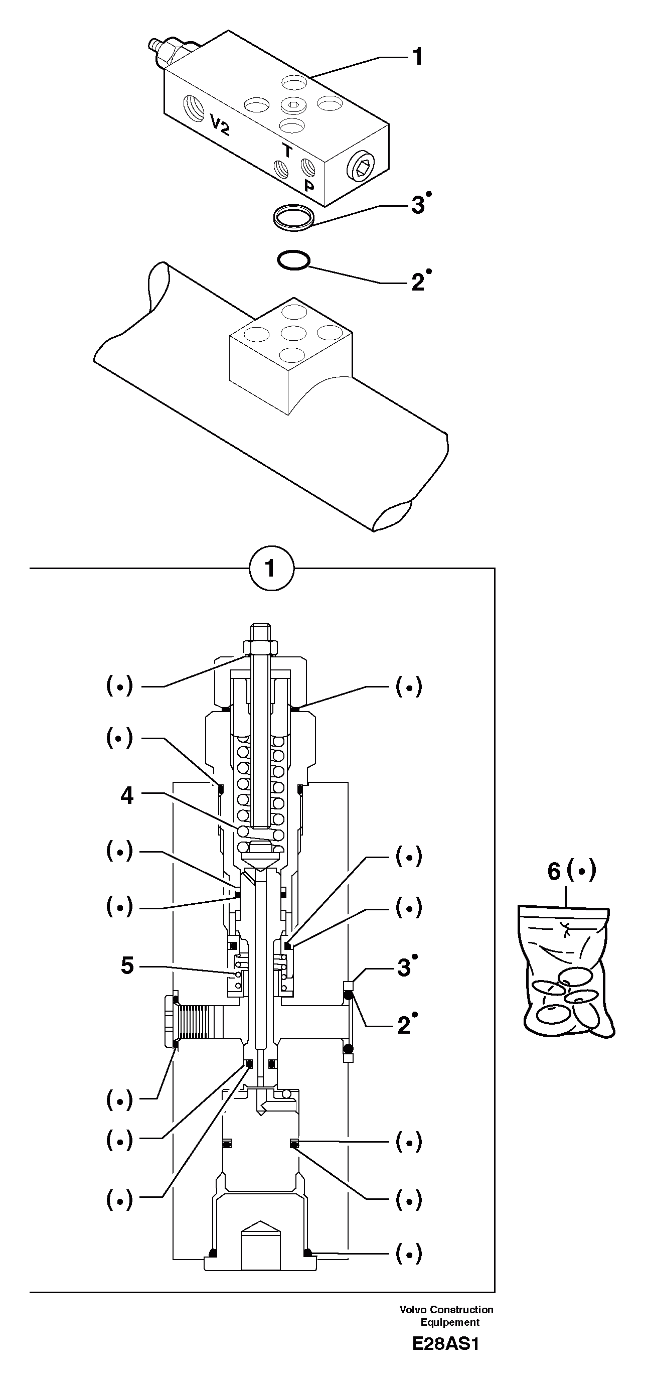
6904 Safety valve ( dipper arm cylinder )
№
Артикул
Название
Примечание
Количество
1
PJ 5360303
Клапан
ORDER PJ 5360333
1шт.
2
PJ 7416941
Кольцо уплотнительное (О-кольцо)
3
PJ 7416939
Back-up ring
4
PJ 7415934
Пружина
5
PJ 7416940
6
PJ 7416942
Sealing Kit
Выбрано товаров: 0