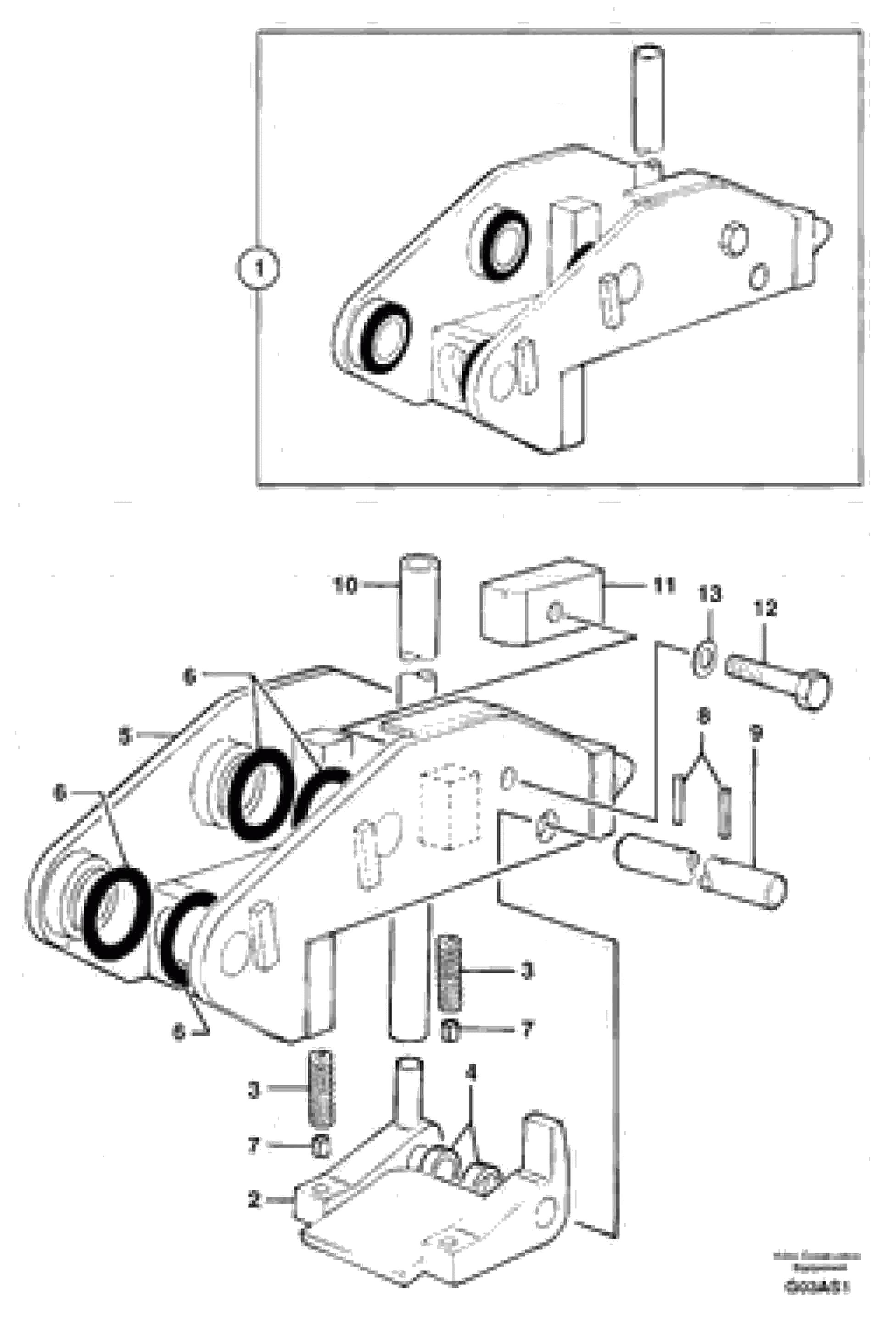
Запчасти Volvo EW50 105317 Tool holder / mechanical control EW50 TYPE 256

Схема запчастей Volvo EW50 - 105317 Tool holder / mechanical control EW50 TYPE 256
FIT
1:1
100%

Артикул

Название

Примечание

Количество

1

PJ 6660080

Quick attachment

1шт.

10

VOE 11803844

Lever

1шт.

11

VOE 11803876

Stop plate

1шт.

11

VOE 11803876

Stop plate

1шт.

12

PJ 4380090

Болт

HM16X35

1шт.

13

VOE 11803888

Шайба

M16

1шт.

13

VOE 11803888

Шайба

M16

1шт.

2

PJ 3811415

Detent

1шт.

3

VOE 11806487

Пружина

1шт.

3

VOE 11806487

Пружина

1шт.

4

VOE 11805707

Stop

1шт.

5

PJ 3810967

Опора

1шт.

6

PJ 4040054

Кольцо уплотнительное (О-кольцо)

1шт.

7

VOE 11806154

Палец

1шт.

8

PJ 4570032

Spring pin

1шт.

9

VOE 11805502

Stub Axle

1шт.

Выбрано товаров: 16