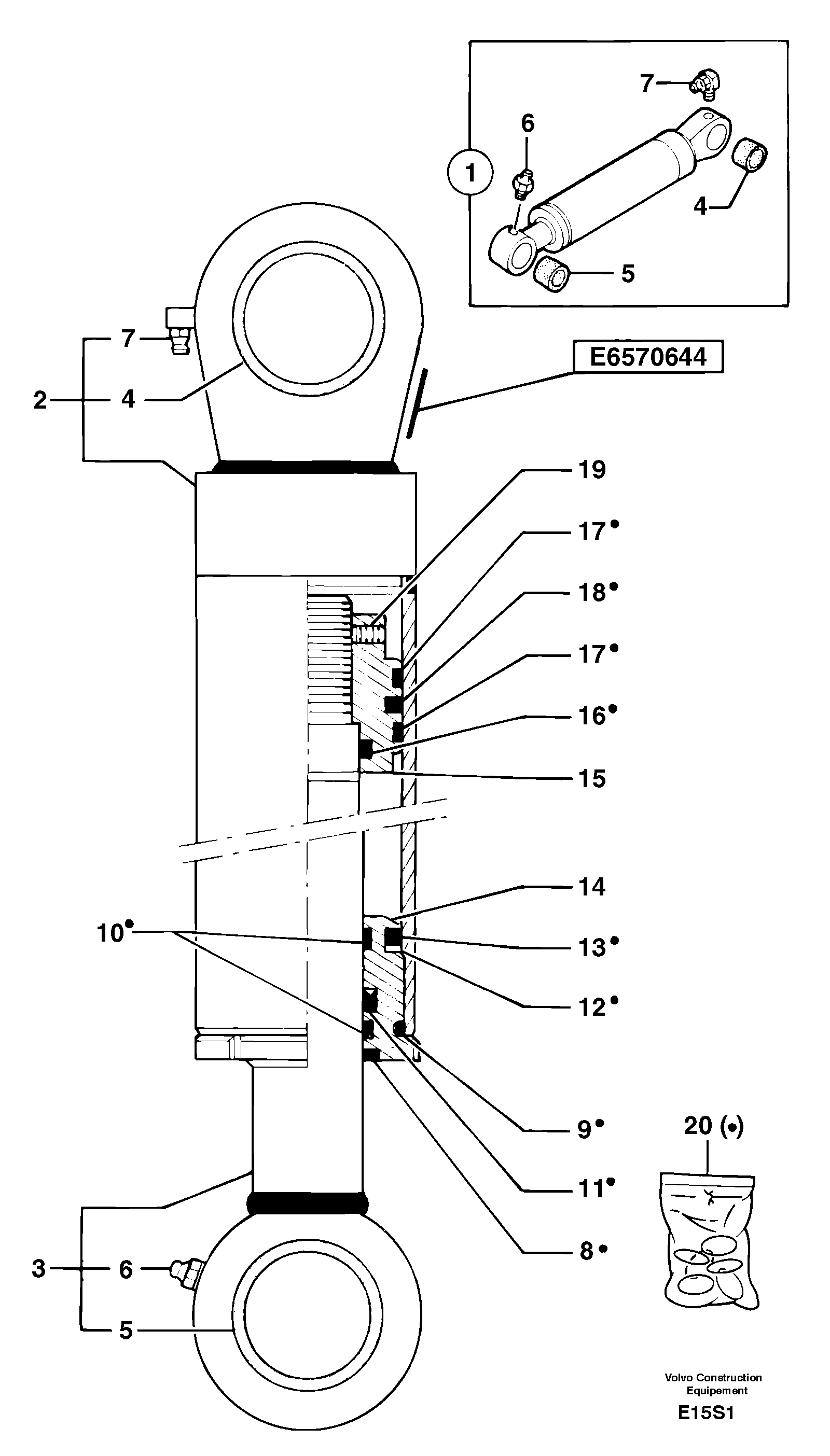
Запчасти Volvo EW50 12041 Цилиндр ковша EW50 TYPE 256

Схема запчастей Volvo EW50 - 12041 Цилиндр ковша EW50 TYPE 256
FIT
1:1
100%

Артикул

Название

Примечание

Количество

1

PJ 5670644

Цилиндр ковша

1шт.

14

PJ 7414563

Сальник

INCL IN 1

1шт.

15

PJ 7412489

Поршень

INCL IN 1

1шт.

19

PJ 7413211

Screw with pin

INCL IN 1

1шт.

20

PJ 7414565

Sealing kit

1шт.

3

PJ 7414619

Шток поршня

1шт.

4

PJ 3870083

Втулка

INCL IN 2

1шт.

5

PJ 3870083

Втулка

INCL IN 3

1шт.

6

PJ 5580005/50

Lubr. nipple kit

1шт.

6

VOE 983718

Lubricating nipple

INCL IN 3

1шт.

6

VOE 983718

Lubricating nipple

INCL IN 3

1шт.

7

PJ 5580006/50

Lubr. nipple kit

1шт.

7

VOE 983719

Lubricating nipple

INCL IN 2

1шт.

Выбрано товаров: 13