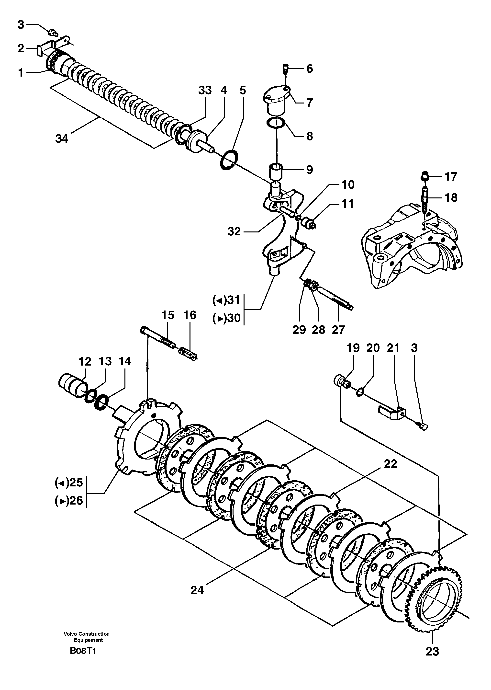
Запчасти Volvo EW50 57454 Тормоза переднего моста (1660) EW50VV TYPE 256

Схема запчастей Volvo EW50 - 57454 Тормоза переднего моста (1660) EW50VV TYPE 256
FIT
1:1
100%

Артикул

Название

Примечание

Количество

1

PJ 7413920

цилиндр

AX - Y-ITA-605467

1шт.

1

PJ 7416968

цилиндр

AX Y-ITA-605468 -

1шт.

10

PJ 7412217

Кольцо уплотнительное (О-кольцо)

1шт.

11

PJ 7412304

Пробка (заглушка)

1шт.

12

PJ 7416103

Поршень

1шт.

13

PJ 7413425

Кольцо уплотнительное (О-кольцо)

1шт.

14

PJ 7413426

Кольцо

1шт.

15

PJ 7413923

Болт

1шт.

16

PJ 7413918

Пружина

1шт.

17

PJ 7416128

Пробка (заглушка)

1шт.

18

PJ 7412424

Болт

1шт.

19

PJ 7413925

Шестерня

1шт.

2

PJ 7413899

Spring Clip

AX - Y-ITA-605467

1шт.

2

PJ 7416967

Spring Clip

AX Y-ITA-605468 -

1шт.

20

PJ 7413852

Кольцо уплотнительное (О-кольцо)

1шт.

21

PJ 7413926

Locking Plate

1шт.

22

PJ 7413912

Disc

1шт.

23

PJ 7413924

Втулка

1шт.

24

PJ 7413928

Brake disc

1шт.

25

PJ 7413914

Disc

LH

1шт.

26

PJ 7413915

Disc

RH

1шт.

27

PJ 7413921

Болт

1шт.

28

PJ 7413863

Гайка

1шт.

29

PJ 7413866

Шайба

1шт.

3

PJ 7413325

Болт

1шт.

30

PJ 7413917

Brake Lever

RH

1шт.

31

PJ 7413916

Brake Lever

LH

1шт.

32

PJ 7412303

Valve Needle

1шт.

33

PJ 7412219

Кольцо уплотнительное (О-кольцо)

1шт.

34

PJ 7413927

Пружина

1шт.

4

PJ 7413919

Поршень

1шт.

5

PJ 7413850

Кольцо уплотнительное (О-кольцо)

1шт.

6

PJ 7413329

Болт

1шт.

7

PJ 7413922

Втулка (распорная)

1шт.

8

PJ 7413291

Кольцо уплотнительное (О-кольцо)

1шт.

9

PJ 7413862

Втулка (распорная)

1шт.

Выбрано товаров: 36