Качественные детали и логистика
Оригинальные и аналоговые запчасти с доставкой по России, Казахстану и Беларуси
©2022 PartSell ООО "Система" ИНН 2463123282 ОГРН 1212400004838
Центральный офис: г. Красноярск, Академика Киренского, д.87, пом.4
Телефон: 8 (800) 777-65-74 Email: zakaz@partsell.ru
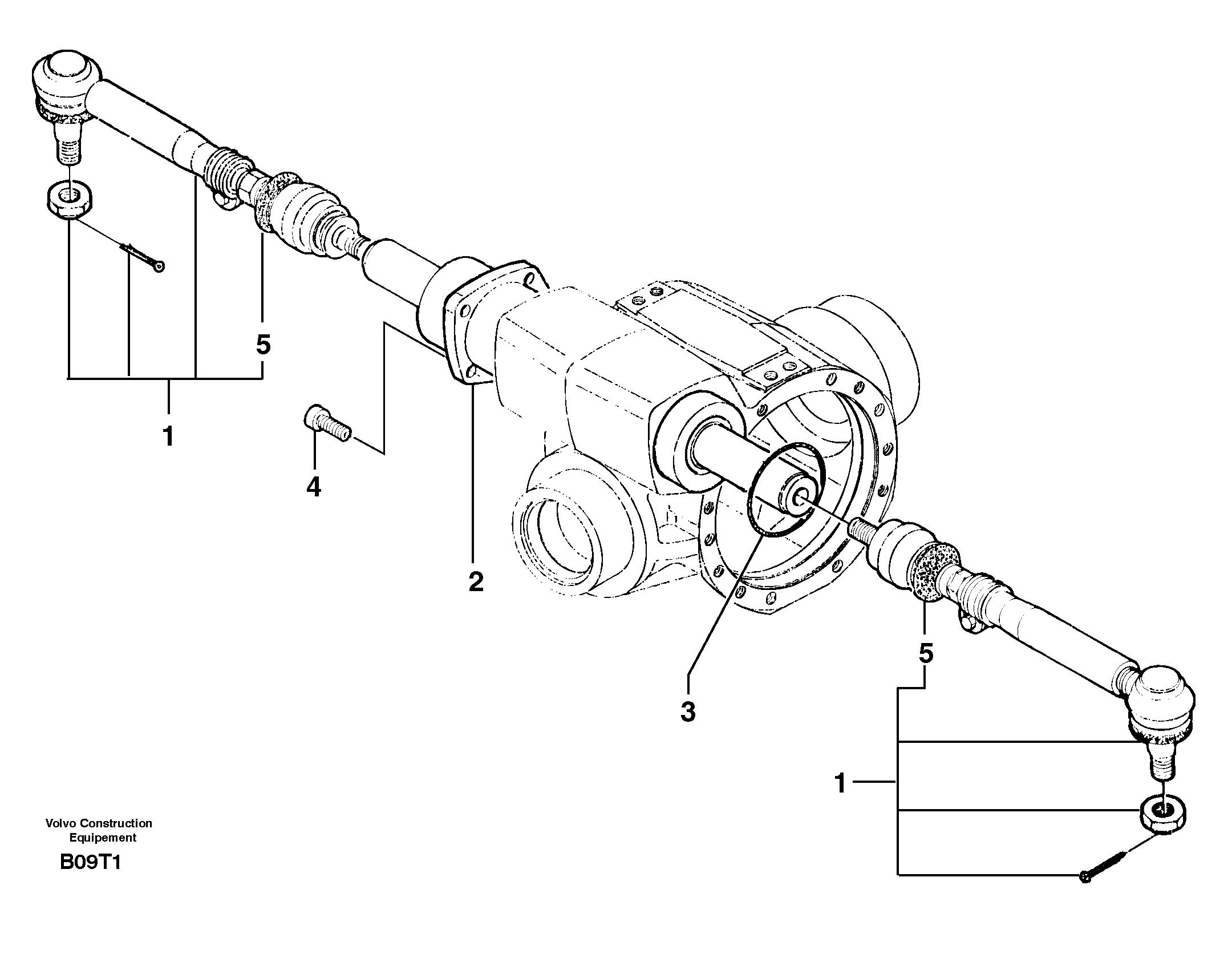
31866 Поворотный механизм переднего моста (1660)
№
Артикул
Название
Примечание
Количество
1
PJ 7416123
Карданные вал
1шт.
2
PJ 7416122
Coupling Piece
3
PJ 7416081
Кольцо уплотнительное (О-кольцо)
4
PJ 7416094
Болт
5
PJ 7416679
Bellow
Выбрано товаров: 0