Запчасти Volvo EW50 30203 Cab : accessories EW50VV TYPE 256

Схема запчастей Volvo EW50 - 30203 Cab : accessories EW50VV TYPE 256
FIT
1:1
100%

Артикул

Название

Примечание

Количество

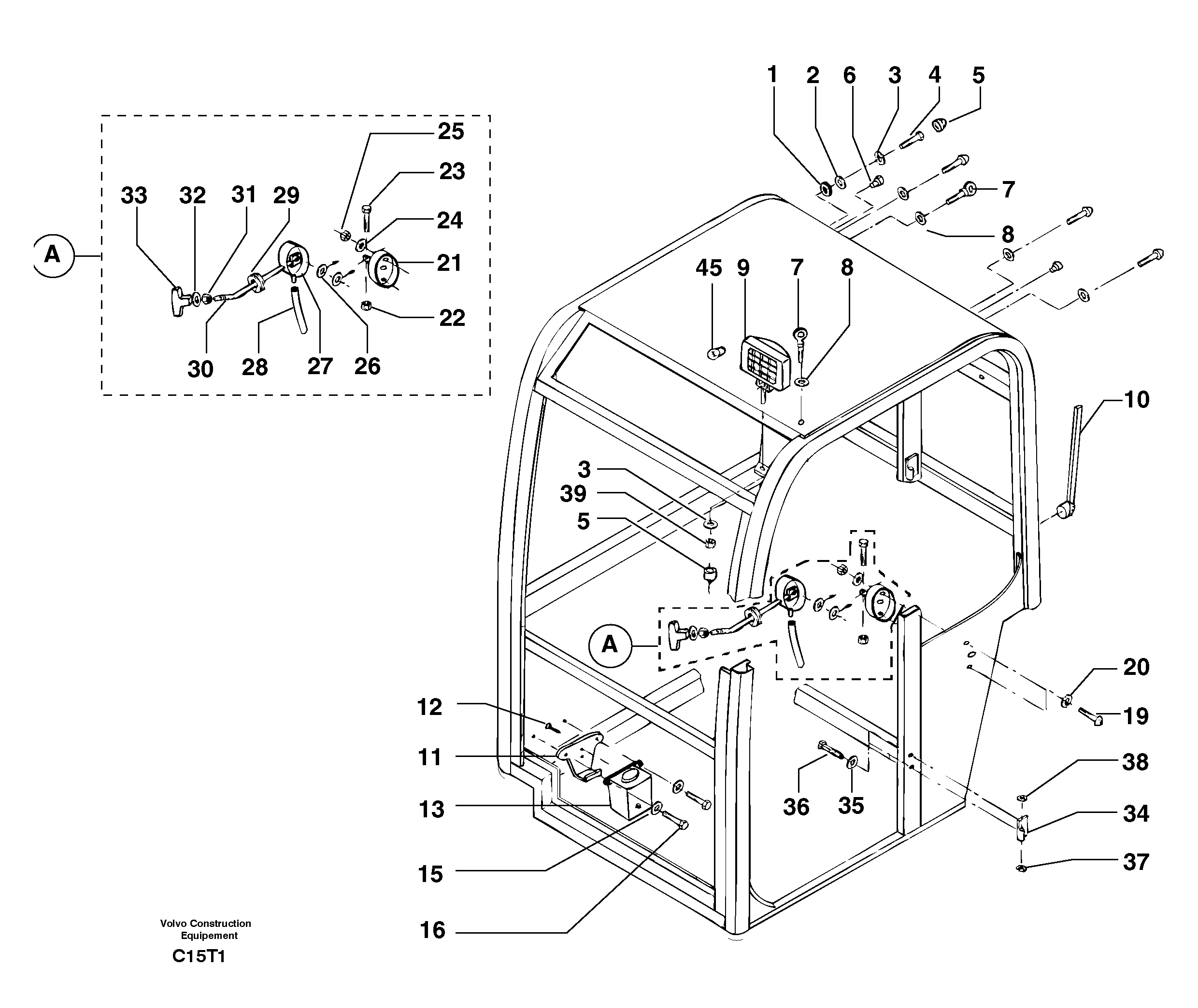
1

PJ 7412005

Шайба

1шт.

10

PJ 7411993

Antenna

1шт.

11

PJ 7412543

Опора

1шт.

13

PJ 7412541

Шайба лобового стекла (ветрового)

1шт.

15

PJ 7411680

Стопорная шайба (кольцо)

1шт.

16

PJ 4380020

Болт

HM5X10

1шт.

19

PJ 7415557

Болт

CBHC M6X30

1шт.

2

VOE 13955894

Шайба

MU8

1шт.

2

VOE 13955894

Шайба

MU8

1шт.

20

PJ 7413806

Шайба

1шт.

21

PJ 7415590

Latch

1шт.

22

VOE 955778

Hexagon nut

HM3

1шт.

22

VOE 955778

Hexagon nut

HM3

1шт.

23

PJ 7413695

Болт

HM3X12

1шт.

24

VOE 955892

Шайба

MU6

1шт.

24

VOE 955892

Шайба

MU6

1шт.

25

PJ 4450026

Lock nut

NYLSTOP M6

1шт.

26

PJ 7411677

Шайба

1шт.

27

PJ 7415575

Trigger protector

1шт.

28

PJ 7415570

Трубка

L = 600mm / 23,6220in

1шт.

29

PJ 7411689

Уплотнительная втулка

1шт.

3

PJ 7411682

Стопорная шайба (кольцо)

1шт.

30

PJ 7415610

Hand lever

1шт.

31

PJ 4410013

Гайка

HM6

1шт.

32

PJ 7411681

Стопорная шайба (кольцо)

1шт.

33

PJ 7415580

Handle

1шт.

34

PJ 7412015

Hinge-plate

1шт.

35

PJ 7413711

Шайба

1шт.

36

PJ 7414947

Болт

CBHC M8X40

1шт.

37

PJ 7415582

Кольцо стопорное

1шт.

38

PJ 7415558

Шайба

1шт.

39

VOE 983303

Гайка

HM8

1шт.

39

VOE 983303

Hexagon nut

HM8

1шт.

4

PJ 4380043

Болт

HM8X20

1шт.

45

PJ 5050009

Bulb

INCL IN 9

1шт.

5

VOE 11715553

Protecting cap

1шт.

5

VOE 11715553

Protecting cap

1шт.

6

PJ 7411997

Пробка (заглушка)

1шт.

7

PJ 7411973

Кольцо

1шт.

8

PJ 7413712

Шайба

1шт.

9

PJ 5170092

Working lights

1шт.

Выбрано товаров: 41