Запчасти Volvo EW50 32630 Safety valve ( dipper arm cylinder ) EW50VV TYPE 256

Схема запчастей Volvo EW50 - 32630 Safety valve ( dipper arm cylinder ) EW50VV TYPE 256
FIT
1:1
100%

Артикул

Название

Примечание

Количество

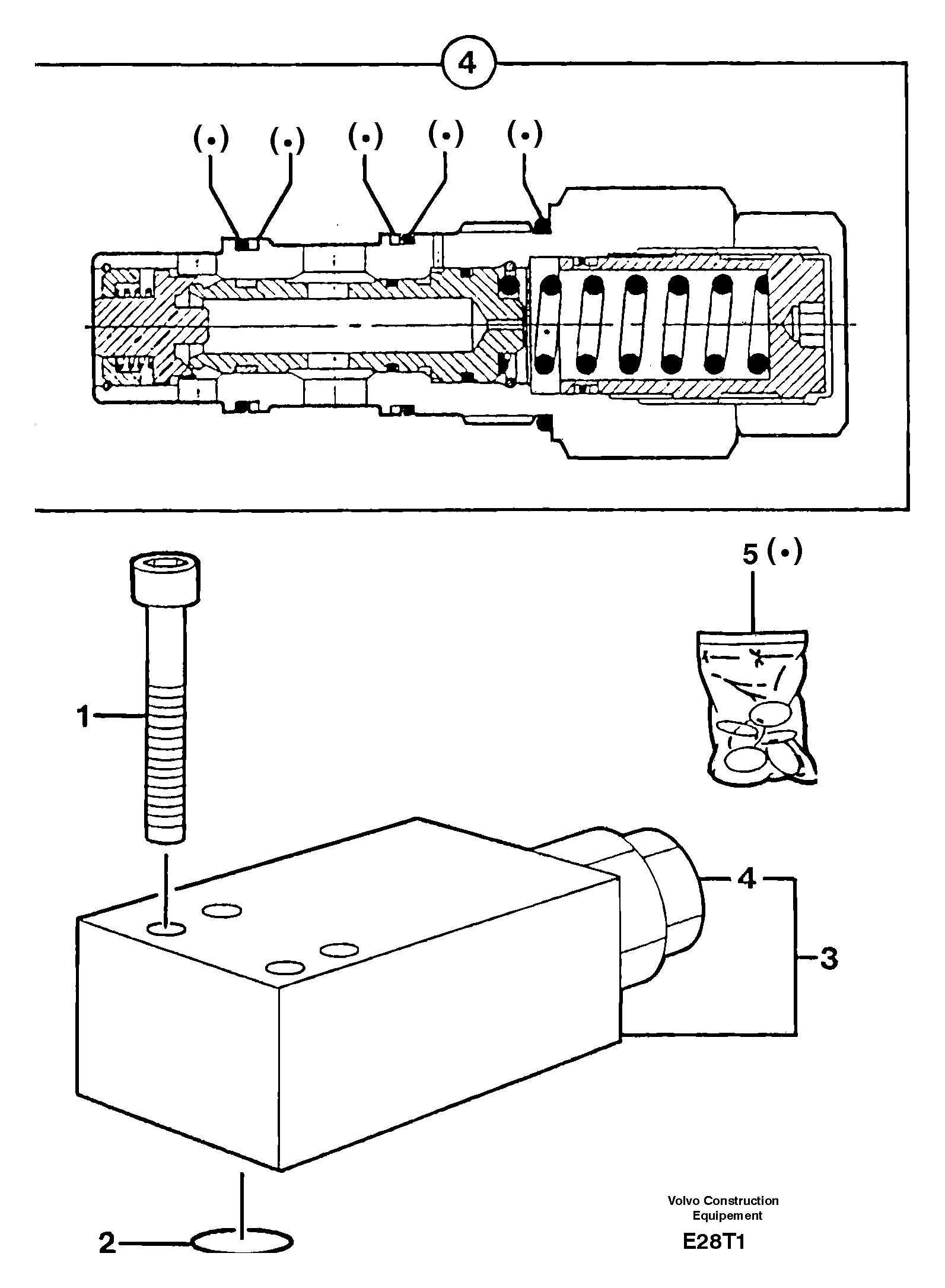
1

PJ 4290122

Болт

CHc M8X60

1шт.

2

VOE 945777

Кольцо уплотнительное (О-кольцо)

1шт.

3

PJ 6090077

Клапан

ORDER PJ 6812066

1шт.

4

PJ 5220024

Клапан предохранительный (разгрузочный, сброса давления)

ORDER PJ 6812066

1шт.

5

PJ 5960031

Sealing Kit

1шт.

Выбрано товаров: 5