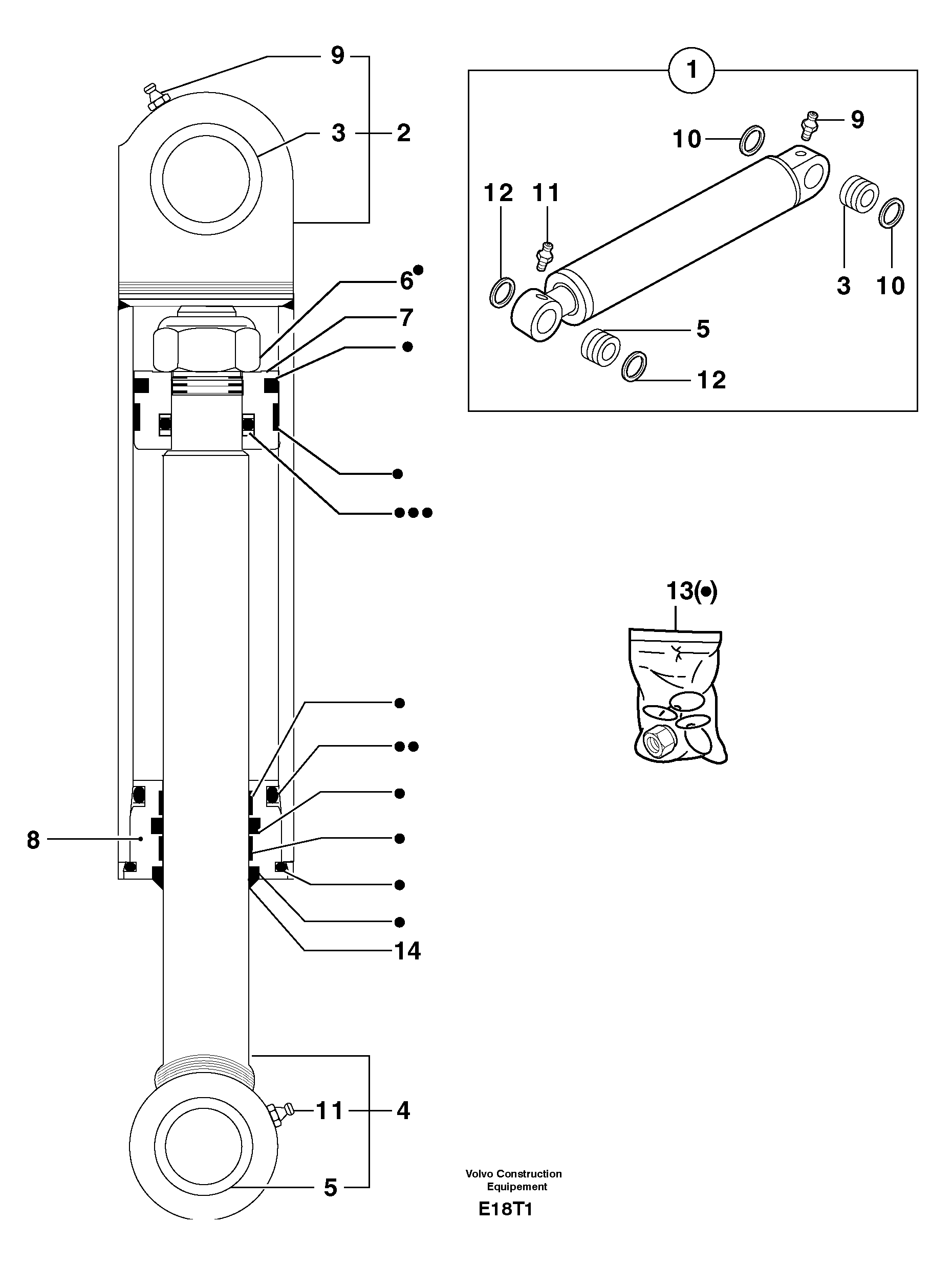
Запчасти Volvo EW50 32848 Intermediate boom cylinder EW50VV TYPE 256

Схема запчастей Volvo EW50 - 32848 Intermediate boom cylinder EW50VV TYPE 256
FIT
1:1
100%

Артикул

Название

Примечание

Количество

1

PJ 5670827

Intermediate boom ra

1шт.

10

VOE 11804699

Сальник

1шт.

11

VOE 983718

Lubricating nipple

1шт.

11

VOE 983718

Lubricating nipple

1шт.

12

VOE 11804699

Сальник

1шт.

13

PJ 5960093

Sealing Kit

1шт.

14

PJ 4740174

Protection

1шт.

2

PJ 5930268

Cylinder housing

1шт.

3

PJ 3870207

Втулка

1шт.

4

PJ 5940363

цилиндр

1шт.

5

PJ 3870207

Втулка

1шт.

6

PJ 4450064

Lock nut

NYLSTOP M27

1шт.

7

PJ 5950154

Поршень

1шт.

8

PJ 5950153

Сальник

1шт.

9

VOE 983718

Lubricating nipple

1шт.

9

VOE 983718

Lubricating nipple

1шт.

Выбрано товаров: 16