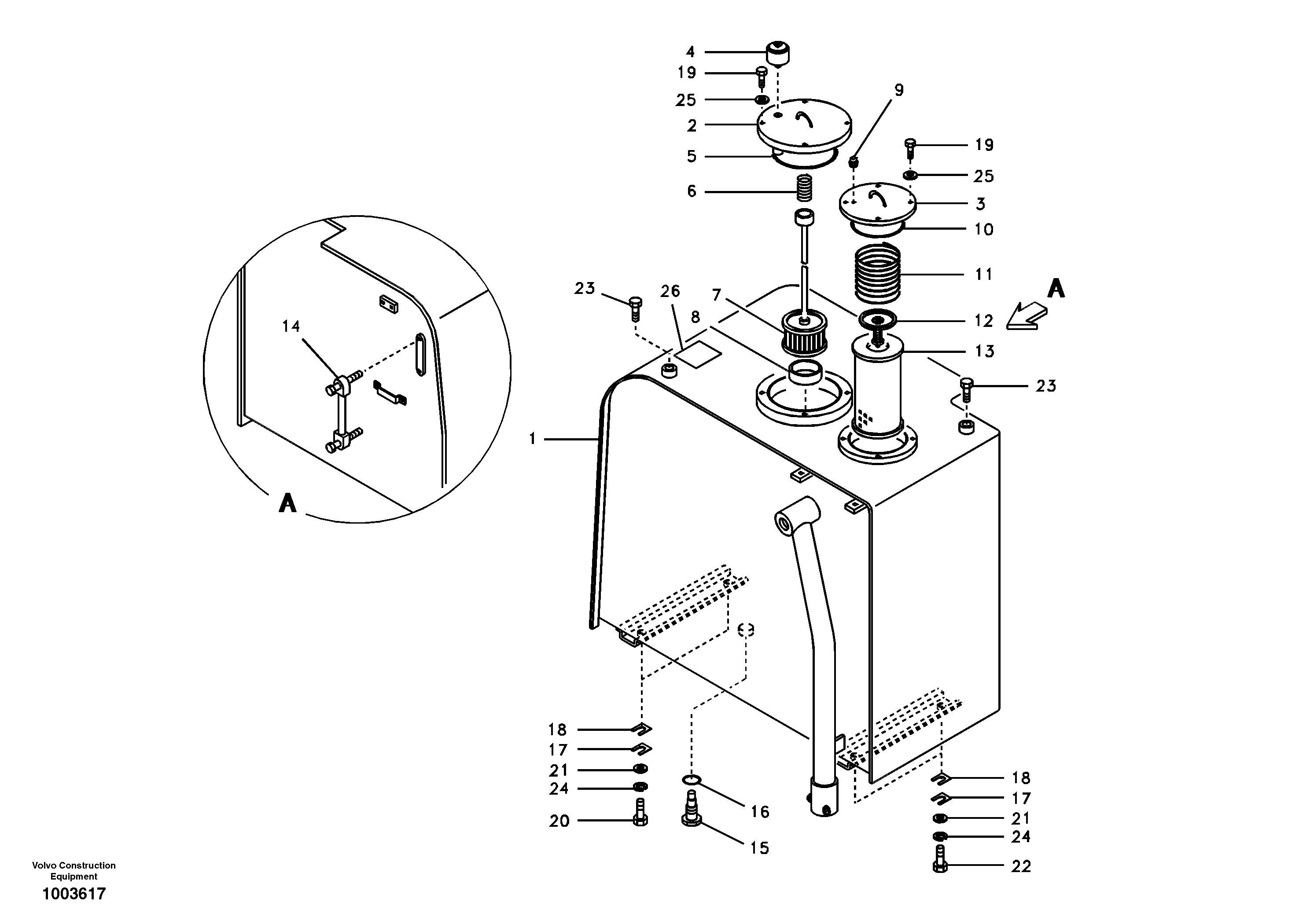
Запчасти Volvo EW55 SER NO 5630- 49029 Гидробак

Схема запчастей Volvo EW55 SER NO 5630- - 49029 Гидробак
FIT
1:1
100%

Артикул

Название

Примечание

Количество

SA 9011-11203

Болт

SER NO 5166-

1шт.

SA 1192-04700

Decal

1шт.

SA 1141-30090

Фильтр

1шт.

SA 1141-30131

Щуп

1шт.

SA 1192-04710

Decal

1шт.

1

VOE 14503186

Hydr fluid tank

1шт.

10

SA 9511-22135

Кольцо уплотнительное (О-кольцо)

1шт.

11

SA 1040-20240

Пружина

1шт.

11

SA 1040-20240

Пружина

1шт.

12

SA 1040-23870

Клапан

1шт.

13

SA 1040-20410

Фильтр масляный

1шт.

14

SA 1141-01720

Lvl Ind Pipe

1шт.

15

SA 1010-60030

Пробка (заглушка)

1шт.

16

SA 9511-12028

Кольцо уплотнительное (О-кольцо)

1шт.

17

SA 1040-20270

Прокладка

1шт.

18

SA 1040-20290

Прокладка

1шт.

19

VOE 983250

Винт шестигранник

1шт.

19

VOE 983250

Винт шестигранник

1шт.

2

SA 1141-30160

Крышка

1шт.

20

SA 9011-11407

Болт

1шт.

21

SA 9211-14000

Шайба

SER NO 5001-5082

1шт.

21

SA 9211-14000

Шайба

SER NO 5001-5082

1шт.

22

SA 9011-11408

Болт

1шт.

23

SA 9041-11204

Болт

SER NO 5001-5165

1шт.

24

SA 9213-14000

Шайба

1шт.

24

SA 9213-14000

Шайба пружинная

1шт.

25

SA 9211-10000

Шайба

SER NO 5487-

1шт.

25

SA 9211-10000

Шайба

SER NO 5487-

1шт.

26

SA 1192-04880

Decal

1шт.

3

SA 1040-22950

Крышка

1шт.

4

SA 1040-20311

Breather

1шт.

5

SA 9511-22190

Кольцо уплотнительное (О-кольцо)

1шт.

6

SA 1040-20360

Пружина

1шт.

7

SA 1141-30121

Фильтр

1шт.

8

SA 1041-00341

Пластина

1шт.

9

SA 1040-20380

Пробка (заглушка)

1шт.

Выбрано товаров: 36