Запчасти Volvo EW55B 4255 Fuel filling pump with assembling details

Схема запчастей Volvo EW55B - 4255 Fuel filling pump with assembling details
FIT
1:1
100%

Артикул

Название

Примечание

Количество

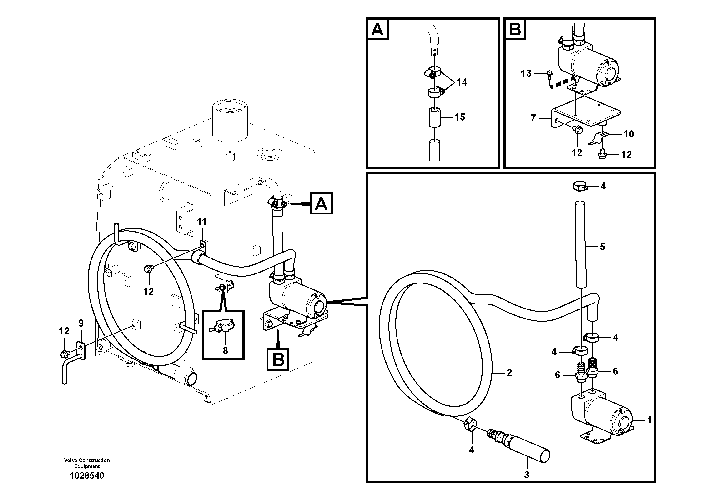
VOE 14517821

Fuel filling pump

1шт.

VOE 14517821

Fuel filling pump

1шт.

10

VOE 14529136

Скоба (хомут)

1шт.

11

VOE 14547765

Скоба (хомут)

1шт.

12

VOE 946471

Flange screw

1шт.

12

VOE 946471

Flange screw

1шт.

13

VOE 13946544

Болт

1шт.

13

VOE 13946544

Screw

1шт.

14

VOE 943473

Hose clamp

1шт.

14

VOE 943473

Hose clamp

1шт.

15

VOE 14529315

Уплотнительная втулка

1шт.

15

VOE 14529315

Уплотнительная втулка

1шт.

2

VOE 14517808

Шланг

1шт.

2

VOE 14517808

Шланг

1шт.

3

VOE 14517753

Клапан

1шт.

4

VOE 14517754

Скоба (хомут)

1шт.

5

VOE 14517820

Шланг

1шт.

6

VOE 14517747

Адаптер

1шт.

7

VOE 14529314

Кронштейн

1шт.

7

VOE 14529314

Кронштейн

1шт.

8

VOE 14502170

Toggle switch

1шт.

8

VOE 14502170

Toggle switch

1шт.

9

VOE 14529313

Stop

1шт.

Выбрано товаров: 23