Запчасти Volvo EW70 7546 Running board / tool box EW70 TYPE 262

Схема запчастей Volvo EW70 - 7546 Running board / tool box EW70 TYPE 262
FIT
1:1
100%

Артикул

Название

Примечание

Количество

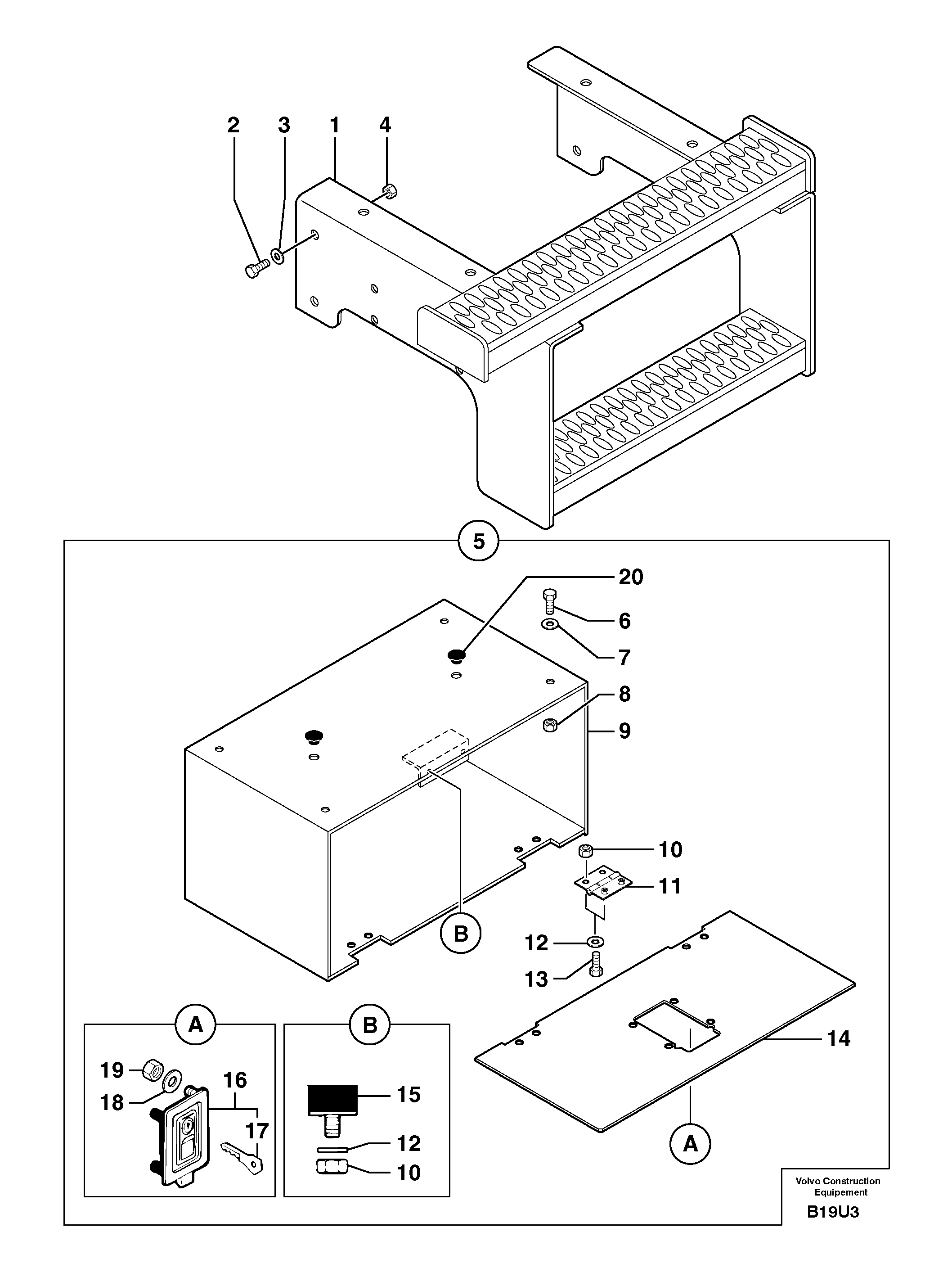
1

PJ 3811546

Foot Step

1шт.

10

PJ 4410013

Гайка

HM6

1шт.

11

PJ 4660027

Hinge

1шт.

12

VOE 955892

Шайба

MU6

1шт.

12

VOE 955892

Шайба

MU6

1шт.

13

PJ 4380031

Болт

HM6X16

1шт.

14

PJ 3280145

Door

1шт.

15

VOE 11806208

Stop

1шт.

16

PJ 6200037

Lock

1шт.

17

PJ 7414156

Wrench

1шт.

18

PJ 4490016

Шайба

M5

1шт.

19

PJ 4410010

Гайка

HM5

1шт.

2

PJ 4380052

Болт

HM10X25

1шт.

20

PJ 4740149

Пробка (заглушка)

1шт.

3

VOE 11807554

Шайба

M10

1шт.

4

VOE 983304

Hexagon nut

HM10

1шт.

4

VOE 983304

Hexagon nut

HM10

1шт.

5

PJ 6810051

Tool Box

1шт.

6

PJ 4380043

Болт

HM8X20

1шт.

7

VOE 11804257

Шайба

M8

1шт.

8

VOE 983303

Гайка

HM8

1шт.

8

VOE 983303

Hexagon nut

HM8

1шт.

9

PJ 5020065

Box

1шт.

Выбрано товаров: 23