Запчасти Volvo EW70 35647 Electrovalve : travel : forward / reverse EW70 TYPE 262

Схема запчастей Volvo EW70 - 35647 Electrovalve : travel : forward / reverse EW70 TYPE 262
FIT
1:1
100%

Артикул

Название

Примечание

Количество

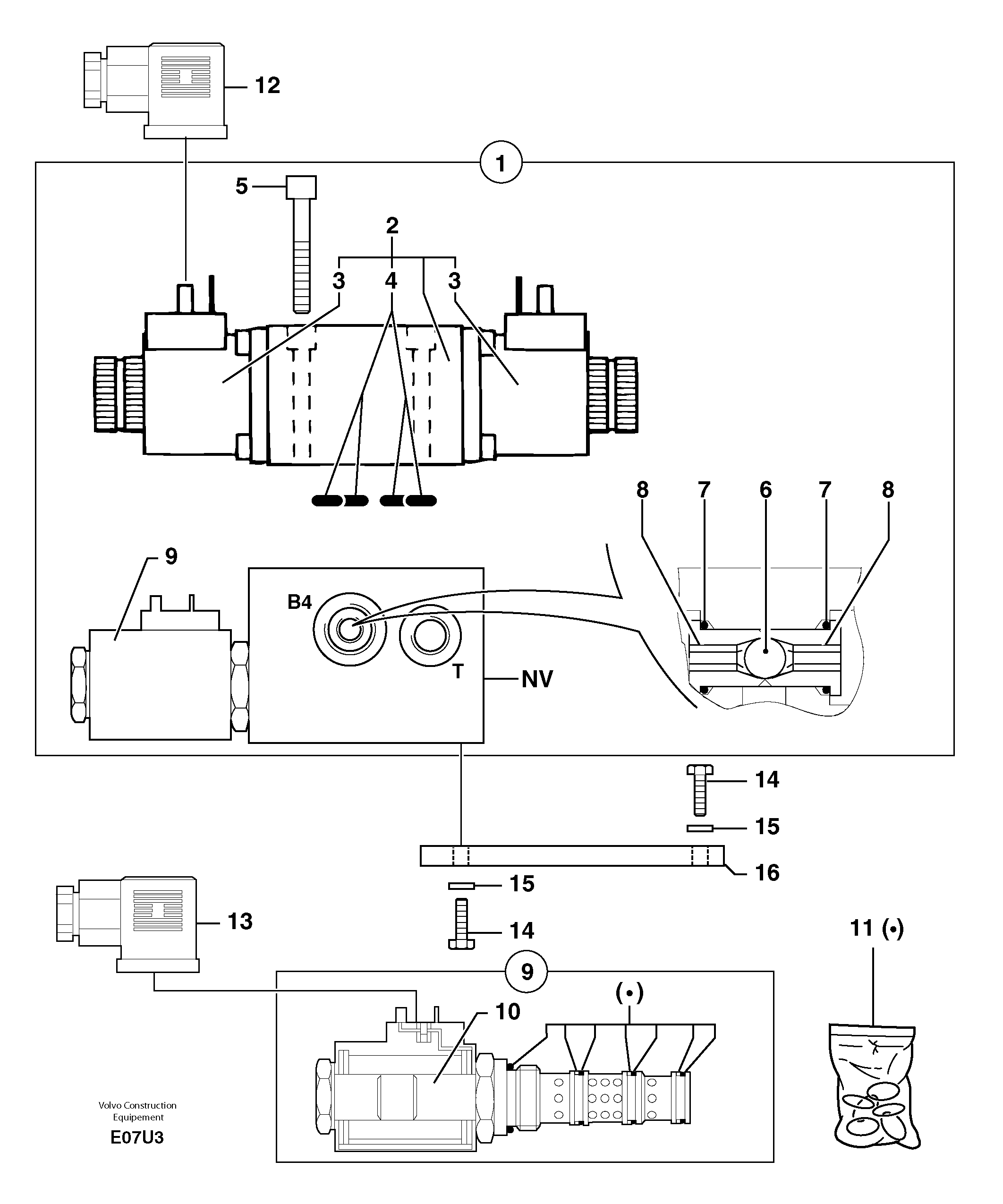
1

PJ 6090082

Electric valve

1шт.

10

PJ 5220013

Соленоид (электромагнитная катушка)

1шт.

11

PJ 5960044

Sealing kit

1шт.

12

PJ 5130051

Plug connector

1шт.

13

PJ 5130051

Plug connector

1шт.

14

PJ 4380042

Болт

HM8X16

1шт.

15

VOE 11804257

Шайба

M8

1шт.

16

PJ 3350036

Опора

1шт.

2

PJ 5220005

Distributor

1шт.

3

PJ 5220033

Соленоид (электромагнитный клапан)

1шт.

4

PJ 4040197

Кольцо уплотнительное (О-кольцо)

1шт.

5

PJ 4290117

Болт

CHc M5X45

1шт.

6

PJ 4100017

Ball

1шт.

7

PJ 4040080

Кольцо уплотнительное (О-кольцо)

1шт.

7

PJ 4040080

Кольцо уплотнительное (О-кольцо)

1шт.

8

PJ 4100016

Ball socket

1шт.

9

PJ 5220012

Клапан

1шт.

Выбрано товаров: 17