Запчасти Volvo EW70 12467 Гидронасос (основной насос) EW70 TYPE 262

Схема запчастей Volvo EW70 - 12467 Гидронасос (основной насос) EW70 TYPE 262
FIT
1:1
100%

Артикул

Название

Примечание

Количество

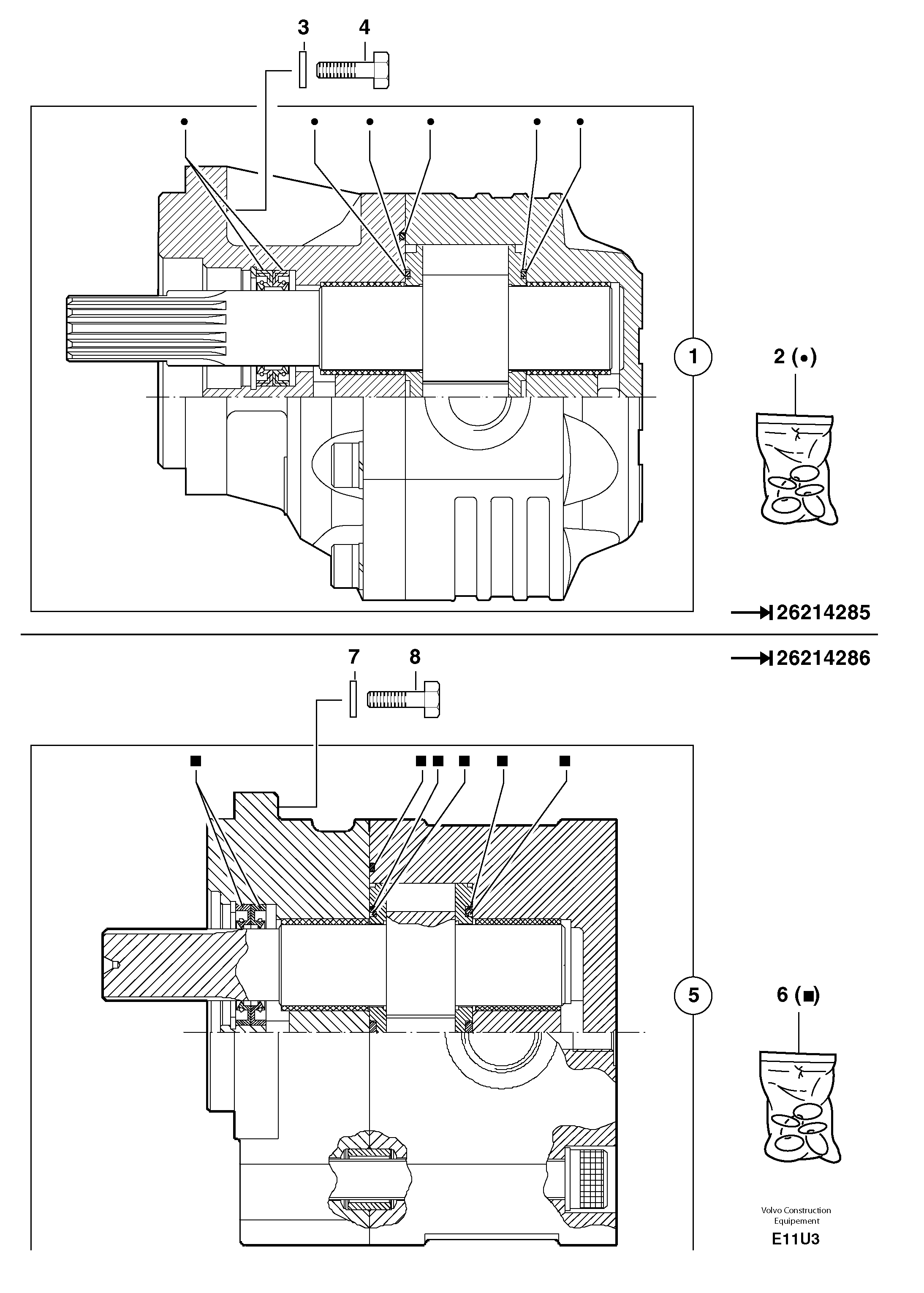
1

PJ 5350099

Гидронасос (основной насос)

ORDER ITEM NO 5

1шт.

2

PJ 7416395

Sealing Kit

S/N - 262.14285

1шт.

3

PJ 4490002

Шайба

S/N - 262.14285

1шт.

4

PJ 4380068

Болт

S/N - 262.14285

1шт.

5

PJ 5350138

Гидронасос (основной насос)

S/N 262.14286 -

1шт.

6

PJ 7418193

Sealing Kit

S/N 262.14286 -

1шт.

7

VOE 978932

Болт

S/N 262.14286 -

1шт.

7

VOE 978932

Винт шестигранник

S/N 262.14286 -

1шт.

8

PJ 4490002

Шайба

S/N 262.14286 -

1шт.

Выбрано товаров: 9