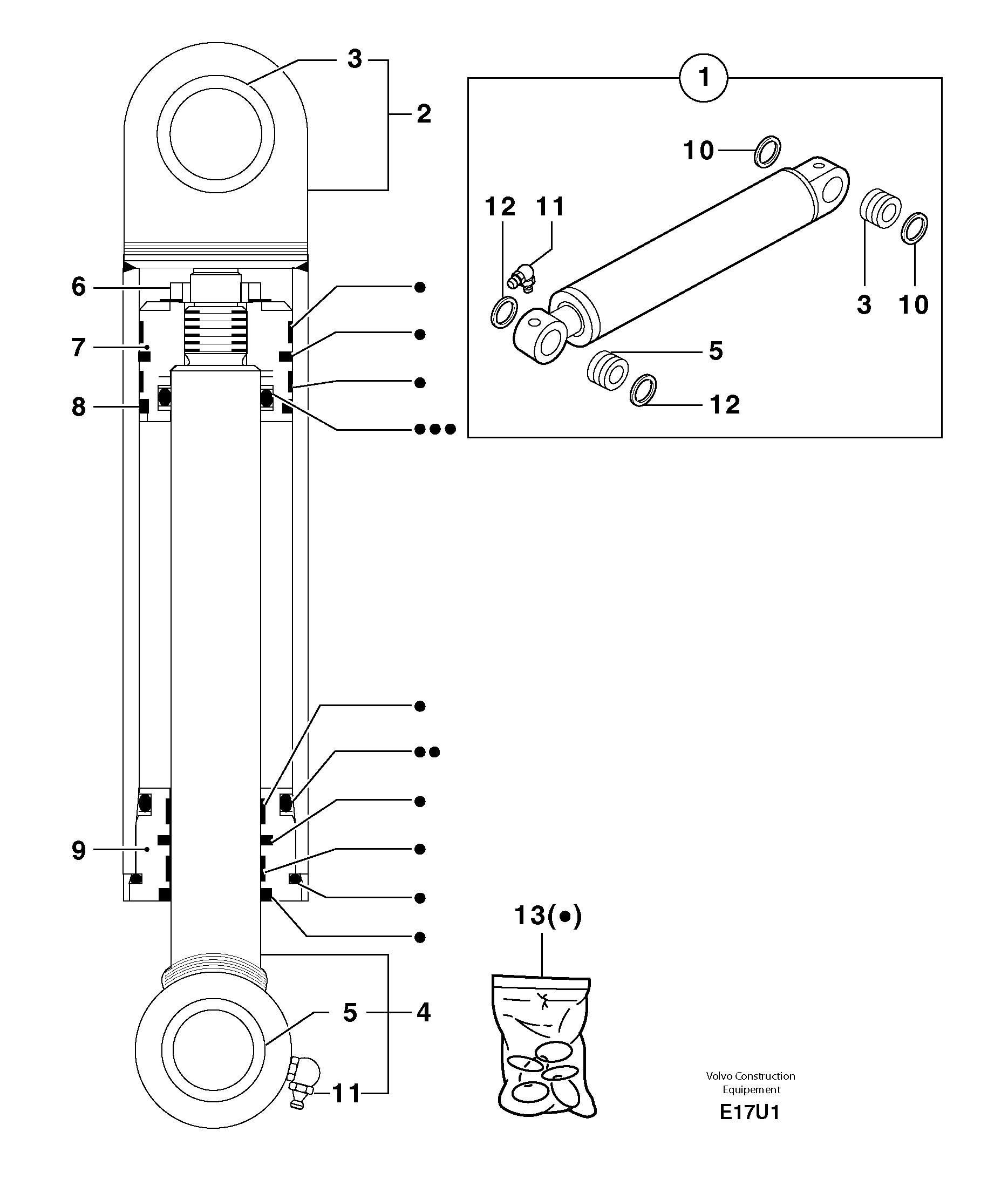
Запчасти Volvo EW70 10729 Boom offset cylinder EW70 TYPE 262

Схема запчастей Volvo EW70 - 10729 Boom offset cylinder EW70 TYPE 262
FIT
1:1
100%

Артикул

Название

Примечание

Количество

1

PJ 5670794

Гидроцилиндр

1шт.

10

PJ 6140036

Сальник

1шт.

11

VOE 983719

Lubricating nipple

1шт.

12

PJ 6140036

Сальник

1шт.

13

PJ 5960076

Sealing Kit

1шт.

2

PJ 5930226

Cylinder housing

1шт.

3

PJ 3870235

Втулка

1шт.

4

PJ 5940305

цилиндр

1шт.

5

PJ 3870235

Втулка

1шт.

6

PJ 5640216

Гайка

1шт.

7

PJ 5950134

Поршень

1шт.

8

PJ 5950135

Кольцо

1шт.

9

PJ 5950116

Сальник

1шт.

Выбрано товаров: 13