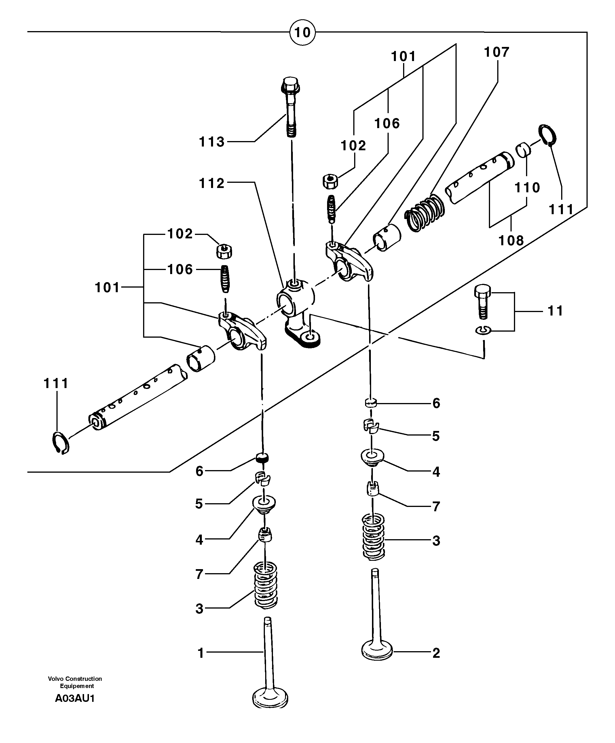
Запчасти Volvo EW70 10958 Ось (вал) коромысла EW70VV TYPE 262

Схема запчастей Volvo EW70 - 10958 Ось (вал) коромысла EW70VV TYPE 262
FIT
1:1
100%

Артикул

Название

Примечание

Количество

1

PJ 7416437

Клапан впускной

1шт.

10

PJ 7416418

Ось (вал) коромысла

1шт.

101

PJ 7416420

Коромысло клапанов

1шт.

102

PJ 7415320

Гайка

1шт.

106

PJ 7416433

Болт

1шт.

107

PJ 7415545

Пружина

1шт.

108

PJ 7416423

Ось (вал) коромысла

1шт.

11

PJ 7416430

Attachment kit

1шт.

110

PJ 7415331

Пробка (заглушка)

1шт.

111

PJ 7410135

Кольцо стопорное

1шт.

112

PJ 7416424

Опора

1шт.

113

PJ 7415546

Болт

1шт.

2

PJ 7416419

Клапан выпускной

1шт.

3

PJ 7416403

Пружина

1шт.

4

PJ 7416404

Cup

1шт.

5

PJ 7416427

Stop

1шт.

6

PJ 7416405

Пробка (заглушка)

1шт.

7

PJ 7416417

Сальник

1шт.

Выбрано товаров: 18