Запчасти Volvo EW70 7412 Hydraulic motor : travelling EW70VV TYPE 262

Схема запчастей Volvo EW70 - 7412 Hydraulic motor : travelling EW70VV TYPE 262
FIT
1:1
100%

Артикул

Название

Примечание

Количество

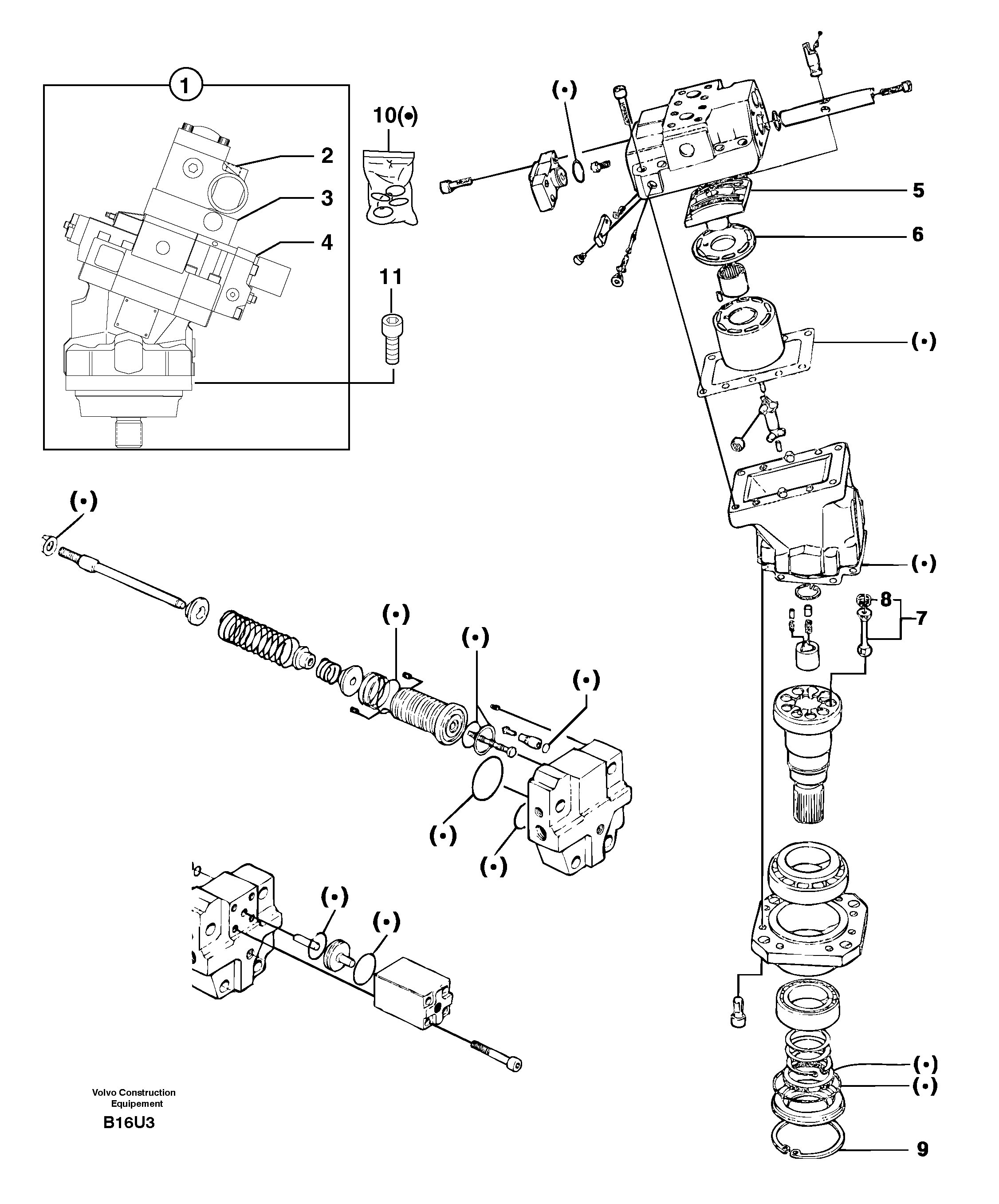
1

PJ 5370171

Гидромотор

1шт.

10

PJ 7416669

Sealing kit

1шт.

11

PJ 4290140

Болт

CHc M16X50

1шт.

2

PJ 7416672

Brake valve

1шт.

3

PJ 7416671

Safety Valve

1шт.

4

PJ 7416670

Regulator

1шт.

5

PJ 7416668

Segment

1шт.

6

PJ 7416667

Пластина

1шт.

7

PJ 7416666

Поршень

1шт.

8

PJ 7416665

Piston ring

1шт.

9

PJ 7416673

Кольцо стопорное

1шт.

Выбрано товаров: 11