Запчасти Volvo EW70 17664 Supplement concerning handling operations / option EW70VV TYPE 262

Схема запчастей Volvo EW70 - 17664 Supplement concerning handling operations / option EW70VV TYPE 262
FIT
1:1
100%

Артикул

Название

Примечание

Количество

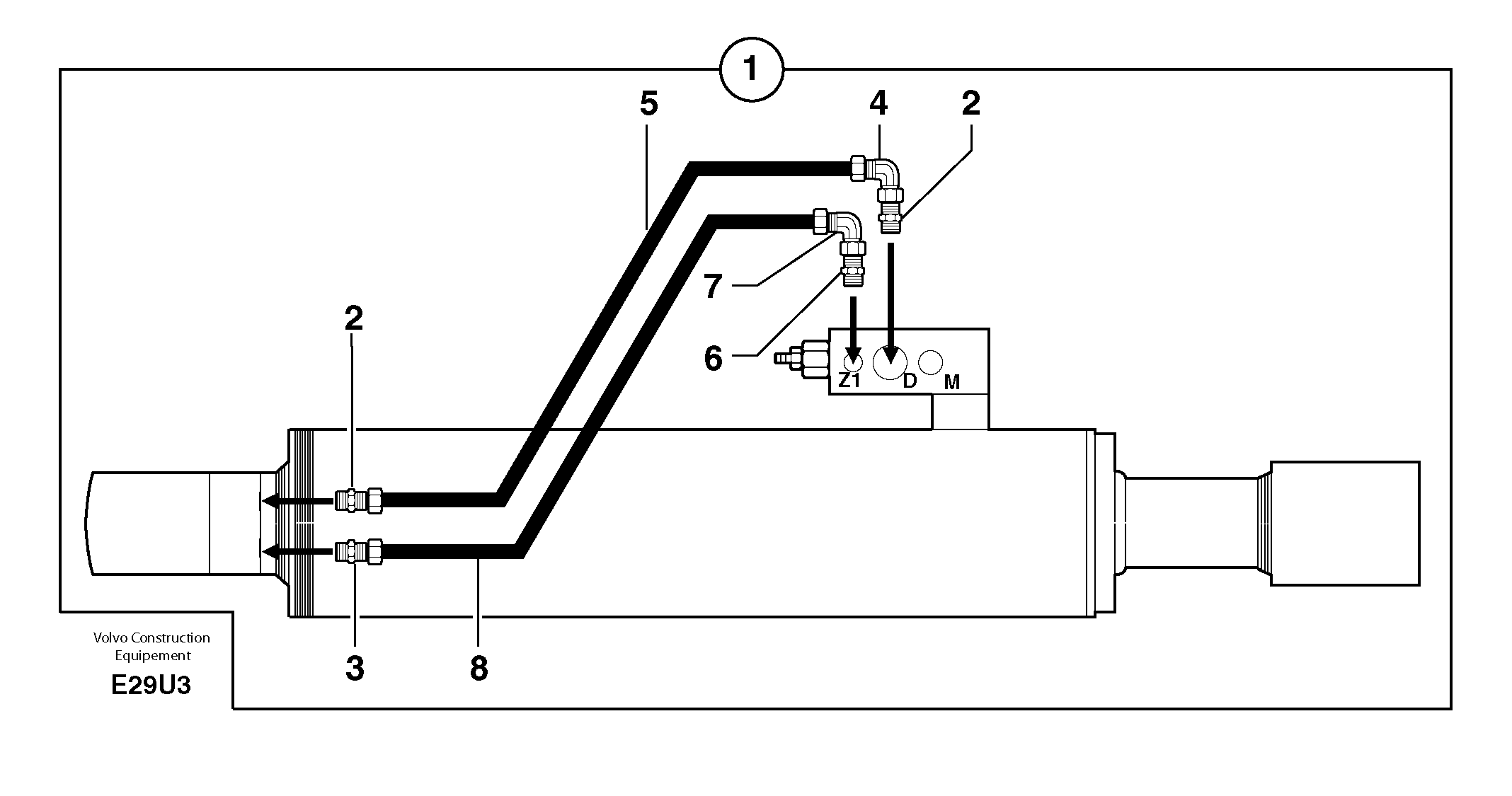
1

PJ 6820128AC

Safety device

ORDER PJ 6822057

1шт.

2

PJ 4750413

Переходник масляного фильтра

1шт.

3

PJ 4750055

Переходник масляного фильтра

1шт.

4

PJ 4700035

Elbow

1шт.

5

PJ 5910601

Трубка

1шт.

6

PJ 4750342

Переходник масляного фильтра

1шт.

7

PJ 4700015

Elbow

1шт.

8

PJ 5910600

Трубка

1шт.

Выбрано товаров: 8