Запчасти Volvo EW70 89492 Hydr. circuit ( attachment ) EW70VV TYPE 262

Схема запчастей Volvo EW70 - 89492 Hydr. circuit ( attachment ) EW70VV TYPE 262
FIT
1:1
100%

Артикул

Название

Примечание

Количество

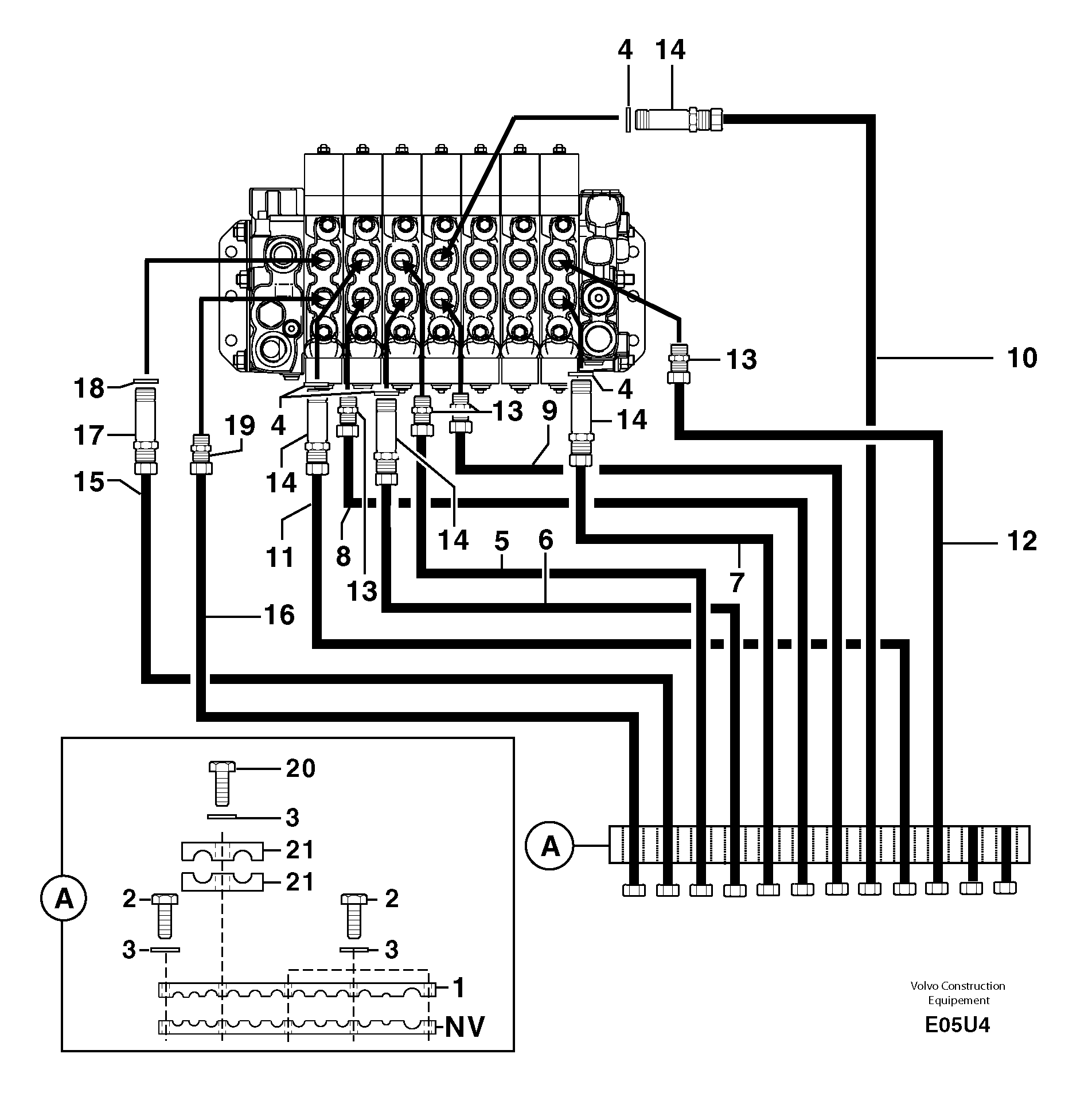
1

PJ 4690401

Фланец

1шт.

10

PJ 5910573

Трубка

1шт.

11

PJ 5910574

Трубка

1шт.

12

PJ 5910575

Трубка

1шт.

13

PJ 4750413

Переходник масляного фильтра

1шт.

14

PJ 4750575

Extension Bar

1шт.

15

PJ 5910721

Трубка

1шт.

16

PJ 5910722

Трубка

1шт.

17

PJ 4750076

Адаптер

1шт.

18

VOE 943908

Прокладка

1шт.

19

VOE 11806402

Переходник масляного фильтра

1шт.

2

PJ 4380048

Болт

HM8X45

1шт.

20

PJ 4380040

Болт

HM8X70

1шт.

21

PJ 4690108

Фланец

1шт.

3

VOE 11804257

Шайба

M8

1шт.

4

VOE 943908

Прокладка

1шт.

5

PJ 5910568

Трубка

1шт.

6

PJ 5910569

Трубка

1шт.

7

PJ 5910570

Трубка

1шт.

8

PJ 5910571

Трубка

1шт.

9

PJ 5910572

Трубка

1шт.

Выбрано товаров: 21