Запчасти Volvo EW70 3424 Головка блока цилиндров EW70 TYPE 262

Схема запчастей Volvo EW70 - 3424 Головка блока цилиндров EW70 TYPE 262
FIT
1:1
100%

Артикул

Название

Примечание

Количество

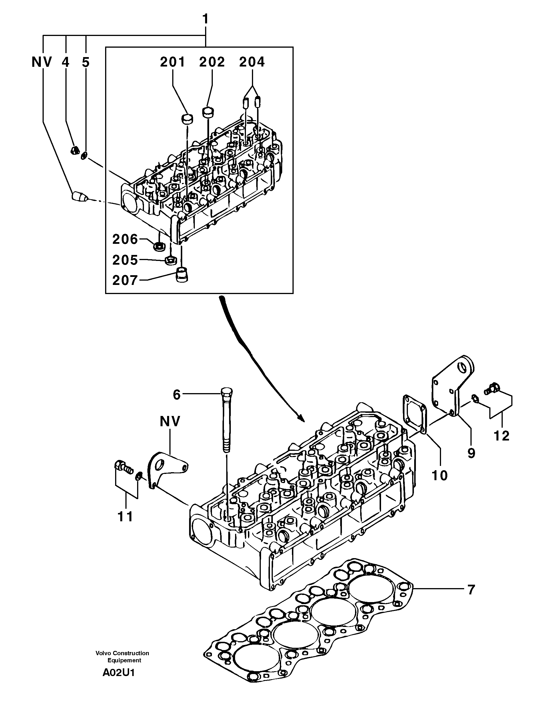
1

PJ 7416406

Головка блока цилиндров

1шт.

10

PJ 7416410

Сальник

1шт.

11

PJ 7416429

Attachment kit

1шт.

12

PJ 7416436

Attachment kit

1шт.

201

PJ 7410143

Пробка (заглушка)

1шт.

202

PJ 7410144

Пробка (заглушка)

1шт.

204

PJ 7416408

Giude

1шт.

205

PJ 7416412

Valve seat

1шт.

206

PJ 7416413

Valve seat

1шт.

207

PJ 7416416

Jet

1шт.

4

PJ 7416434

Пробка (заглушка)

1шт.

5

PJ 7416242

Сальник

1шт.

6

PJ 7416407

Болт

1шт.

7

PJ 7416409

Прокладка головки цилиндра

1шт.

9

PJ 7416411

Hook

1шт.

Выбрано товаров: 15