Запчасти Volvo EW70 48093 Блок цилиндров EW70 TYPE 262

Схема запчастей Volvo EW70 - 48093 Блок цилиндров EW70 TYPE 262
FIT
1:1
100%

Артикул

Название

Примечание

Количество

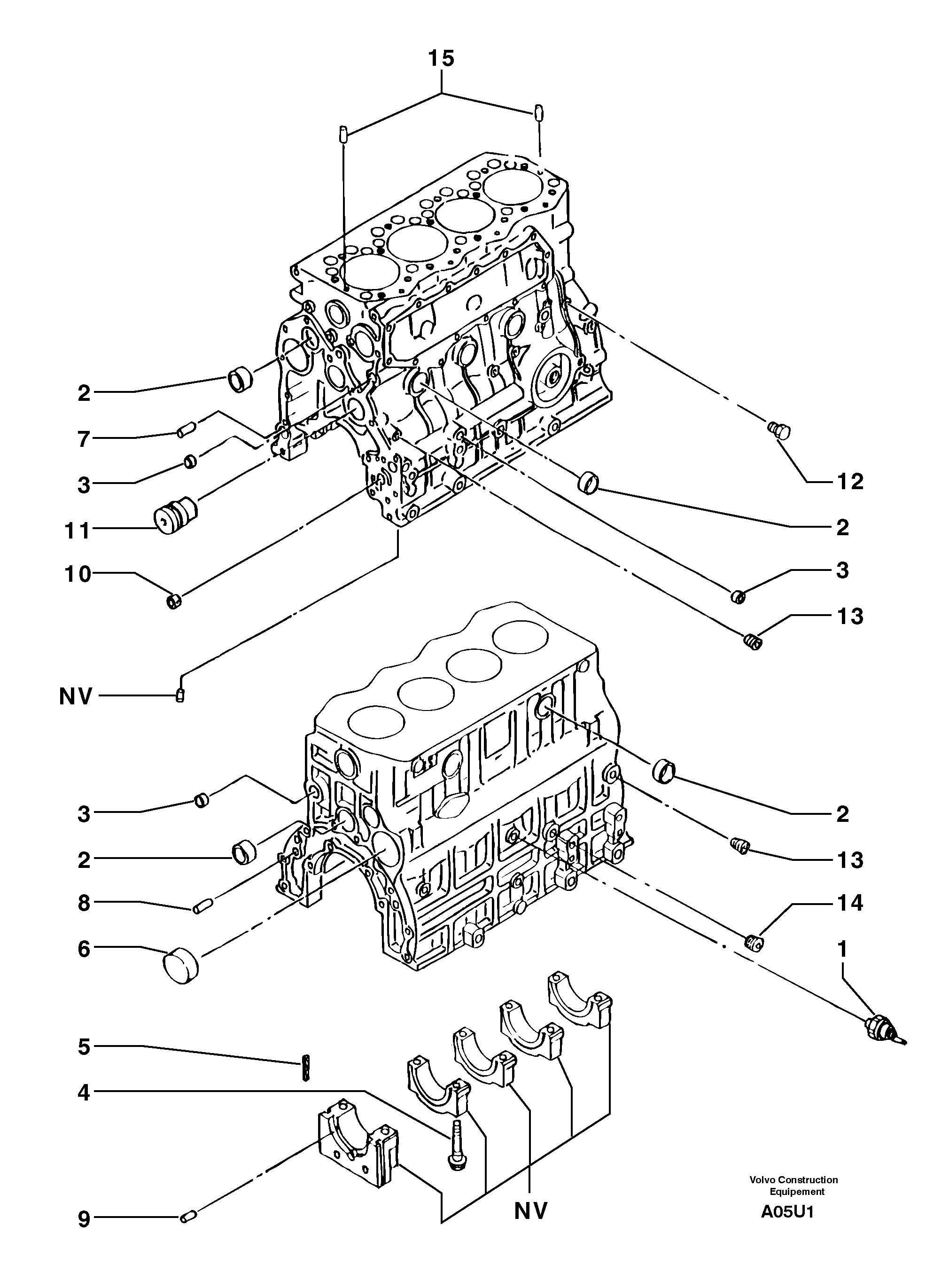
1

PJ 7415348

Датчик давления (переключатель, реле)

1шт.

10

PJ 7416438

Втулка

1шт.

11

PJ 7416449

Вал

1шт.

12

PJ 7410039

Пробка (заглушка)

1шт.

13

PJ 7410691

Пробка (заглушка)

1шт.

14

PJ 7416453

Пробка (заглушка)

1шт.

15

PJ 7415322

Centraliser

1шт.

2

PJ 7415329

Пробка (заглушка)

ENG - 35169

1шт.

2

PJ 7417807

Пробка (заглушка)

ENG 35170 -

1шт.

3

PJ 7417928

Пробка (заглушка)

ENG 35170 -

1шт.

3

PJ 7415327

Пробка (заглушка)

ENG - 35169

1шт.

4

PJ 7416440

Болт

1шт.

5

PJ 7416441

Сальник

1шт.

6

PJ 7416450

Пробка (заглушка)

1шт.

7

PJ 7416439

Lock

1шт.

8

PJ 7416451

Lock

ENG - 35169

1шт.

8

PJ 7418129

Lock

ENG 35170 -

1шт.

9

PJ 7416452

Stub Axle

1шт.

Выбрано товаров: 18