Качественные детали и логистика
Оригинальные и аналоговые запчасти с доставкой по России, Казахстану и Беларуси
©2022 PartSell ООО "Система" ИНН 2463123282 ОГРН 1212400004838
Центральный офис: г. Красноярск, Академика Киренского, д.87, пом.4
Телефон: 8 (800) 777-65-74 Email: zakaz@partsell.ru
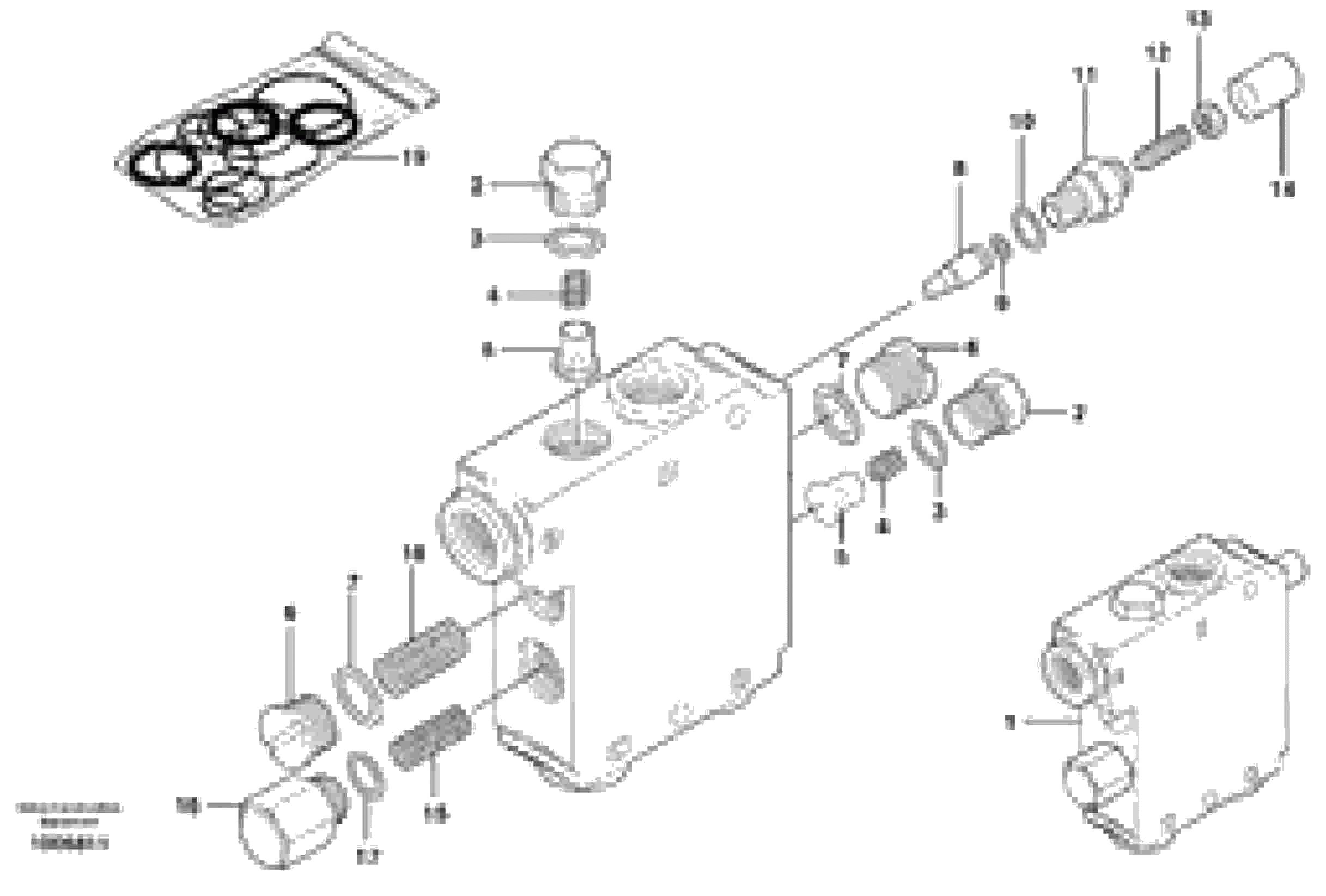
38942 Self level valve
№
Артикул
Название
Примечание
Количество
1
VOE 11842067
Клапан
1шт.
11
VOE 11710622
Adjusting nut
12
VOE 11710624
установочный винт
13
VOE 11710623
Гайка
15
VOE 11710626
Пружина
16
VOE 11710632
Пробка (заглушка)
18
VOE 11710619
19
VOE 11710634
Комплект колец уплотнительных
2
VOE 11710629
4
VOE 11710630
5
VOE 11710628
Delivery valve
6
VOE 11710625
8
VOE 11710620
Палец
Выбрано товаров: 0