Запчасти Volvo MC70 106309 Drivetrain components

Схема запчастей Volvo MC70 - 106309 Drivetrain components
FIT
1:1
100%

Артикул

Название

Примечание

Количество

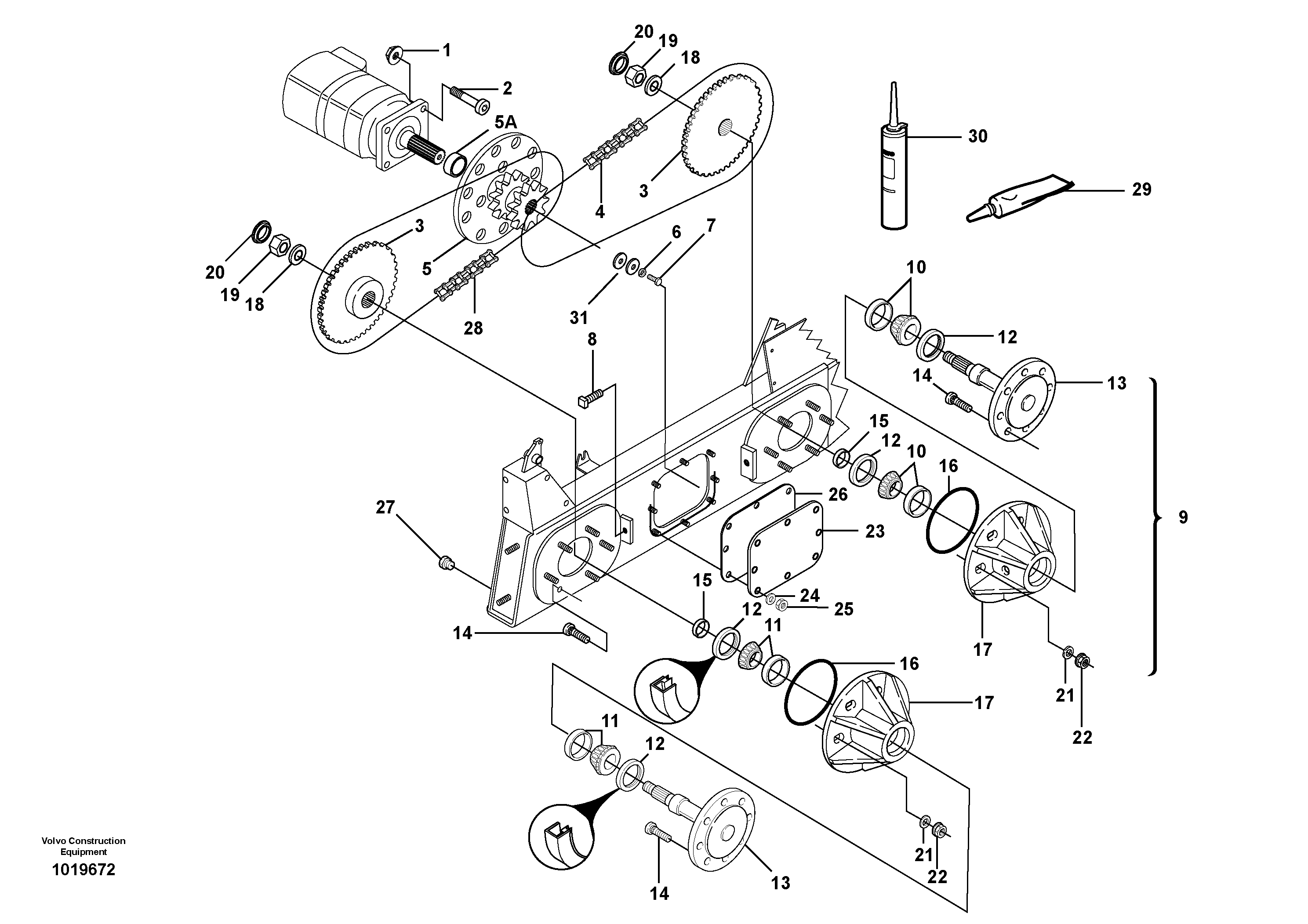
VOE 11842915

Шпилька

1шт.

VOE 11853077

Шпилька колеса

BRA

1шт.

1

VOE 11841670

Lock nut

1шт.

10

VOE 181006

Подшипник

1шт.

10

VOE 181006

Подшипник

1шт.

11

VOE 181006

Подшипник

1шт.

11

VOE 181006

Подшипник

1шт.

12

VOE 11841832

Lip seal

1шт.

13

VOE 11841250

Мост (ось)

1шт.

14

VOE 11842171

Шпилька колеса

USA

1шт.

15

VOE 11841072

Вставка

1шт.

16

VOE 983534

Кольцо уплотнительное (О-кольцо)

1шт.

17

VOE 11840625

Мост (ось)

1шт.

18

VOE 11841632

Шайба

1шт.

19

VOE 11841615

Hexagon nut

1шт.

2

VOE 11841659

Болт

1шт.

20

VOE 11840988

Крышка

1шт.

21

VOE 11841579

Шайба

1шт.

22

VOE 11841587

Hexagon nut

1шт.

23

VOE 11841049

Крышка

1шт.

24

VOE 973495

Шайба

1шт.

24

VOE 973495

Шайба

1шт.

25

VOE 11841468

Hexagon nut

1шт.

26

VOE 11841005

Прокладка

1шт.

27

VOE 11841991

Пробка (заглушка)

1шт.

28

VOE 11840888

Chain

1шт.

29

VOE 11841790

Anti-seize compound

1шт.

3

VOE 11852805

Звездочка

1шт.

30

VOE 11841792

Grease

1шт.

31

VOE 11840933

Шайба

1шт.

4

VOE 11840887

Chain

1шт.

5

VOE 11841086

Звездочка

1шт.

5A

VOE 11840783

Вставка

1шт.

6

VOE 955922

Шайба пружинная

1шт.

6

VOE 955922

Шайба пружинная

1шт.

7

VOE 13940162

Болт

1шт.

7

VOE 13940162

Болт

1шт.

8

VOE 11841578

Болт

1шт.

9

VOE 11840625

Мост (ось)

1шт.

Выбрано товаров: 39