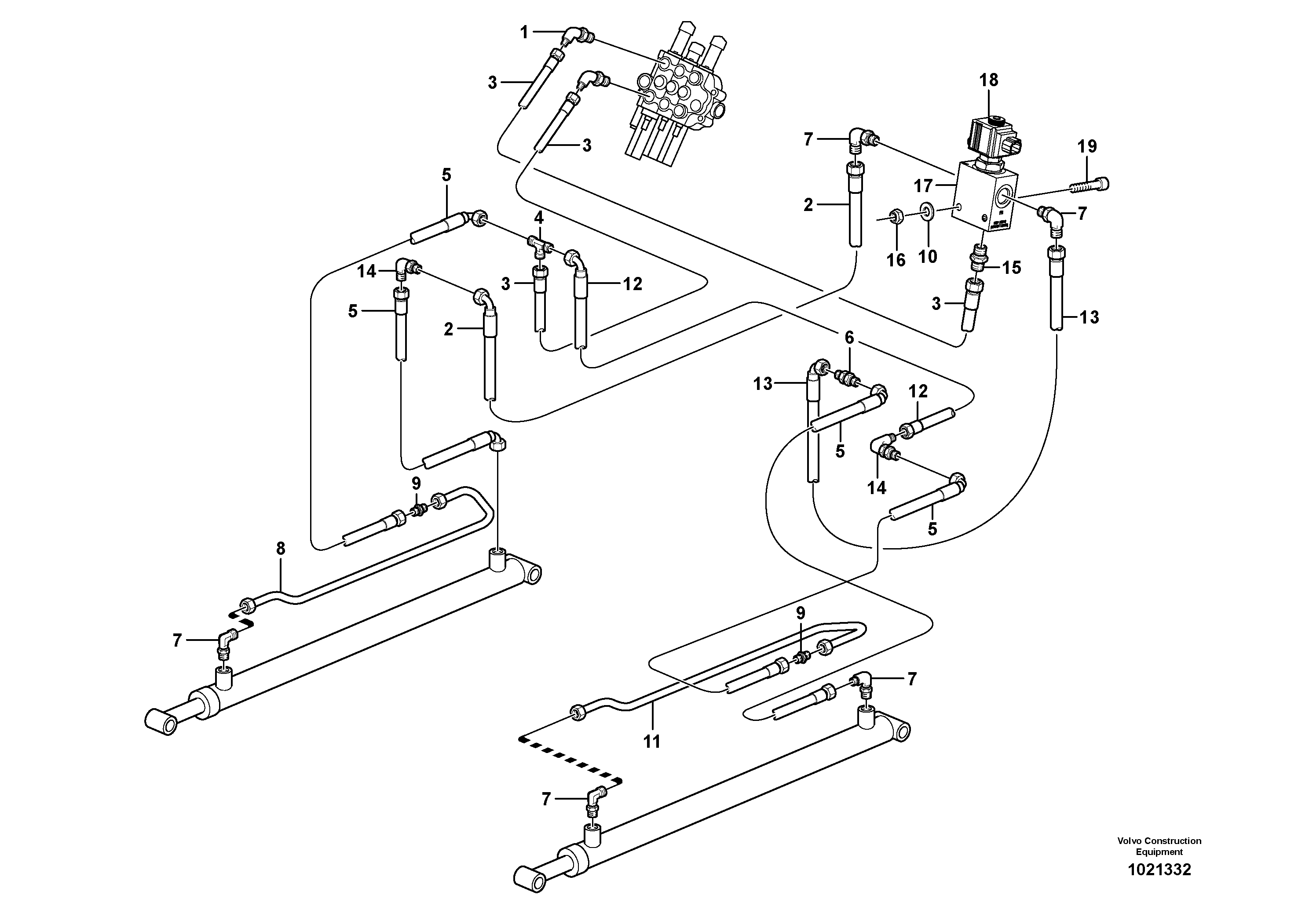
Запчасти Volvo MC70B 60054 Loader arm hydraulic circuit (w/self level valve) MC70B

Схема запчастей Volvo MC70B - 60054 Loader arm hydraulic circuit (w/self level valve) MC70B
FIT
1:1
100%

Артикул

Название

Примечание

Количество

VOE 11714489

Sealing kit

1шт.

1

VOE 11841981

Elbow

1шт.

10

VOE 977526

Шайба

1шт.

11

VOE 11841015

Трубка

1шт.

12

VOE 11841142

Шланг

1шт.

13

VOE 11841176

Шланг

1шт.

14

VOE 4881313

Bulkhead grommet

1шт.

14

VOE 4881313

Bulkhead grommet

1шт.

15

VOE 11841869

Соединитель

1шт.

16

VOE 950353

Lock nut

1шт.

16

VOE 950353

Lock nut

1шт.

17

VOE 11850976

Клапан

1шт.

18

VOE 11714488

Соленоид (электромагнитная катушка)

1шт.

19

VOE 955526

Болт

1шт.

19

VOE 955526

Винт шестигранник

1шт.

2

VOE 11840644

Шланг

1шт.

3

VOE 11840641

Шланг

1шт.

4

VOE 11841997

Tee

1шт.

5

VOE 11840655

Шланг

1шт.

6

VOE 11841857

Bulkhead

1шт.

7

VOE 11841896

Elbow

1шт.

8

VOE 11841013

Трубка

1шт.

9

VOE 11841852

Переходник масляного фильтра

1шт.

Выбрано товаров: 23