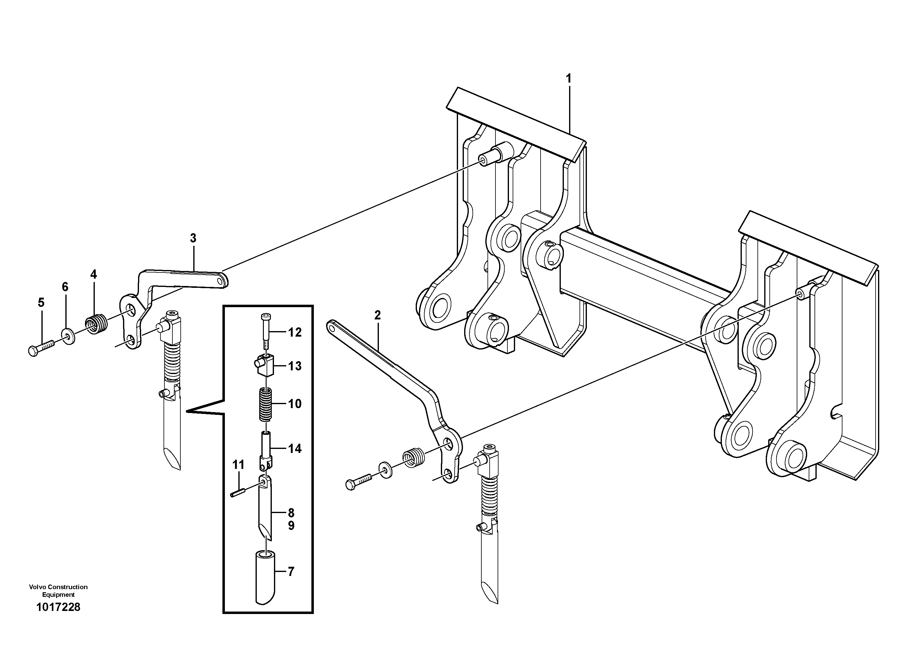
Запчасти Volvo MC70B 58815 Quick attachment MC70B

Схема запчастей Volvo MC70B - 58815 Quick attachment MC70B
FIT
1:1
100%

Артикул

Название

Примечание

Количество

1

VOE 11851729

Quick attachment

1шт.

10

VOE 11841452

Пружина

1шт.

11

VOE 11841640

Spring pin

1шт.

12

VOE 11841669

Болт

1шт.

13

VOE 11841906

Guide

1шт.

14

VOE 11841909

Тяга поворотная

1шт.

2

VOE 11841129

Handle

1шт.

3

VOE 11841131

Handle

1шт.

4

VOE 11841450

Пружина

1шт.

5

VOE 982220

Винт шестигранник

1шт.

6

VOE 13960145

Шайба

1шт.

6

VOE 13960145

Шайба

1шт.

7

VOE 11841787

Фиттинг

1шт.

8

VOE 11841910

Latch

1шт.

9

VOE 11841321

Палец

1шт.

Выбрано товаров: 15