Качественные детали и логистика
Оригинальные и аналоговые запчасти с доставкой по России, Казахстану и Беларуси
©2022 PartSell ООО "Система" ИНН 2463123282 ОГРН 1212400004838
Центральный офис: г. Красноярск, Академика Киренского, д.87, пом.4
Телефон: 8 (800) 777-65-74 Email: zakaz@partsell.ru
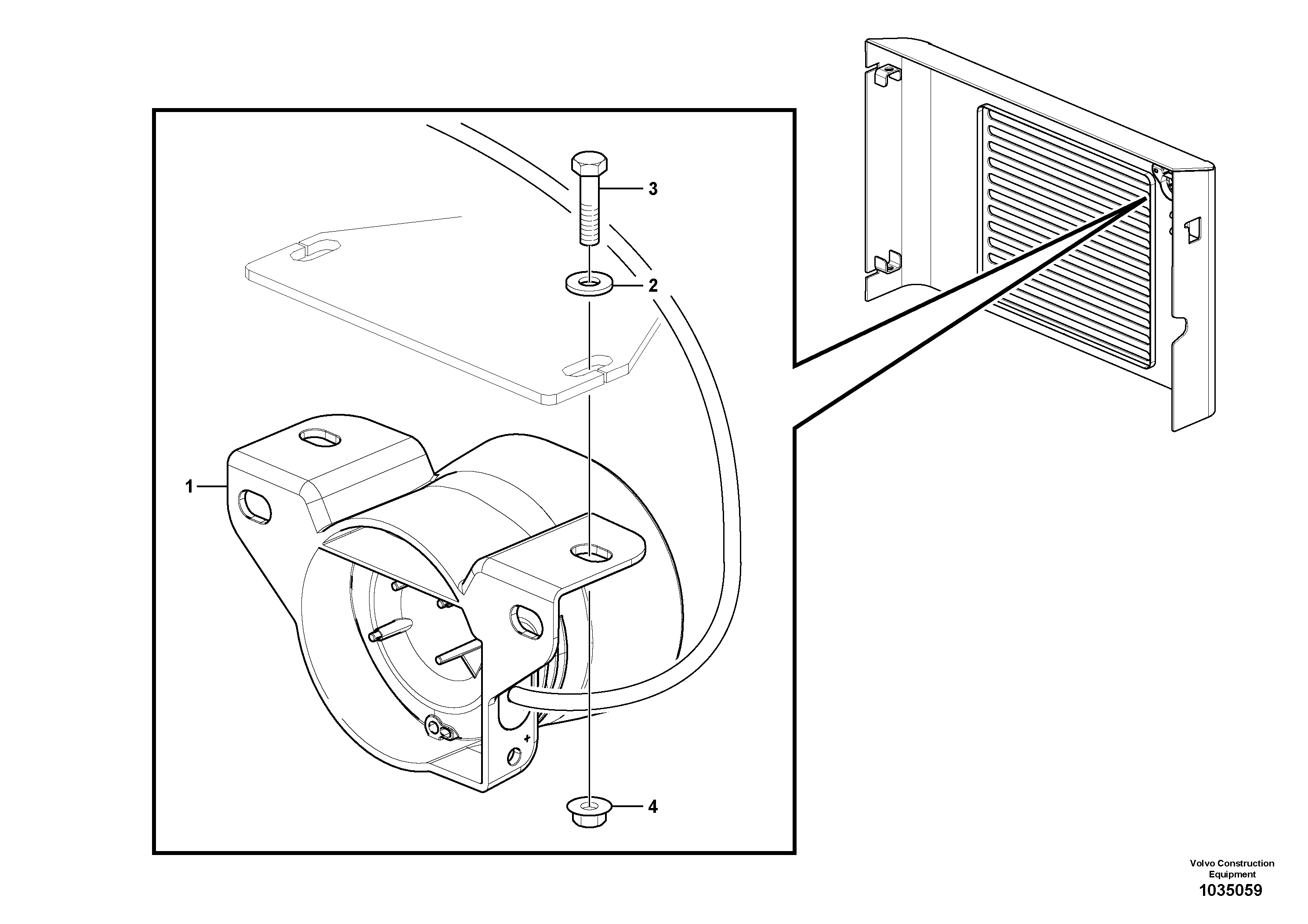
41952 Back-up warning unit
№
Артикул
Название
Примечание
Количество
1
VOE 15409160
Alarm
1шт.
2
VOE 955892
Шайба
3
VOE 946934
Flange screw
4
VOE 949278
Flange lock nut
Гайка
Выбрано товаров: 0