Запчасти Volvo 4200 4200 18889 Flow valve 99393 Tillv.nr 2224-

Схема запчастей Volvo 4200 4200 - 18889 Flow valve 99393 Tillv.nr 2224-
FIT
1:1
100%

Артикул

Название

Примечание

Количество

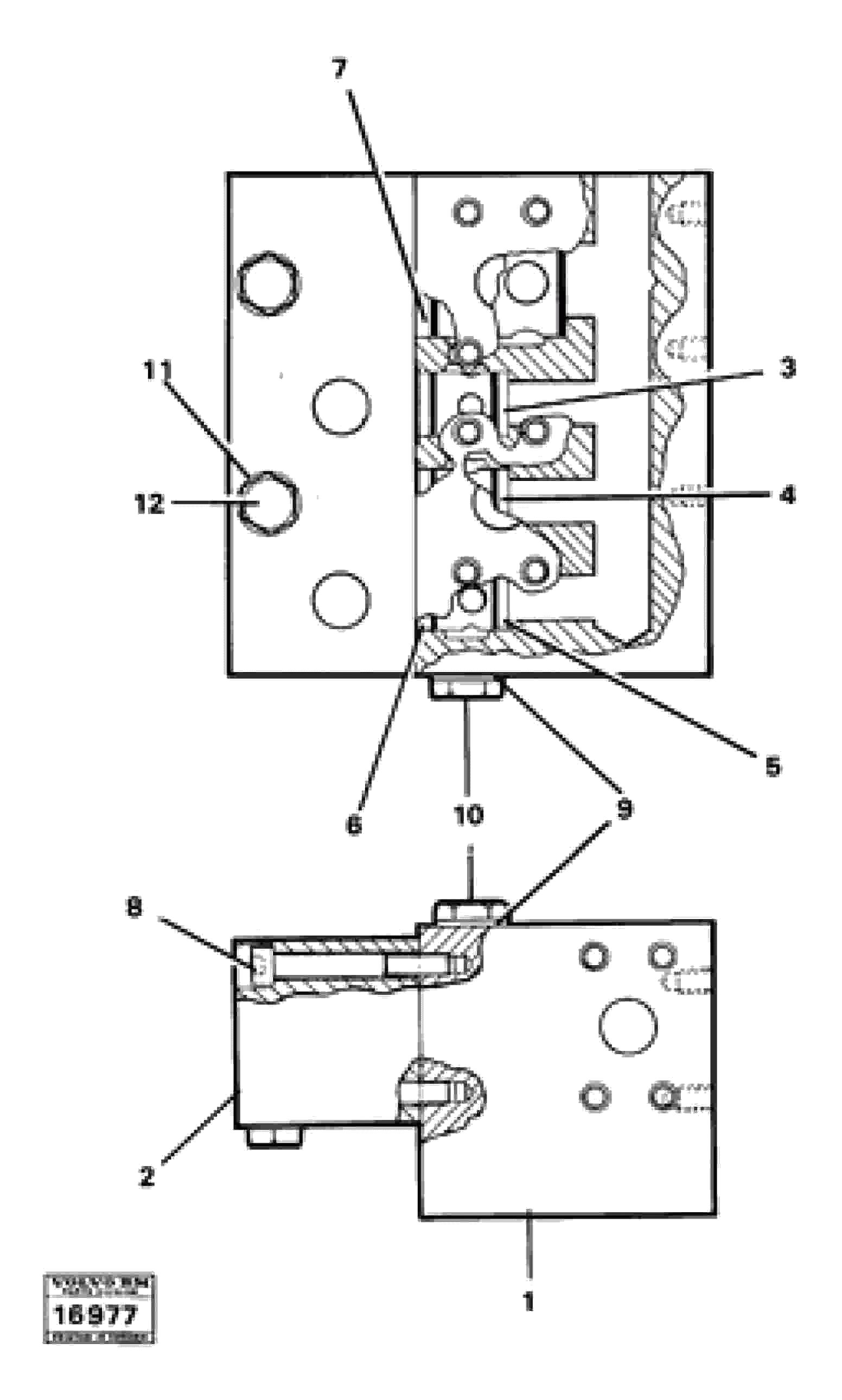
VOE 4932606

Клапан

1шт.

10

VOE 914391

Пробка (заглушка)

1шт.

10

VOE 914391

Пробка (заглушка)

1шт.

11

VOE 14013067

Sealing washer

1шт.

11

VOE 14013067

Sealing washer

1шт.

12

VOE 914390

Пробка (заглушка)

1шт.

12

VOE 914390

Пробка (заглушка)

1шт.

9

VOE 14042936

Sealing washer

1шт.

9

VOE 14042936

Sealing washer

1шт.

Выбрано товаров: 9