Запчасти Volvo 4200B 4200B 97475 4:th function

Схема запчастей Volvo 4200B 4200B - 97475 4:th function
FIT
1:1
100%

Артикул

Название

Примечание

Количество

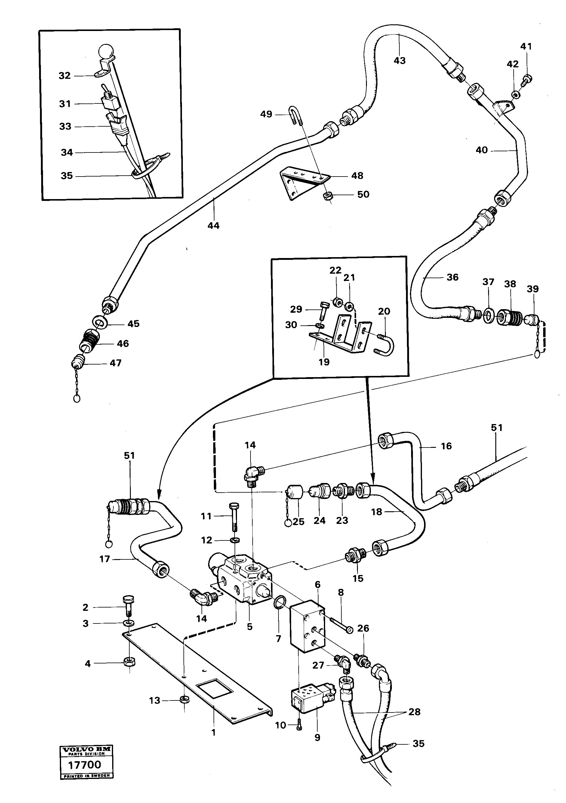
VOE 4947414

Трубка

V

1шт.

VOE 4947406

Трубка

V

1шт.

VOE 4947410

Трубка

V

1шт.

10

VOE 959193

Hex. socket screw

1шт.

10

VOE 959193

Винт шестигранник (торцевой ключ)

1шт.

11

VOE 970960

Винт шестигранник

1шт.

12

VOE 976945

Шайба

1шт.

12

VOE 976945

Шайба

1шт.

13

VOE 971071

Hexagon nut

1шт.

13

VOE 971071

Hexagon nut

1шт.

14

VOE 4821781

Clutch

1шт.

15

VOE 4821833

Nipple

1шт.

15

VOE 4821833

Nipple

1шт.

16

VOE 4947404

Трубка

H

1шт.

17

VOE 4947908

Пластина

H

1шт.

17

VOE 4947908

4947908

H

1шт.

18

VOE 4947412

Трубка

H

1шт.

19

VOE 4928360

Anchorage

1шт.

2

VOE 13970948

Винт шестигранник

1шт.

2

VOE 13970948

Винт шестигранник

1шт.

20

VOE 4739982

Зажим

1шт.

20

VOE 4739982

Зажим

1шт.

21

VOE 976944

Шайба

1шт.

21

VOE 976944

Шайба

1шт.

22

VOE 963106

Lock nut

1шт.

22

VOE 963106

Lock nut

1шт.

23

VOE 4821833

Nipple

1шт.

23

VOE 4821833

Nipple

1шт.

24

VOE 11043022

Nipple

1шт.

24

VOE 11043022

Nipple

1шт.

25

VOE 11147586

Dust cover

1шт.

25

VOE 11147586

Dust cover

1шт.

26

VOE 4881235

4881235

1шт.

27

VOE 4881441

Nipple

1шт.

27

VOE 4881441

Nipple

1шт.

28

VOE 931182

Hose assembly

SEE GROUP 52

1шт.

28

VOE 931182

Hose assembly

SEE GROUP 52

1шт.

29

VOE 13955295

Болт

1шт.

29

VOE 13955295

Болт

1шт.

3

VOE 976945

Шайба

1шт.

3

VOE 976945

Шайба

1шт.

30

VOE 976944

Шайба

1шт.

30

VOE 976944

Шайба

1шт.

31

VOE 4786696

Переключатель

1шт.

32

VOE 4850338

Тарелка клапана

1шт.

33

VOE 945783

Housing Cover

1шт.

35

VOE 4881440

Cable tie

1шт.

35

VOE 4881440

Cable tie

1шт.

36

VOE 928019

Hose assembly

L = 2X625

1шт.

36

VOE 928019

Hose assembly

L = 2X625

1шт.

37

VOE 14013070

Sealing washer

1шт.

37

VOE 14013070

Sealing washer

1шт.

38

VOE 4786201

Snap-on coupling

1шт.

38

VOE 4786201

Snap-on coupling

1шт.

39

VOE 11147585

Dust cover

1шт.

39

VOE 11147585

Dust cover

1шт.

4

VOE 971071

Hexagon nut

1шт.

4

VOE 971071

Hexagon nut

1шт.

40

VOE 4932407

Трубка

1шт.

40

VOE 4932407

Трубка

1шт.

41

VOE 13955294

Болт

1шт.

41

VOE 13955294

Болт

1шт.

42

VOE 13955894

Шайба

1шт.

42

VOE 13955894

Шайба

1шт.

43

VOE 928008

Hose assembly

L = 2X900

1шт.

43

VOE 928008

Hose assembly

L = 2X900

1шт.

44

VOE 4927878

Hydraulic oil pipe

1шт.

44

VOE 4927878

Hydraulic oil pipe

1шт.

45

VOE 14013070

Sealing washer

1шт.

45

VOE 14013070

Sealing washer

1шт.

46

VOE 11043022

Nipple

1шт.

46

VOE 11043022

Nipple

1шт.

47

VOE 11147586

Dust cover

1шт.

47

VOE 11147586

Dust cover

1шт.

48

VOE 4927886

Anchorage

1шт.

48

VOE 4927886

Anchorage

1шт.

49

VOE 4927027

Brace

1шт.

49

VOE 4927027

Brace

1шт.

5

VOE 4881233

Клапан

1шт.

5

VOE 4881233

Hydraulic valve

1шт.

50

VOE 955782

Hexagon nut

1шт.

50

VOE 955782

Hexagon nut

1шт.

7

VOE 942986

Кольцо уплотнительное (О-кольцо)

1шт.

7

VOE 942986

Кольцо уплотнительное (О-кольцо)

1шт.

8

VOE 956587

Болт

1шт.

9

VOE 4787242

Встроенный клапан в сборе

1шт.

9

VOE 4787242

Клапан

1шт.

Выбрано товаров: 87