Запчасти Volvo 4200B 4200B 97811 Controls

Схема запчастей Volvo 4200B 4200B - 97811 Controls
FIT
1:1
100%

Артикул

Название

Примечание

Количество

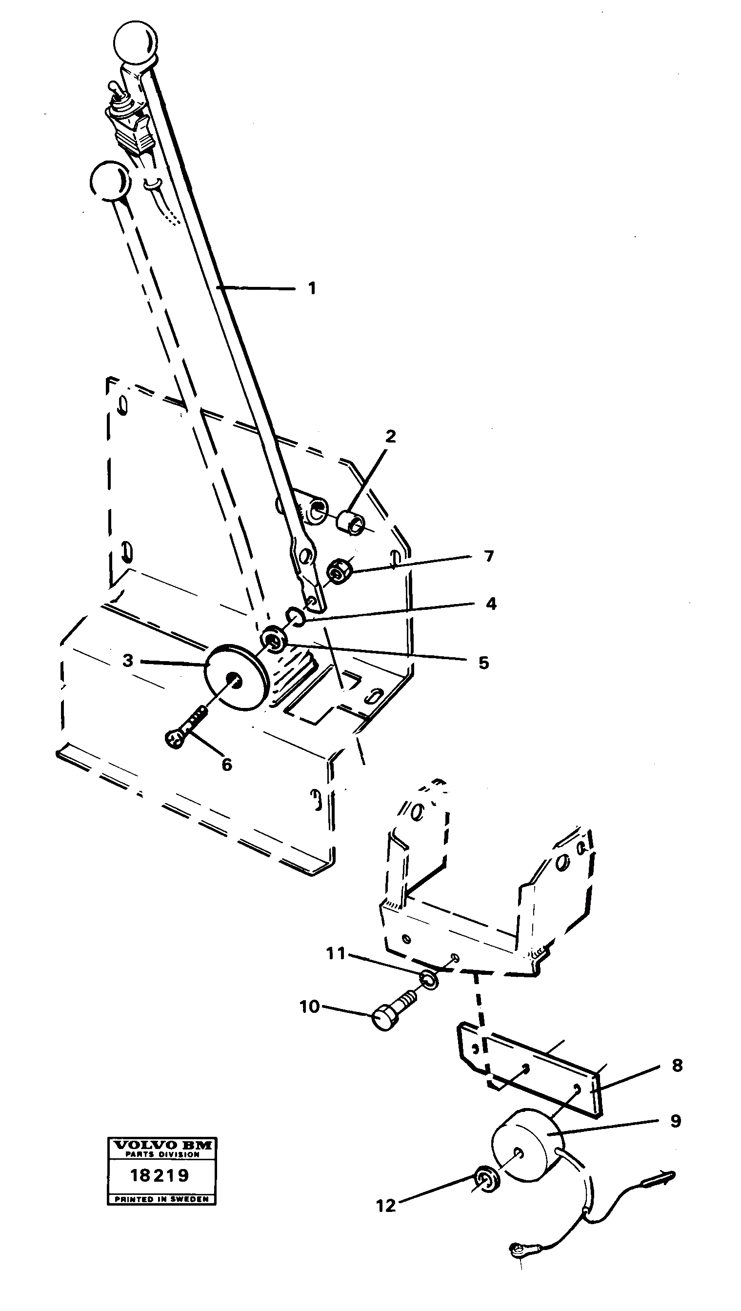
10

VOE 13955294

Болт

1шт.

10

VOE 13955294

Болт

1шт.

11

VOE 13955894

Шайба

1шт.

11

VOE 13955894

Шайба

1шт.

12

VOE 13941907

Шайба пружинная

1шт.

12

VOE 13941907

Шайба

1шт.

2

VOE 943120

Втулка

1шт.

3

VOE 4824294

Mgn Armature

1шт.

4

VOE 13955971

Кольцо уплотнительное (О-кольцо)

1шт.

4

VOE 13955971

Кольцо уплотнительное (О-кольцо)

1шт.

5

VOE 13960138

Шайба

1шт.

5

VOE 13960138

Шайба

1шт.

6

VOE 956190

Cross recessed sunk screw

1шт.

6

VOE 956190

Cross recessed sunk screw

1шт.

7

VOE 13963104

Lock nut

1шт.

7

VOE 13963104

Lock nut

1шт.

9

VOE 4880355

Соленоид (электромагнитный клапан)

1шт.

9

VOE 4880355

Соленоид (электромагнитный клапан)

1шт.

Выбрано товаров: 18