Запчасти Volvo 4300 4300 24426 Fuel tank prod no 33100, 33105

Схема запчастей Volvo 4300 4300 - 24426 Fuel tank prod no 33100, 33105
FIT
1:1
100%

Артикул

Название

Примечание

Количество

VOE 421753

Filler cap

1шт.

VOE 421753

Filler cap

1шт.

VOE 4928985

Cap

SER NO 1693-

1шт.

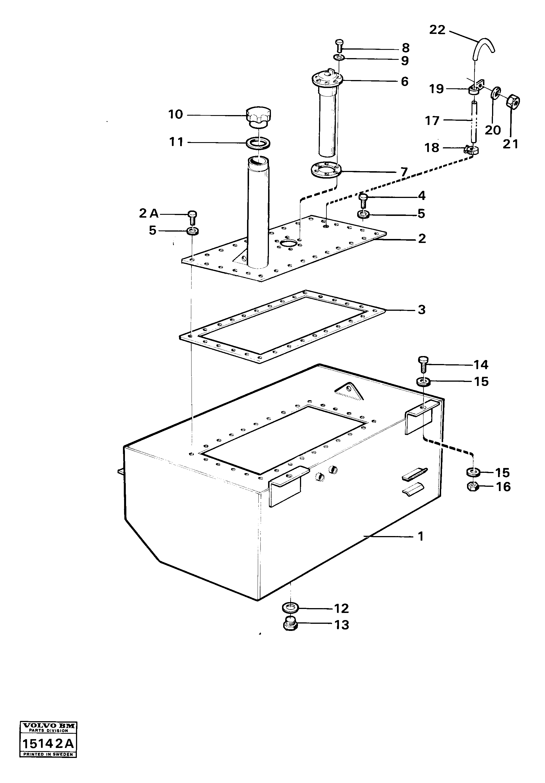
1

VOE 4928990

Топливный бак (бензобак)

1шт.

10

VOE 739846

Cap

SER NO -1692

1шт.

10

VOE 739846

Крышка

SER NO -1692

1шт.

11

VOE 1275379

Прокладка

1шт.

11

VOE 1275379

Прокладка

1шт.

12

VOE 957184

Прокладка

1шт.

12

VOE 957184

Plane Gasket

1шт.

13

VOE 914392

Пробка (заглушка)

1шт.

13

VOE 914392

Пробка (заглушка)

1шт.

14

VOE 13970973

Винт шестигранник

1шт.

14

VOE 13970973

Винт шестигранник

1шт.

15

VOE 13960145

Шайба

1шт.

15

VOE 13960145

Шайба

1шт.

16

VOE 13971090

Lock nut

1шт.

16

VOE 13971090

Lock nut

1шт.

17

VOE 941507

Шланг

SER NO 1693-

1шт.

17

VOE 941507

Шланг

SER NO 1693-

1шт.

18

VOE 943470

Hose Clamp

SER NO 1693-

1шт.

18

VOE 943470

Hose Clamp

SER NO 1693-

1шт.

19

VOE 952629

Зажим

SER NO 1693-

1шт.

19

VOE 952629

Зажим

SER NO 1693-

1шт.

2

VOE 4926965

Cap

TILLV.NR-1692

1шт.

20

VOE 13941906

Шайба

SER NO 1693-

1шт.

20

VOE 13941906

Шайба

SER NO 1693-

1шт.

21

VOE 13955781

Гайка

SER NO 1693-

1шт.

21

VOE 13955781

Гайка

SER NO 1693-

1шт.

22

VOE 4709589

Air Vent Pipe

SER NO 1901-

1шт.

22

VOE 4709589

Air Vent Pipe

SER NO 1901-

1шт.

2A

VOE 13955295

Болт

1шт.

2A

VOE 13955295

Болт

1шт.

3

VOE 4929460

Прокладка

1шт.

3

VOE 4929460

Прокладка

1шт.

4

VOE 13946173

Flange screw

1шт.

4

VOE 13946173

Болт

1шт.

5

VOE 4929461

Шайба

1шт.

5

VOE 4929461

Шайба

1шт.

6

VOE 4740537

Tank Unit

1шт.

6

VOE 4740537

Tank Unit

1шт.

7

VOE 4708245

Прокладка

1шт.

7

VOE 4708245

Прокладка

1шт.

8

VOE 956094

X Rec Screw

1шт.

8

VOE 956094

X Rec Screw

1шт.

9

VOE 957170

Прокладка

1шт.

9

VOE 957170

Прокладка

1шт.

Выбрано товаров: 47