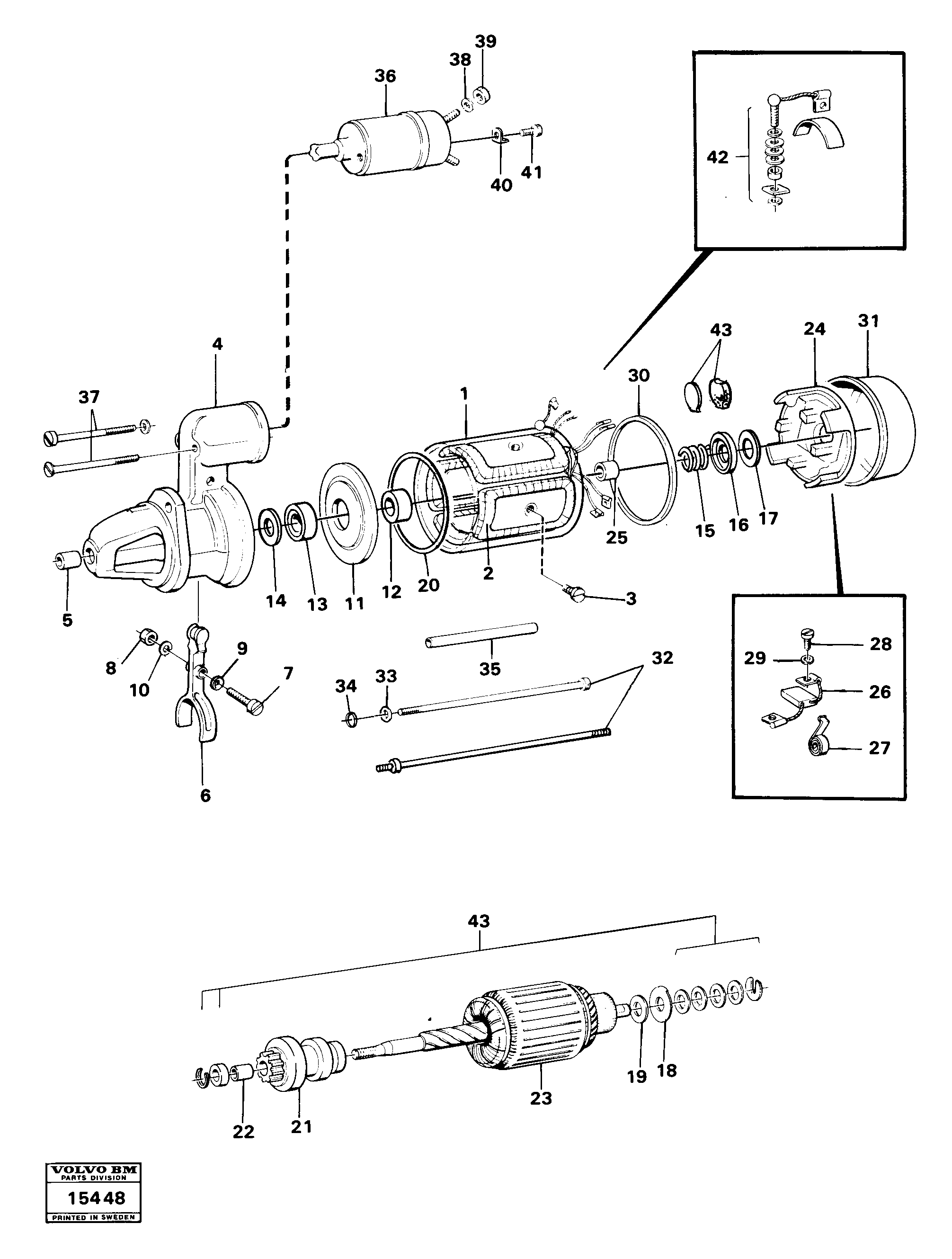
Запчасти Volvo 4300 4300 32288 Starter motor mo-51277

Схема запчастей Volvo 4300 4300 - 32288 Starter motor mo-51277
FIT
1:1
100%

Артикул

Название

Примечание

Количество

VOE 6648163

Bellows

1шт.

VOE 4785541

Starter Motor

ERS AV 4880691

1шт.

10

VOE 947620

Прокладка

1шт.

10

VOE 947620

Прокладка

1шт.

11

VOE 6645044

Подшипник промежуточный

1шт.

12

VOE 7241276

Втулка

1шт.

13

VOE 6640123

Прокладка

1шт.

14

VOE 6644950

Шайба

1шт.

15

VOE 6645046

Пружина

1шт.

16

VOE 6643402

Brake Disc

1шт.

17

VOE 7048067

Шайба

1шт.

17

VOE 7048067

Шайба

1шт.

18

VOE 6646794

Шайба

1шт.

19

VOE 244216

Шайба

1шт.

2

VOE 6648084

Field winding

SPOLE 1-4/COIL 1-4

1шт.

20

VOE 7241876

Кольцо уплотнительное

1шт.

21

VOE 6210464

Drive Gear

1шт.

22

VOE 244217

Втулка

1шт.

23

VOE 6645048

Anchor

1шт.

24

VOE 6212774

Commutator Brg

1шт.

25

VOE 7241281

Втулка

1шт.

26

VOE 6644951

Brush set

1шт.

27

VOE 241283

Пружина

1шт.

28

VOE 244218

Болт

1шт.

28

VOE 244218

Болт

1шт.

29

VOE 941905

Шайба пружинная

1шт.

29

VOE 941905

Шайба пружинная

1шт.

3

VOE 969537

Винт шестигранник (торцевой ключ)

1шт.

3

VOE 969537

Болт

1шт.

30

VOE 11992541

Прокладка

1шт.

31

VOE 7241284

Casing

1шт.

32

VOE 6210649

Болт

1шт.

33

VOE 955892

Шайба

1шт.

33

VOE 955892

Шайба

1шт.

34

VOE 7241874

Кольцо уплотнительное

1шт.

35

VOE 870845

Insulation

1шт.

36

VOE 11992387

Magnet

1шт.

37

VOE 6212461

Болт

1шт.

38

VOE 941908

Шайба пружинная

1шт.

38

VOE 941908

Шайба пружинная

1шт.

39

VOE 955791

Hexagon nut

1шт.

39

VOE 955791

Hexagon nut

1шт.

4

VOE 6645039

Bearing shield

1шт.

40

VOE 858689

858689

1шт.

41

VOE 956058

Cross recessed screw

1шт.

41

VOE 956058

Болт

1шт.

42

VOE 6645051

Connecting kit

1шт.

43

VOE 829707

Ремкомплект

1шт.

43

VOE 829707

Ремкомплект

1шт.

5

VOE 6645040

Втулка

1шт.

6

VOE 6645020

Рукоять

1шт.

6

VOE 6645020

Рукоять

1шт.

7

VOE 11700731

Болт

1шт.

8

VOE 6645042

Гайка

1шт.

9

VOE 6645043

Прокладка

1шт.

Выбрано товаров: 55