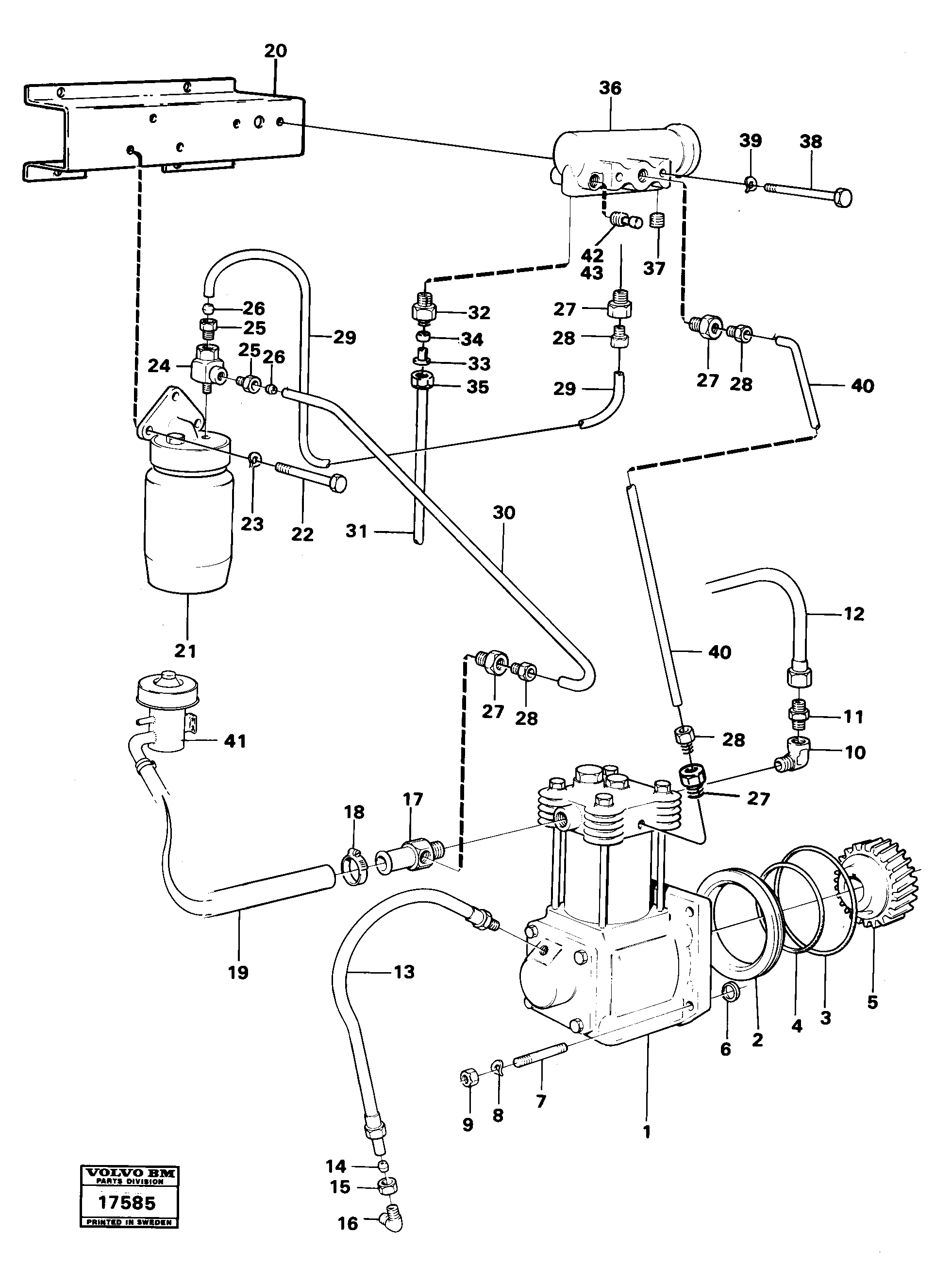
Запчасти Volvo 4300B 4300B 72485 Air-compressor with fitting parts

Схема запчастей Volvo 4300B 4300B - 72485 Air-compressor with fitting parts
FIT
1:1
100%

Артикул

Название

Примечание

Количество

VOE 13941907

Шайба пружинная

1шт.

VOE 13941907

Шайба

1шт.

VOE 953243

Шпилька

5/16 UNC

1шт.

VOE 953243

Шпилька

5/16 UNC

1шт.

VOE 955826

Гайка

1шт.

VOE 955826

Hexagon nut

1шт.

1

VOE 787759

Compressor

1шт.

10

VOE 787959

Elbow nipple

1шт.

11

VOE 941750

Nipple

1шт.

13

VOE 786804

Low pressure hose

1шт.

14

VOE 954364

Ferrule

1шт.

14

VOE 954364

Ferrule

1шт.

15

VOE 954356

Fitting nut

1шт.

15

VOE 954356

Fitting nut

1шт.

16

VOE 954385

Elbow nipple

1шт.

16

VOE 954385

Elbow nipple

1шт.

17

VOE 787932

Nipple

1шт.

18

VOE 13943474

Hose clamp

1шт.

19

VOE 192358

Rubber hose

L = 575

1шт.

2

VOE 787760

Guide lug

1шт.

2

VOE 787760

Guide lug

1шт.

20

VOE 4948138

4948138

1шт.

21

VOE 335404

Reservoir

1шт.

21

VOE 335404

Reservoir

1шт.

22

VOE 13955271

Болт

1шт.

22

VOE 13955271

Болт

1шт.

23

VOE 13941906

Шайба

1шт.

23

VOE 13941906

Шайба

1шт.

24

VOE 4785836

Non-return valve

1шт.

25

VOE 4786206

4786206

1шт.

26

VOE 954363

Olive

1шт.

26

VOE 954363

Olive

1шт.

27

VOE 326643

326643

1шт.

28

VOE 4786206

4786206

1шт.

29

VOE 4947701

Трубка

1шт.

3

VOE 925259

Кольцо уплотнительное (О-кольцо)

1шт.

3

VOE 925259

Кольцо уплотнительное (О-кольцо)

1шт.

31

VOE 13945460

Plastic pipe

L = 1270

1шт.

31

VOE 13945460

Plastic pipe

L = 1270

1шт.

32

VOE 13954378

Nipple

1шт.

32

VOE 13954378

Nipple

1шт.

33

VOE 944717

Втулка (распорная)

1шт.

33

VOE 944717

Втулка (распорная)

1шт.

34

VOE 954364

Ferrule

1шт.

34

VOE 954364

Ferrule

1шт.

35

VOE 954356

Fitting nut

1шт.

35

VOE 954356

Fitting nut

1шт.

36

VOE 1503492

Regulator

1шт.

37

VOE 7016325

Пробка (заглушка)

1шт.

37

VOE 7016325

Пробка (заглушка)

1шт.

38

VOE 955282

Винт шестигранник

1шт.

38

VOE 955282

Винт шестигранник

1шт.

39

VOE 13941906

Шайба

1шт.

39

VOE 13941906

Шайба

1шт.

4

VOE 925257

Кольцо уплотнительное (О-кольцо)

1шт.

4

VOE 925257

Кольцо уплотнительное (О-кольцо)

1шт.

42

VOE 1505058

Air supply nipple

1шт.

42

VOE 1505058

Air supply nipple

1шт.

43

VOE 6854661

Cap

1шт.

43

VOE 6854661

Cap

1шт.

5

VOE 787770

Gear

1шт.

5

VOE 787770

Gear

1шт.

6

VOE 787973

Кольцо уплотнительное

1шт.

6

VOE 787973

Кольцо уплотнительное

1шт.

7

VOE 953263

Шпилька

3/8 UNC

1шт.

7

VOE 953263

Шпилька

3/8 UNC

1шт.

8

VOE 13942336

Шайба пружинная

1шт.

8

VOE 13942336

Шайба пружинная

1шт.

9

VOE 13955827

Гайка

1шт.

9

VOE 13955827

Гайка

1шт.

Выбрано товаров: 70